Онлайн библиотека PLAM.RU


  • Водопровод
  • Материалы, необходимые при прокладке и ремонте водопровода
  • Прокладка водопровода
  • Установка водонагревателей
  • Водяное отопление
  • Монтаж системы водяного отопления
  • Канализация
  • Выбор условий и схемы прокладки канализации
  • Организация водоотведения
  • Расчет сетей и сооружений
  • Материалы и инструменты, применяемые при монтаже и ремонте канализации
  • Виды сантехнического оборудования
  • Внутренняя канализационная сеть в дачном доме
  • Особенности устройства канализации на дачном участке
  • Ремонтные и профилактические работы в канализационной сети
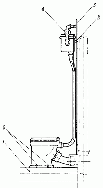
  • Устройство туалета на дачном участке
  • Водоснабжение на дачном участке
  • Источники водоснабжения
  • Водоемы
  • Колодцы
  • Шахтные колодцы
  • Металлический водопровод
  • Водопровод из резиновых шлангов
  • Меры профилактики для нормальной работы системы полива
  • 3. Водоснабжение и отопление

    Для благоустройства дачного домика, особенно если он рассчитан на круглогодичное проживание, может понадобиться создание систем водопровода и канализации.

    Водопровод

    Провести воду в дачный домик достаточно просто, нужно только запастись необходимыми материалами и точно рассчитать объем работ.

    Материалы, необходимые при прокладке и ремонте водопровода

    При выполнении работ по монтажу и ремонту водопровода используются различные материалы. Это листовая резина, резинотехнические изделия, уплотнители, утеплители и т. п. В этой главе будет рассказано об этих и некоторых других материалах более подробно.

    Для изготовления прокладок и уплотнителей необходима листовая резина. Промышленностью выпускаются несколько ее видов: кислотощелочестойкая, морозостойкая, пищевая, маслобензостойкая, теплостойкая.

    Применение листовой резины возможно при температуре от –30 °С до 50 °С.

    Резинотехнические изделия – такие, как прокладки, манжеты, сальники, изготовленные промышленным способом, – хранятся при температуре от 0 до 25 °С. При этом их нужно предохранять от попадания прямых солнечных лучей, бензина и различных технических масел.

    Для более герметичного соединения труб применяются уплотнители, в качестве которых используются следующие материалы:

    – лента ФУМ (фторлон 4Д). Применяется как уплотнитель для резьбовых соединений, а также для набивки сальников. Устойчива к воздействию кислот и щелочей, способна выдерживать высокие температуры;

    – плетеная хлопчатобумажная набивка ХБС. Используется для набивки сальников;

    – льняная прядь. Применяется для уплотнения резьбовых соединений;

    – паронит. Используется для герметизации раструбных, резьбовых, фланцевых соединений.

    Машинное масло и глицерин применяют в ремонтных и профилактических работах. Первое используют при нарезке резьбы, в качестве охлаждающей жидкости при резке труб, а также для смазки трубы под ролик трубогиба. Второй применяют при изготовлении раструбов и буртов, используемых при прокладке трубопроводной сети, а также при сгибании ПВП– и ПВХ-труб, которые перед этим разогревают в глицериновой ванне.

    В качестве утеплителей труб применяют материалы:

    – стекловата и минеральная вата. Это неорганические утеплители, они не поддаются гниению и горению. Хранятся в рулонах или матах. Находят применение при теплоизоляции наружных водопроводов;

    – маты из усовершенствованной стекловаты. Этот эластичный материал легче обычной минеральной ваты из-за отсутствия в нем связующих веществ. Используется при теплоизоляции труб малого диаметра;

    – короба из усовершенствованной стекловаты. Это длинноволоконный теплоизолятор, волокна которого размещены поперек. Применяется для теплоизоляции мелко заглубленных или наружных трубопроводов;

    – стекловолоконный лист с покрытием из минеральной ваты. Обладает упругостью и растяжимостью в продольном направлении. Используется для теплоизоляции, а также в качестве наружного покрытия. Подходит для утепления расширительных баков и накопительных емкостей;

    – универсальный пенофольгированный утеплитель. Состоит из слоя полиэтиленовой пены, которая проложена между двумя листами 99%-ной алюминиевой фольги. Этот материал легко режется, не коробится, практически не впитывает влагу, легко огибает любые выступы и утолщения. Также его достоинствами являются безопасность для человека (гипоаллергенность), способность отражать тепло и изнутри, и снаружи. Подходит для теплоизоляции наружных водопроводов, а также баков, накопительных емкостей и многого другого.

    Водоразборная и запорная арматура

    К водоразборной и запорной арматуре, без которой невозможна работа водопроводной сети, относятся прежде всего краны, смесители, вентили.

    Краны используются как для запирания, так и для отпирания подающей воду трубы. Когда кран закрыт, он должен эффективно сдерживать давление воды, а когда открыт – регулировать ее расход.

    Краны бывают двух видов: настольные и настенные (рис. 79). Настольные применяют в закрытых помещениях, а настенные – в любом месте.

    Рис. 79. Виды кранов: а – настенный; б – настольный


    Корпус крана изготавливляется из стали или латуни и имеет носик-излив и резьбовый патрубок. Он предназначен для того чтобы поворачивать поток воды под определенным углом и проводить ее через окно с плоской «ступенькой» по окружности (седло). Именно к нему происходит прижимание прокладки клапана, в результате чего перекрывается вода.

    В корпус ввинчена головка крана, которая и переводит вращение маховика в возвратно-поступательное движение. Внутри головки имеется резьба, при опоре на которую происходит движение штока с клапаном.

    Краны с керамическими дисками удобны и надежны. При их эксплуатации полностью исключается течь.

    По своему внешнему виду они практически не отличаются от кранов с прокладками и потому являются взаимозаменяемыми. Но при этом имеются и некоторые отличия. У кранов с керамическими дисками головка более совершенна (отсутствуют вертикальные перемещения, а опора осуществляется с помощью совмещения просветов в двух дисках), диски притерты друг к другу (скользит только один из них, другой же остается неподвижным). При повороте маховика происходит вращение одного из дисков. Когда их отверстия совпадают, начинает поступать вода.

    Преимуществом крана с керамическими дисками по сравнению с кранами, имеющими прокладку и клапан, является то, что рабочий ход его маховика намного короче (повернули маховик на 90° – и вода полилась с максимальным напором, повернули еще на 90° – и кран закрыт).

    Вызывают интерес вращающиеся краны с насадками. Их применяют в основном при наличии многосекционной мойки. Новинкой являются краны с панелью управления. С помощью кнопки предохранителя можно избежать повышения температуры воды, если это не требуется.

    Смеситель представляет собой устройство, в корпусе которого объединены два крана для горячей и холодной воды. Смесители могут быть различными по конструкции (рис. 80), однако основное их предназначение – подача воды нужной температуры. Корпус смесителя состоит из двух патрубков для подводки горячей и холодной воды, двух гнезд для головок, а также имеет носик-излив.

    Рис. 80. Некоторые конструкции смесителей: а – смеситель для кухни; б – смеситель для кухни с душевой сеткой; в – смеситель для умывальника с управляемым выпуском


    Существует два типа смесителей, которые различаются по способу подключения. У настенных смесителей горизонтальная подводка воды, а у настольных патрубки располагаются вертикально под полочкой раковины.

    Головки в корпусе смесителя тоже могут размещаться по-разному. К примеру, в настольном смесителе «Елочка» головки располагаются под определенным углом, но в большинстве смесителей они установлены горизонтально.

    В смесителе клапан запирает лишь одно седло, поэтому ремонт одной из головок рассматривают как ремонт отдельного узла.

    Крепление носика осуществлено с помощью разжимного кольца и накидной гайки. Чтобы вода не просачивалась, используют сальники или изолирующие кольца.

    Для соединения с подводящими магистралями смесителя с двумя патрубками требуются специальные фитинги на подводке. В усовершенствованных смесителях имеются системы контроля потока воды и ее температуры, аэраторы, а также клапаны, с помощью которых можно подключить посудомоечную или стиральную машины. Есть конструкции, в которых предусмотрено одновременное подключение обеих машин.

    Вентили используются для перекрытия воды в трубах.

    В многоэтажных зданиях вентили могут быть смонтированы на трубах в различных местах, например в туалете над смывным бачком, в ванной комнате у пола, на боковых стенках туалета и в других местах. На трубах с горячей и холодной водой должны находиться отдельные вентили. Контрольный вентиль обычно располагается на самом вводе или на ответвлении от стояка.

    В любой квартире у каждого санитарного прибора должен находиться специальный вентиль, чтобы была возможность перекрыть поступление воды, если возникнет неисправность и надо будет срочно производить ремонт. Вентили по принципу действия и устройству сходны с кранами (рис. 81). Так же как и у кранов, у вентилей имеется окно во внутренней перегородке корпуса для прохождения воды, клапан с прокладкой и шток с возвратно-поступательным ходом, расположенный в головке корпуса.

    Рис. 81. Устройство вентиля: 1 – маховик; 2 – втулка; 3 – набивка сальника; 4 – корпус головки; 5 – резьба штока; 6 – изоляция; 7 – клапан с прокладкой


    Но элементы конструкции вентиля должны быть более надежны по сравнению с краном, так как в рабочем состоянии вентиль всегда открыт. Колоссальной нагрузке подвергается контрольный вентиль на вводе.

    Материалами для изготовления вентилей служат латунь и ковкий чугун. Если в квартире установлены чугунные вентили, желательно иметь про запас новую головку корпуса в сборе со штоком, так как со временем из-за ржавчины стальной шток может срастись с чугунной головкой корпуса. Предпочтение лучше отдавать чугунным вентилям с латунными штоками, так как они более долговечны.

    При покупке нового вентиля следует обратить особое внимание на конструкцию клапана. Он должен быть хорошо заметен в одной из сторон подсоединения труб.

    Также нужно убедиться в том, что на клапане имеется прокладка, закрепленная гайкой.

    На стороне клапана, примыкающей к седлу, может быть ровная поверхность. Для установки в домашних условиях такой вентиль не подходит. Он будет плохо сдерживать воду, так как считается паровым.

    Обычно вентиль находится в положении «открыто». За-крывают его только в том случае, если следует провести ремонт кранов, труб или сантехнических приборов.

    Арматура играет чрезвычайно важную роль и, естественно, должна находиться в рабочем состоянии. Если краны и смесители всегда на виду и находятся в постоянном пользовании, а, следовательно, чаще нуждаются в починке, то о вентилях вспоминают только в тех случаях, когда необходимо перекрыть воду для проведения текущего ремонта.

    Виды труб

    Правильный выбор труб во многом влияет на надежность работы трубопровода и позволяет значительно увеличить срок его службы.

    Трубы должны быть долговечными, устойчивыми к воздействию грунта, подземных вод и блуждающих токов, выдерживать внутреннее давление воды, иметь гладкую внутреннюю поверхность и водонепроницаемые стенки, а также, что немаловажно, доступную стоимость. Выпускаемые современной промышленностью трубы в большей или меньшей степени соответствуют предъявляемым к ним требованиям. В этой главе речь пойдет о существующих в настоящее время видах труб, а также об их основных характеристиках.

    Трубы различаются по материалам, из которых они изготовлены.

    Выбор труб зависит, во-первых, от их назначения, во-вторых, от способа их прокладки.

    Стальные трубы чаще всего применяют для систем водоснабжения. При выборе таких труб учитывают широкий диапазон их диаметров, марок стали, толщины стенок и т. д.

    Стальные трубы могут быть как бесшовными, так и сварными. Первые более надежны, однако они и стоят дороже вторых. Бесшовные стальные трубы обычно применяют в том случае, если невозможно использование сварных труб. Сварные трубы различаются по химическому составу и механическим свойствам, поскольку изготовляются из разных видов стали.

    Трубы данного вида отличаются достаточно высокой прочностью и пластичностью. Они выдерживают большое внутреннее давление, а также обладают значительно меньшим, по сравнению с чугунными, весом. К недостаткам этих труб можно отнести их подверженность коррозии и сравнительно небольшой срок службы.

    Стальные трубы могут быть как с антикоррозийным покрытием, так и без него. В качестве покрытия используется цинк, который напыляют электролитическим способом. Оцинкованные трубы не нуждаются в покрытии краской и дополнительной грунтовке. Защищать от ржавчины следует только те участки труб, на которых нарезана резьба.

    Стальные оцинкованные и неоцинкованные трубы имеют различную длину. Они могут быть с резьбой на одном или обоих концах или без нее.

    Основной способ соединения стальных труб – сварка. Поэтому обязательно надо учитывать их свариваемость (с увеличением содержания углерода в трубах она ухудшается).

    Асбестоцементные трубы производятся из смеси асбестоцементного волокна и портландцемента. Трубы этого вида имеют несомненные преимущества: малую массу, небольшую теплопроводность, стойкость к коррозии, легко поддаются механической обработке. Даже при длительной эксплуатации они сохраняют гладкую внутреннюю поверхность.

    К их недостаткам можно отнести хрупкость, поэтому при монтаже асбестоцементных труб следует соблюдать осторожность. При ударах и транспортировке в трубах могут появиться трещины. Внешняя поверхность таких труб подвержена коррозии, и этот факт тоже надо учитывать, устраивая противокоррозионную защиту.

    Асбестоцементные трубы укладывают в грунт, исключающий просадку, чтобы предотвратить изгиб, в результате которого нормальная работа трубопровода будет нарушена. При выборе асбестоцементных труб особое внимание обращают на торцы. Расслоение материала и обломы недопустимы.

    Чугунные трубы выпускают нескольких типов. Главным недостатком труб из серого чугуна является то, что они плохо сопротивляются динамическим нагрузкам. Трубы из ковкого чугуна находят более широкое применение. Они выдерживают большие нагрузки и обладают хорошими пластическими свойствами.

    В идеале стенки чугунных труб не должны иметь свищей, швов и шлаковых включений. На изломе материал должен быть однородным, плотным, мелкозернистым. Трещины и другие скрытые изъяны чугунных труб можно обнаружить простукиванием.

    У чугунных труб имеются недостатки. К ним относятся: большая масса, значительный расход металла на 1 м длины трубопровода (если сравнивать со стальными трубами), а также потеря прочности в солончаковых почвах.

    Учитывая свойства чугунных труб, не стоит применять их в районах со слабыми грунтами и в сейсмически опасных зонах. В целях защиты от коррозии чугунные трубы внутри и снаружи необходимо покрывать расплавленным нефтяным битумом или слоем забеленного чугуна высокой прочности. Помимо антикоррозийных свойств, покрытие делает внутреннюю поверхность труб более гладкой.

    Пластмассовые трубы обладают множеством достоинств, выгодно отличающих их от других. Это устойчивость к коррозии, морозостойкость, сохранение пластичности при пониженной температуре (если вода в них замерзает, трубы просто расширяются, а после оттаивания жидкости – сужаются), низкая теплопроводность, хорошая пропускная способность, малый вес, простота обработки и сварки. Трубы из пластмассы – прекрасные диэлектрики. Единственным недостатком таких труб является их невысокая прочность.

    Пластмассовые трубопроводы подходят для прокладывания, в сейсмически опасных зонах, в болотистой и гористой местности.

    При изготовлении пластмассовых труб используются следующие материалы: полипропилен, поливинилхлорид, полиэтилен и ряд других.

    Поливинилхлорид и полиэтилен часто используют в домашних условиях в связи с тем, что они легко поддаются сварке. Трубы из полиэтилена рекомендуется использовать при низких температурах воздуха.

    Чтобы замедлить старение и износ пластмассовых труб, их надо защищать от попадания прямых солнечных лучей.

    Пластмассовые трубы не должны иметь вздутий и трещин. Их поверхность должна быть гладкой, торцы – зачищенными от заусенцев и строго перпендикулярными к оси. Поэтому при покупке таких труб надо быть внимательным.

    Металлополимерные трубы были разработаны относительно недавно и имеют много положительных свойств. Они устойчивы к коррозии, химически нейтральны, в них не накапливаются отложения. К тому же они легко гнутся вручную и без труда огибают даже выступы стен. Имея столь фантастическую гибкость, эти трубы не теряют своей прочности. Также к несомненным достоинствам таких труб можно отнести и долгий срок их службы – 50 лет и более.

    При монтаже металлополимерных труб не требуется точная подгонка размеров.

    Гибкие металлополимерные трубы изготавливают из высокопрочного полиэтилена (несколько слоев сваривают внахлестку) и прослойки из алюминия (рис. 82).

    Рис. 82. Металлополимерная труба: 1 – слои полиэтилена; 2 – связующий слой; 3 – алюминий


    Эти трубы продаются в комплекте с установочными тройниками, разделителями и другой арматурой, что дает возможность стыковать их с помощью герметичных соединений с трубами и приборами из пластмассы, бронзы, стали, латуни, что значительно облегчает монтаж.

    Фасонные части

    Фасонные части, имеющие антикоррозийную защиту, используются при выполнении поворотов, переходов от одного диаметра трубы к другому, ответвлений. Их используют при соединении:

    – стальных электросварных труб со спиральным швом диаметром 254 мм с антикоррозийным этинолевым покрытием;

    – стальных тонкостенных спирально-шовных труб диаметром 254 мм с двусторонним цинковым покрытием;

    – стальных труб, имеющих толщину стенок 168...1220 мм;

    – стальных тонкостенных электросварных труб диаметром 168...426 мм со спиральным швом;

    – стальных тонкостенных труб диаметром 200...400 мм с лакоэтинолевым покрытием;

    – асбестоцементных труб диаметром 150...500 мм;

    – полиэтиленовых труб диаметром 160...300 мм;

    – чугунных труб диаметром 150...400 мм.

    Для соединения труб применяют переходы, тройники, отводы, кресты и патрубки.

    Переходы используют в трубопроводах для устройства переходов от одного диаметра труб к другому (рис. 83).

    Рис. 83. Переход: 1 – втулка; 2 – переход; 3 – раструб


    Тройники применяют для устройства ответвлений на трубопроводах. Тройники бывают равнопроходными и переходными (рис. 84).

    Рис. 84. Переходной тройник: 1 – штуцер; 2 – ствол


    Отводы служат для устройства поворотов трубопроводов под углом 90° (рис. 85).

    Рис. 85. Отвод: 1 – сектор; 2 – полусектор


    Кресты используют для устройства ответвлений трубопроводов (рис. 86).

    Рис.86. Крест: 1 – штуцер; 2 – ствол


    Для установки трубопроводной арматуры на трубопроводах применяют патрубки (рис. 87).

    Рис. 87. Патрубок: 1 – фланец; 2 – патрубок


    Стенки фасонных частей могут быть разной толщины. Это зависит от срока службы трубопровода, для которого они применяются. Для стальных труб используют фасонные части, рассчитанные на рабочее давление 2 МПа, а для остальных труб – 1,5 МПа.

    Соединение фасонных частей с трубами производят по-разному. Например, с гладкими концами стальных труб фасонные части соединяют сваркой. Чугунными муфтами стыкуют стальные тонкостенные трубы с обечайками, чугунные с гладкими концами и асбестоцементные трубы.

    С помощью втулок и раструбов соединяют концы тонкостенных стальных труб. Обточенный конец асбестоцементной трубы можно соединить с необточенным концом трубы такого диаметра с помощью перехода с раструбом и гладким концом. Фасонные части с полиэтиленовыми трубами стыкуются на фланцах.

    Способы соединения труб

    Соединения труб подразделяются на разъемные и неразъемные. Выбор соединения зависит в первую очередь от материала, из которого изготовлены трубы, использующиеся для прокладки водопровода.

    Неразъемными называются соединения, которые разъединяются только в том случае, если разрушить крепление или деталь. Они производятся путем сварки и склеивания.

    Сварка соединяет трубы наиболее прочно и надежно. Производят ее встык или враструб.

    Сварку враструб осуществляют путем одновременного оплавления нагревательным инструментом наружной поверхности гладкого конца трубы и тонкого слоя внутренней поверхности раструба. После этого нужно очень быстро вдвинуть конец трубы в раструб.

    Сварку встык производят, оплавляя нагревательным инструментом, а затем соединяя оплавленные поверхности при незначительном давлении.

    В домашних условиях из-за отсутствия сложного оборудования применимы не все виды сварки. Чаще всего используют газовую и дуговую электросварку. Прежде чем производить сварку, предварительно промывают замасленные места труб раствором каустической соды, а затем теплой водой. После этого обрабатывают места сварки напильником и органическим растворителем и опиливают кромки.

    Газовая сварка позволяет соединять металлы и пластмассу. Принцип действия такой сварки очень прост: при сгорании газа образуется пламя, расплавляющее присадочный материал – проволоку, которая заполняет зазор между кромками деталей, образуя таким образом сварной шов.

    Дуговую электросварку также широко применяют для соединения труб. Эта электросварка производится с помощью электродов, как плавящихся, так и неплавящихся (вольфрамовых или угольных). Во втором случае в зону плавящейся дуги вводят присадочный материал.

    Если сварка сделана правильно, на поверхности труб не появятся свищи, а линия спая будет малозаметной.

    Помимо сварки неразъемные соединения производят и с помощью склеивания, которое выполняется путем введения между поверхностями деталей слоя клея. Обычно используются следующие виды клея: эпоксидный (для металла и пластмассы), БФ-2 (для пластмассы и металла), 88Н (для металла с резиной и резины с резиной).

    У данного способа соединения, по сравнению со сваркой, много преимуществ. Склейка не требует повышения температуры, в результате детали не деформируются. Этим способом можно соединять разнородные металлы и неметаллические материалы.

    Прежде чем приступить к склеиванию, подготавливают поверхности. Сначала удаляют следы ржавчины, грязи и жира. Для очистки от ржавчины и грязи используют шлифовальные шкурки или металлические щетки. Жир и масла удаляют с помощью бензина или ацетона. Если склеивание осуществляют клеем 88Н, то применяется бензин, а если используют ЭДП и БФ-2 – ацетон.

    Склеивают детали следующим образом. Сначала на поверхность наносят кисточкой первый слой клея и дают ему высохнуть. БФ-2 сохнет в течение 1 часа при температуре 20 °С, 88Н – 15 минут на свежем воздухе, а при использовании ЭДП сушка вообще не требуется.

    Когда первый слой высохнет, наносят второй. Затем детали сразу же соединяют и прижимают их друг к другу струбцинами. Прилегание деталей должно быть плотным. Срок выдерживания склеенных деталей разный и зависит от вида клея. Например, если используется ЭДП, то выдержка происходит в течение 2–3 суток при температуре 20 °С, БФ-2 – 3–4 суток при 20 °С, 88Н – 1–2 суток при 20 °С под грузом.

    Выдержав клееный узел в течение определенного срока, швы очищают от подтеков клея.

    Разъемными называются соединения – это такие соединения, которые легко разбираются на отдельные детали. К ним относятся соединения на резьбе (с помощью фитингов) и фланцевые. Соединение труб на фитингах используют для труб с резьбой на концах. При этом применяют фитинги – фасонные соединительные части, которые изготовляются из ковкого чугуна, стали, пластмассы. Их использование дает возможность соединять трубы под нужным углом, делать необходимые ответвления, переходы от одного диаметра трубы к другому.

    Фитинги из ковкого чугуна для прочности имеют буртики по торцам. Стальные фитинги – гладкие, без буртиков и выступов. Промышленность выпускает и пластмассовые шестигранные фитинги под гаечный ключ.

    Соединение с помощью фитингов должно быть прочным, что обеспечивают плотным прижиманием друг к другу ниток резьбы. Чтобы достичь герметичности при свинчивании труб с резьбой, предварительно смазывают нарезанные части белилами или свинцовым суриком.

    Если же нужно добиться более надежного соединения труб с резьбой, пользуются льняной или пеньковой подмоткой с суриковой замазкой. Для ее приготовления берут 2 части (по массе) сурика и одну часть вареного масла.

    Короткую резьбу на трубах применяют для неразъемных соединений труб фасонными частями. На смонтированном трубопроводе разъединить такое соединение можно, только разрезав трубы.

    Чтобы соединить трубы с короткой резьбой, необходимо на каждом их конце нарезать резьбу так, чтобы она на 2–3 витка не доходила до середины муфты. Это создаст своеобразное заклинивание, благодаря которому получится очень прочное соединение.

    Соединение труб на фланцах предполагает, что фланцы прикрепляют к трубам на резьбе или с помощью сварки (рис. 88).

    Рис. 88. Соединение труб на фланцах


    При этом способе необходимо следить за соблюдением соосности трубопроводов, а также параллельности торцов соединяемых фланцев.

    Сборка труб на фланцах состоит в установке между фланцами прокладок, поверхность которых должна быть ровной, без складок и морщин.

    Соединение стальных труб имеет свои особенности. Эти трубы выпускаются длиной от 4 до 12 м. Диаметр отверстий труб – от 15 до 400 мм. Давление, выдерживаемое стальными трубами, – от 0,1 до 5 МПа.

    Чаще всего стальные трубы сваривают. Используют для этого в основном газо– и электросварку. Так достигается равнопрочность конструкции трубопровода.

    При монтаже водопроводной сети из стальных труб не требуется большое количество стыковых соединений, что значительно упрощает работу.

    Тонкостенные стальные трубы с антикоррозийным покрытием монтируют раструбными и муфтовыми соединениями с применением резиновых уплотнителей.

    Отдельные отрезки стальных труб можно соединять на резьбе с помощью фитингов. Последние используются обычно в домашних условиях при сборке трубопровода в местах его поворотов, разветвлений, при переходе от одного диаметра труб к другому. Безрезьбовые стальные трубы соединяют на фланце – плоском кольце, на окружности которого имеются отверстия для болтов и шпилек.

    Преимуществом соединения труб с помощью фитингов и фланцев является то, что при необходимости можно произвести демонтаж трубопровода, не повреждая при этом его отдельные части. К сожалению, при соединении труб сваркой эта возможность полностью исключается.

    Чугунные трубы имеют длину 2–7 м и толщину стенок 10–12 мм. Они выпускаются с раструбами на одном конце, служащими для соединения деталей в трубопроводе. Длина раструба составляет 60–80 мм и зависимосит от диаметра трубы.

    При соединении чугунных труб зазор раструба заделывают уплотнителями и цементным раствором, для приготовления которого к 9 весовым частям цемента добавляют 1 весовую часть воды.

    При монтировании водопроводных сетей из чугунных труб используют, помимо раструбов, фланцы. Применяя их, на водопроводных линиях устраивают различные ответвления и устанавливают необходимую арматуру.

    Соединение асбестоцементных труб зависит от их вида. Такие трубы бывают безнапорными и напорными, обычно выпускаются длиной 3 и 4 м и имеют диаметр от 100 мм и более.

    В трубопроводах из асбестоцементных труб чаще всего используют чугунные фасонные детали, которые соединяют с трубами с помощью муфт. Допускается использование прямых цилиндрических муфт из асбестоцемента, а также чугунных.

    Пластмассовые трубы выпускаются четырех типов: легкие, среднелегкие, средние и тяжелые. Рассчитаны они соответственно на рабочее давление 0,25; 0,4; 0,6 и 1 Мпа. Пластиковые трубы имеют различную длину (3, 6, 8, 10, 12 м) и разный диаметр (40, 50, 85, 100 мм).

    Соединяют эти трубы несколькими способами. Это может быть тепловая сварка или склеивание (неразъемный способ), а также соединение с использованием резиновых колец, фланцев, накидных гаек (разъемный способ). Склеивают или сваривают теплой сваркой обычно пластиковые трубы диаметром 100 мм и более.

    Если трубопровод из пластмассовых труб смонтирован методом сварки, то необходимо помнить, что в стыковых швах прочность соединений на 10% ниже прочности самих труб.

    При монтаже трубопровода из пластмассовых труб часто используют фасонные части из полиэтилена.

    Нарезание резьбы

    Для нарезания резьбы нужны следующие инструменты: трубный прижим и вороток с набором плашек. Процесс изготовления резьбы при помощи этого набора показан на рис. 89.

    Рис. 89. Нарезание резьбы в трубном прижиме: а – подготовка отрезка трубы необходимой длины; б – снятие фаски под плашку; в – нарезание резьбы


    Отличие плашек друг от друга зависит от типа резьбы и ее диаметра. Каждая плашка на торце имеет клеймо, в котором содержится необходимая информация. При этом особое внимание нужно обратить на обозначение резьбы и марку стали, из которой изготовлена плашка. Чаще всего при соединении труб применяют дюймовую цилиндрическую резьбу. Если в клейме стоит буква «Л», то это означает, что плашка имеет левостороннюю резьбу. Марка стали важна в том случае, если предстоит нарезать резьбу на высокопрочной нержавеющей стали.

    Для выполнения этой операции используют плашку, имеющую маркировку Р18 (а еще лучше Р18Ф2, где «Ф» – это содержание в инструментальной стали до 2% ванадия в качестве легирующей добавки), или же плашку с маркировкой Р9.

    Кроме этого, плашки бывают разрезными и неразрезными. Первые дают возможность выполнить работу с большей точностью, то есть с их помощью резьбу можно проходить в несколько заходов. При этом стопорным винтом следует корректировать диаметр резьбы.

    При монтаже трубопроводов работают только разрезными плашками соответствующего диаметра, потому что они позволяют нарезать резьбу со сбегом. Иногда для выполнения резьбы применяют раздвижные плашки, закрепленные в специальных косых клуппах с номерами от 1 до 6.

    Существует несколько видов резьбы, каждый из которых предназначен для определенного вида соединений.

    По своему предназначению резьба делится на пять видов (рис. 90): треугольная, трапециевидная, прямоугольная – для деталей, передающих движение; упорная – для механизмов, которые подвержены большому одностороннему давлению; круглая – для монтажа трубопроводов.

    Рис. 90. Виды резьбы: 1 – треугольная; 2 – трапециевидная; 3 – прямоугольная; 4 – круглая


    Кроме этого, резьба может быть правой и левой, внутренней и наружной. Пример правой и левой резьбы показан на рис. 90. Внутреннюю резьбу (в отверстиях) нарезают метчиками, имеющими квадратную хвостовую часть, которой они и закрепляются в воротке.

    Для выполнения правой, считающейся основной, и левой резьбы существуют различные метчики. Они, как правило, продаются в комплекте из чернового, имеющего одну риску по окружности в хвостовой части (в этом же месте ставят диаметр и шаг резьбы), среднего, имеющего две риски, и чистового, у которого три риски, метчика.

    Резьбу нарезают в три прохода, то есть сначала черновым метчиком, затем средним и потом чистовым.

    Для получения резьбы высокого качества самым важным условием является правильное определение диаметра высверливаемого отверстия. Этот диаметр должен быть несколько большим, чем внутренний, и несколько меньшим, чем наружный диаметр самой резьбы. В бытовых условиях это можно сделать, используя простую формулу. Если это стальная деталь, то из величины наружного диаметра резьбы следует вычесть величину ее шага. Допустим, наружный диаметр резьбы составляет 5 мм, шаг резьбы равен 0,5 мм.

    Теперь из 5 нужно вычесть 0,5 – получилось 4,5 мм (диаметр нужного отверстия). Если заготовка из чугуна, то задача несколько усложняется. В этом случае величину шага резьбы (0,5 мм) умножают на коэффициент 1,1. Далее из величины наружного диаметра резьбы вычитают полученное произведение, то есть 0,5 х 1,1 = 0,55 мм; 5 х 0,55 = 4,45 мм. Это и будет размер нужного отверстия.

    После того как отверстие изготовлено, конец чернового метчика смазывают машинным маслом и вставляют в полученное отверстие. Затем вороток метчика поворачивают до тех пор, пока он не врежется в металл и не будет иметь устойчивое положение. После этого вороток вращают обеими руками, перехватывая его через каждые пол-оборота. Выполнив 2–3 оборота по направлению резьбы, возвращают метчик на пол-оборота назад. Если стружка будет ломаться, это облегчит работу и даст возможность получить резьбу высокого качества. Точно так же отверстие обрабатывают вторым, а потом и третьим метчиками.

    При работе с медью, бронзой, алюминием метчик довольно быстро забивают стружками. Поэтому во время обработки отверстия его нужно периодически вынимать и щеткой сметать с него стружку.

    Нарезка наружной резьбы на стержнях для получения болтов, винтов, шпилек и прочих деталей производится с помощью плашек. Вначале подбирают стержень нужного диаметра. После этого его вставляют в тиски, зажимают и на конце при помощи напильника снимают небольшую фаску, которую смазывают машинным маслом.

    Плашку вставляют в плашкодержатель и закрепляют зажимными винтами. На конец стержня, зажатого в тисках, кладут плашку и одной рукой начинают осторожно ее вращать по направлению резьбы. Другой рукой головку плашки прижимают к стержню.

    После того как инструмент врежется в металл, берутся за плашкодержатель обеими руками и вращают его таким образом: 2–3 оборота вперед и пол-оборота назад. Эти действия продолжают до тех пор, пока резьба не приобретет заданную длину. В процессе нарезания резьбы нужно следить, чтобы плоскость плашки была всегда строго перпендикулярна к стержню, иначе резьба перекосится.

    В конце работы проверяют точность резьбы, навинчивая на стержень гайку соответствующего диаметра. Свежая резьба, как правило, имеет заусенцы, поэтому во избежание травм ее нельзя трогать руками.

    Таким же образом выполняется резьба на трубах различного диаметра.

    Прокладка водопровода

    Перед тем как начинать прокладку водопровода, необходимо отмерить трубы нужной длины. Провести точный замер не так просто, как может показаться в первый момент. Делать это следует очень точно, так как, если длина трубы будет хоть немного больше, чем положено, получится перехлест при соединении труб, и всю работу по резке нужно будет выполнять заново. А если отрезать трубу меньшей длины, то придется или вставлять переходники, или приваривать еще один отрезок трубы, а чем больше соединений, тем больше вероятность течи в будущем.

    При разметке труб, которые должны быть соединены переходниками и редукторами, следует помнить, что при определении длины трубы нужно делать прибавку на стык. Чтобы установить эту прибавку, трубу вставляют в переходник до упора и отмечают, на какое расстояние она уходит в деталь. На некоторых переходниках уже обозначено это расстояние.

    Все измерения рекомендуется делать одним инструментом, так как даже специальный инструмент имеет погрешности. И суммируясь, они могут дать ощутимую разницу в подсчетах. Не подойдет в этом случае и принцип «на глазок».

    Резка труб

    Ровно отрезанная труба – гарантия того, что соединение не даст течи при пуске водопровода в действие. Особенно это важно при соединении труб на переходниках: чтобы конец трубы плотно прилегал к стопорному кольцу переходника, он должен быть ровно отрезан.

    Самый простой способ правильно наметить линию отреза: берут кусок картона с ровными краями, оборачивают им трубу, обводят края бумаги карандашом. Полученная линия и будет линией отреза. Закрепляют трубу в тисках и только после этого отпиливают ножовкой.

    Делать это следует аккуратно, следя, чтобы ножовка не отклонилась от метки. Держат ножовку строго перпендикулярно по отношению к трубе. Движения ножовкой должны быть плавными, без рывков. После того как труба будет разрезана, срез обрабатывают полукруглым напильником и тщательно очищают его от опилок.

    Если резать нужно трубу из мягкого материала, например из меди, ее зажимают в тиски по всей длине, чтобы на месте зажима не осталось следов, но не слишком сильно, чтобы труба не сплющилась.

    Если часто приходится сталкиваться с резкой труб, лучше приобрести труборез. Этот специальный инструмент улучшит качество работы (внешний край получается без заусенцев, и срез будет очень ровным) и сэкономит время.

    Трубу зажимают в тиски, отступают от губок тисков примерно 10 см и надевают на трубу труборез. Инструмент устанавливают перпендикулярно, закрепляют его поворотом рукоятки-винта, врезая тем самым подвижный ролик в металл, и начинают поворачивать труборез короткими движениями по часовой стрелке и против нее до тех пор, пока не делают полный оборот. Затем поворачивают винт на 90° и снова делают полный оборот. Эту процедуру повторяют, пока не отрежут трубу.

    Опиливание

    После того как труба будет отрезана, может потребоваться такая операция, как опиливание. Опиливание не следует путать с зачисткой. Они имеют существенное отличие, да и выполняются разными инструментами: опиливание – надфилями и напильниками, а зачистка – шкурками, шлифовальными кругами, проволочными щетками и пр. Зачистка – только удаление шероховатостей, а опиливание – удаление заусенцев и изменение размера детали при подгоне одной под другую (с нее снимается слой металла). Разные детали опиливают разными напильниками, но сам процесс проводится одинаково: деталь (в данном случае труба) зажимают в тиски так, чтобы в рабочем пространстве осталось не более 10 см трубы. Движения напильником по отношению к поверхности детали должны быть горизонтальными.

    Трубы опиливают плоским напильником: сначала грубую обработку делают напильником № 0, затем доводят напильником № 4 или № 5. Если труба в тисках закреплена горизонтально, то во время работы напильник напоминает качели – его положение по отношению к трубе меняется. Если же вертикально, то по ходу напильника его носик поднимается немного вверх и влево, при обратном ходе носик смотрит прямо вперед. После обработки одной части трубы ее поворачивают в тисках на 120° и продолжают опиливание другой стороны трубы.

    Время от времени деталь вынимают из тисков и проверяют качество опиливания.

    В последнее время появилась масса дополнительных инструментов, которые облегчают выполнение той или иной операции. Например, существует специальный напильник, который сглаживает как внешний, так и внутренний край трубы одновременно (рис. 91).

    Рис. 91. Напильник для обработки среза трубы


    Сгибание труб

    Изогнутые трубы понадобятся при установке отопительных приборов, сантехники, при укладке труб в доме и т. д. Если не удалось приобрести уже согнутые куски труб, можно согнуть трубы в домашних условиях. Единственное, чего нужно опасаться, это прогибания трубы внутрь и ее разрыва, так как при сгибании металл испытывает сразу и сжатие, и растяжение. Чтобы этого не произошло, можно использовать несколько приемов.

    Например, самый простой способ. Его применяют, если металл не слишком твердый. В трубу вставляют пружину до места будущего сгиба, потом перегибают трубу на колене: пружина удержит стенки трубы. Затем ее вытаскивают за длинную проволоку.

    Другой способ состоит в том, что трубу наполняют сухим песком, зажимают в тиски и нагревают в том месте, где ее необходимо согнуть. Не нагревают трубу вблизи тисков, иначе они могут потерять прочность. То, что песок прогрелся, можно узнать по окалине: она начнет отлетать от трубы. Температуру нагрева определяют на вид: например, стальные трубы должны стать ярко-красными. Алюминиевые нагревают до тех пор, пока бумага, поднесенная к месту нагрева, не начнет обугливаться. Но следует помнить, что оцинкованные трубы нельзя гнуть в горячем состоянии, так как может нарушиться сохранность покрытия.

    Гнуть трубы можно не только в тисках, но и в трубном прижиме. Также в арсенале мастеров имеется несколько приспособлений, с помощью которых осуществляется гибка труб. Самым простым из них является металлическая плита с отверстиями. В них особым образом вкручивают небольшие штифты, которые можно переставлять, чтобы получить изгиб нужного радиуса и трубу нужной формы. Но, применяя данное устройство, не всегда получается добиться того, чтобы труба изогнулась именно так, как нужно. Кроме того, на нем удобно гнуть трубы только большой длины. Чтобы согнуть короткую трубу, надо приложить большие физические усилия.

    Другим инструментом для сгибания труб является плоскопараллельная пластина (рис. 92).

    Рис. 92. Плоскопараллельная пластина: 1 – плита; 2 – пластина; 3 – хомут; 4 – труба


    Она изначально имеет необходимую кривизну. Сгибание происходит следующим образом: в специальном хомутике зажимают трубу и гнут ее по пазу пластины. Причем на этом приспособлении можно гнуть трубы диаметром до 40 мм. Самым известным инструментом для этого вида операций является станок Вольнова (иначе – трубогиб). С его помощью можно изогнуть трубу диаметром 15, 20 и 25 мм по-разному: в виде утки, калача, скобы и отвода (рис. 93). Для этого нужно заложить длинную сторону трубы под хомут верстака, смазать то место, где будет произведен изгиб, машинным маслом и загнуть короткую сторону. Кроме вышеописанных инструментов, существует специальная машинка для сгибания труб. Она может понадобиться при сгибании трубы диаметром 28 мм. Процесс очень упрощается: на машинке устанавливают нужный угол сгибания, трубу вставляют в приспособление и сводят его рукоятки (рис. 94). Имеется целый ряд других, менее известных приспособлений для гибки труб, например трубогиб с гидроприводом. Но в любом случае, используя тот или иной инструмент, следует помнить, что измерять длину трубы нужно уже после того, как ее согнули. Эта длина будет истинной. Если труба измеряется перед сгибанием, то полученная длина носит название заготовительной.

    Рис. 93. Виды загибов труб: а – калач; б – отвод; в – утка; г – скоба


    Рис. 94. Машинка для гибки труб


    Установка водонагревателей

    Для создания в доме системы горячего водоснабжения обязательно потребуются водонагревательные приборы.

    Водонагреватели могут быть самой разной модификации: они отличаются не только размерами, но и классифицируются в зависимости от способа нагрева воды – с помощью электричества или газа.

    Газовые водонагреватели

    Самый распространенный из газовых нагревательных приборов – ВПГ (водонагреватель проточный газовый), или газовая колонка (рис. 95).

    Рис. 95. Газовая колонка (ВПГ)


    Принцип работы этого устройства очень прост: вода поступает по трубам в теплообменник, там горят горелки, в которых сжигается газ, и вода нагревается. Зажигание горелок производится запальной свечой или пьезоэлектрическим устройством. Если кран горячей воды не открыт, и вода не поступает в колонку, в ней срабатывает блокиратор (он может быть автоматическим или механическим).

    Если в дом проведена холодная вода и имеется газовая плита, можно самостоятельно (с разрешения специальной службы) соорудить прибор такого типа (рис. 96). Принцип нагрева у него будет тот же.

    Рис. 96. Установка самодельного проточного водонагревателя


    Основной деталью этого прибора является водогрейный короб – стальной корпус с высверленными в нем по бокам и сверху отверстиями. Внутри по стенкам короба витками располагается медная трубка. Один ее конец (входной) соединен резиновым шлангом посредством двух хомутов с па-трубком, врезанным в трубу с холодной водой. На этом патрубке должен стоять вентиль. Второй конец медной трубки соединен (также с помощью шланга, но уже из термостойкой резины) с трубопроводом горячей воды.

    Почти под потолком устанавливают накопительный бак, в который поступает горячая вода, откуда она распределяется по точкам водоразбора (на рисунке это смеситель на мойке и душ). Для ввода и вывода воды в баке имеются два патрубка, причем выпускной вваривают в самой нижней части бака. Вода из бака идет самотеком.

    Нельзя подключать нагреватель напрямую к смесителям, так как бак компенсирует давление, которое возникает в системе при нагреве воды (она при этом расширяется), и без наличия бака система разорвется. К тому же он служит и накопительной емкостью, поэтому так важно, чтобы он висел высоко: чем выше он находится, тем сильнее напор горячей воды.

    Чтобы пользование данной самодельной системой было безопасным, нужно соблюсти несколько условий. Первое: резиновые шланги стягивают только болтами с контргайками. Это делается для того, чтобы вода под давлением не сорвала шланги. Второе: перед тем как нагревать, сначала включают холодную воду и лишь потом опускают короб на конфорку. Это позволяет уберечь медную трубку от расплавления.

    Проточные водонагреватели, так же как и котлы, могут быть более простыми и более сложными по конструкции и выполнять разное количество функций. Это может быть автоматический регулятор потока, поддерживающий температуру на заданном уровне, два режима работы (в режиме экономии и на полную мощность), регулятор перепада давления, который обеспечивает подачу горячей воды одной температуры, что защищает, например, от резкой смены температуры воды во время купания.

    Колонки любых производителей, как отечественные, так и импортные, имеют предохранительный клапан, который отключает подачу газа в горелки, если погасло запальное пламя. Также некоторые колонки, как правило, самые дорогие и современные, снабжены специальными фильтрами, предотвращающими попадание разных взвесей в прибор. Могут быть предусмотрены датчики, которые контролируют качество тяги (иначе говоря, то, как отводятся продукты сгорания). Если тяга нарушена, датчик автоматически перекрывает доступ газа.

    Электрические водонагреватели

    Водонагреватели могут работать не только от газа, но и от электричества. Причем можно установить прибор как накопительного типа (то есть для всего дома), так и для одного-единственного крана. Последние, естественно, наиболее просты в конструкции и применении. Они небольшого размера, поэтому их можно повесить над мойкой или под раковиной (рис. 97). Причем в некоторых из них вода не нагревается настолько, чтобы было необходимо смешивать ее с холодной, поэтому поступает прямо в кран. Температура воды при этом регулируется изменением мощности нагрева.

    Рис. 97. Электрические нагреватели проточного типа: а – автоматический со смесителем; б – с накопительной емкостью


    В комплекте с более сложными моделями таких нагревателей продаются смесители и арматура, вода в них подводится сразу и к холодному крану смесителя, и к корпусу нагревателя. Нагретая вода подводится к горячему крану. Есть модели с накопительной емкостью объемом до 5 литров.

    Даже простые модели имеют установленную максимальную температуру нагрева. В некоторых есть сигнальная функция, которая предусмотрена на тот случай, если давление воды меньше нормы. Датчик сигнализирует перегрев, и прибор временно отключается. Эта функция очень удобна, так как заранее предупреждает об отключении нагрева.

    Описанные выше модели просты и недороги, но требуют усиленного контроля. Последние разработки, уже получившие популярность, полностью автоматические, и колебания давления на их работе не отражаются. Работают данные устройства в экономичном режиме, а это защищает от появления накипи. Кроме того, в них вмонтированы специальные фильтры. Температура воды в таких нагревателях поддерживается на одном, заданном уровне и колеблется от 30 до 70 °С на выходе. Вполне естественно, что такие мощные агрегаты могут обеспечить горячей водой дом в 2–3 этажа. Кроме хороших рабочих характеристик, они имеют еще и эффектный дизайн. А накопительная емкость может вмешать до 200 литров воды.

    При выборе настенного электрического водонагревателя нужно знать, что подключение к электросети должно быть очень надежным, а также по возможности исключено прекращение подачи электроэнергии. Обязательным является заземление. Читая инструкцию к прибору, следует обратить внимание на то, все ли условия подключения соблюдены (определенная сила тока в розетке, соответствие диаметра проводов силе тока и т. д.). Во время эксплуатации этого вида приборов нужно помнить, что сначала нужно включить воду, а затем нагрев.

    Комбинированные нагреватели

    Такие нагреватели наиболее рациональны, поскольку обеспечивают и отопление дома, и подачу горячей воды. Но и стоят они недешево. К таким приборам относятся АГВ (автоматический газовый нагреватель) и АОГВ. Принцип их устройства накопительный, или емкостный, то есть вода для системы отопления поступает в бак, где находится теплообменник горячего водоснабжения.

    Это устройство имеет сложную конструкцию с несколькими степенями защиты (рис. 98). Оно обязательно присоединяется к вентиляционному отверстию или дымоходу, через который выводятся продукты сгорания.

    Рис. 98. Современный газовый котел: а – внешний вид; б – схема работы: 1 – устройство контроля; 2 – прерыватель тяги; 3 – расширительная емкость; 4 – теплообменник; 5 – газовая горелка; 6 – автоматический воздушный вентиль; 7 – теплообменник системы водоснабжения; 8 – предохранительный клапан; 9 – арматура подачи газа; 10 – устройство, предотвращающее потерю отопительной воды; 11 – устройство управления («только подогрев», «только отопление» или «подогрев и отопление»); 12 – насос циркуляционный; 13 – наполнительный вентиль


    Схема оборудования дома автономным водопроводом с верхней напорной емкостью дана на рис. 99. Причем в данном случае представлена универсальная схема: на ней показано проведение как водопровода, так и горячей воды и отопления – стоит только установить газовую водогрейку (АГВ), радиаторы, расширительный бачок и приобрести газовый баллон. Но если нет средств или возможностей для проведения отопления, можно не монтировать ту часть трубопровода, которая соединена с АГВ.

    Рис. 99. Схема оборудования дома автономным водопроводом с верхней подачей воды: 1 – водозаборник с фильтром; 2 – электронасос; 3 – колодец; 4 – подающая труба; 5 – газовый баллон; 6 – обратная труба системы водяного отопления; 7 – радиатор; 8 – газовая водогрейка; 9 – расширительный бачок; 10 – подпитывающая труба; 11 – газовая труба; 12 – блок управления насосом; 13 – ящик; 14 – напорная емкость; 15 – поплавок; 16 – рычаг; 17 – теплоизоляционный материал; 18 – верхняя крышка; 19 – отделение элементов управления; 20 – управляющая тяга с флажком; 21 – датчик верхнего уровня; 22 – ось качания рычага; 23 – датчик нижнего уровня; 24 – переливная труба; 25 – электромагнитный клапан; 26 – газовая колонка; 27 – труба к потребителям холодной воды; 28 – труба к потребителям горячей воды; 29 – канализационная труба; 30 – сливной колодец


    Газовый баллон можно присоединить лишь к газовой колонке, и горячая вода все равно будет. Но при этом нужно оснастить систему электромагнитным клапаном, который будет перекрывать расходную трубу из накопительной емкости. Делается это для того, чтобы вода поступала к газовой колонке прямо от насоса, так как при этом будет достигнуто максимальное давление воды, напор окажется сильнее, и колонка станет более надежной.

    На схеме видно, что напорная емкость установлена на чердаке. Емкостью может служить любой резервуар большого объема (до 200 литров). Поскольку в нем всегда будет находиться вода, желательно, чтобы он был сделан из нержаве-ющей стали или дюралюминия. Если в качестве накопительной емкости используется обычная железная бочка, то ее нужно предварительно тщательно покрасить водостойкой краской.

    Почти идеально в качестве накопительной емкости подходит эмалированная ванна. У нее есть определенный недостаток – она слишком тяжелая, но зато обладает достаточным объемом и не ржавеет, к тому же имеет два отверстия – входное и переливное, которые удобны для подсоединения к системе.

    Такой водопровод лучше устраивать в дачном домике. Но если его устроили в доме, где живут и зимой, то емкость следует утеплить. Для этого делают ящик из досок, ставят в него ванну и засыпают пространство между ванной и стенками ящика теплоизолятором (опилками, керамзитом, шлаком). Ящик закрывают крышкой, тоже дощатой, а сверху устанавливают коробок с датчиками уровня. Чтобы в ванной всегда была вода, нужно соорудить регулирующее поплавковое устройство любой конструкции, но лучше бесконтактное, как на схеме. В кронштейнах крышки шарнирно закрепляют рычаг с поплавком на нижнем конце. Как только в баке изменяется уровень воды, рычаг своим верхним плечом перемещает управляющие тяги с флажками.

    Второй вариант отличается от первого тем, что бак устанавливают в подвале. Несомненное преимущество данного устройства в том, что в подвале не бывает минусовых температур, бак не надо теплоизолировать.

    Возникает вопрос: как это возможно? Ведь для того, чтобы был хороший напор, емкость поднимают как можно выше. Однако это не обязательно. Правда, тогда потребуется сделать емкость почти герметичной, лишь с одним выходным отверстием (то есть без расширительного бачка). Закрывают ее текстолитовой крышкой, которую крепят к баку болтами, а между крышкой и болтами ставят резиновые прокладки. Чтобы сохранить герметичность, отверстия под болты сверлят так, чтобы зазор оставался минимальным. Кроме того, при сборке отверстия уплотняют резиновыми шайбами.

    Напора, который создается в этой системе, хватит не только для дома, но и для полива огорода.

    Как работает такая система? Насос с водоприемником подает воду из колодца одновременно и в расходную систему, и в бак (рис. 100), который становится уже не накопительным, а напорным. У бака нет сообщения с атмосферой, воздух начинает сжиматься и выталкивает воду из бака. Таким образом создается нужный напор.

    Рис. 100. Водопровод с пневмонапором: 1 – водоприемник с обратным клапаном; 2 – электронасос; 3 – напорный бак; 4 – колодец; 5 – блок управления; 6 – манометр; 7 – вентиль; 8 – датчики уровня; 9 – расходная труба


    Насосом, качающим воду из колодца, управляет специальное тиристорное устройство, которое автоматически поддерживает уровень воды. Датчиками уровня являются два электрода из медной проволоки диаметром 2,5 мм. Их прикрепляют к крышке бака на расстоянии 20 мм один от другого, причем верхний электрод располагается на том уровне, на котором воздух в баке сжат до 1,5 атмосфер. Работает это приспособление по принципу замыкания и размыкания цепи «электроды – вода – стенка бака – масса». Цепь размыкается – насос включается, и наоборот.

    Водяное отопление

    Этот вид отопления достаточно прост в создании и надежен в эксплуатации. Для него не нужно специальных насосов: вода, нагреваясь в котле, расширяется, а так как система замкнутая, вода сама поднимается вверх. Она проходит по трубам, которые нагреваются сами и отдают тепло.

    Постепенно вода охлаждается и по трубам возвращается к котлу, затем нагревается снова; и все продолжается по той же схеме. Как только температура в помещении станет такой, какая была необходима, котел выключается. Конечно, очень удобно, если рядом с домом проходит водопроводная магистраль – подключиться к ней не составит труда.

    Провести отопление можно и тогда, когда нет централизованного водоснабжения. Для того чтобы в доме была вода, достаточно рядом вырыть колодец. Затем нужно приобрести надежный электронасос, вместительную накопительную емкость, трубы, разную арматуру, нагревательные приборы – и половина дела уже сделана.

    Монтаж системы водяного отопления

    Прежде чем приступить к прокладке трубопровода, нужно тщательно подготовиться к этой работе. Прежде всего необходим план прокладывания системы, утвержденный в занимающихся этим государственных организациях.

    После этого нужно составить рабочий план, по которому будет проводиться сверка правильность укладки. Для этого следует нарисовать план дома и разметить на нем местонахождение труб.

    Для прокладки труб следует выбирать наиболее удобные места. Нужно учитывать, что трубопровод должен быть прямым (но не содержать прямых углов) и коротким, в целях экономии дорогостоящих материалов. Также следует стараться, чтобы в трубопроводе было как можно меньше стыков и сгибов – они могут стать причиной протечек.

    Необходимо иметь в виду, что трубы можно гнуть, но не рекомендуется делать перехлесты, так как в этих местах обычно возникают воздушные пробки.

    Для монтажа отопительной системы понадобятся трубы диаметром 3/4 дюйма (если в систему будут входить радиаторы) и диаметром 60–100 мм (если система будет двухтрубная), соединительные элементы и запорная арматура.

    О видах труб, использующихся для прокладывания водопровода, подробно было рассказано выше. Выбрать можно любые, это зависит от материальных возможностей и желания. Самыми популярными являются трубы из мягких сортов стали, так как они сравнительно недороги и с ними легко работать. Но у этих труб есть один существенный недостаток: они подвержены коррозии. Поэтому, если есть такая возможность, лучше использовать трубы из оцинкованной или нержавеющей стали.

    От диаметра труб зависит размер фитингов, вентилей и кранов. Сколько их понадобится в конечном итоге, станет ясно в процессе работы, но то количество, которое предусмотрено в плане, приготовить нужно заранее.

    Также необходимо подготовить нужное количество опор, на которые будут крепиться трубы. Их количество определяют, исходя из того, что крепить трубы нужно через 1,2 м, в этом случае трубы не будут провисать и меньше износятся. Приготовленные трубы нужно сразу расположить на предназначенных для них местах вдоль стен.

    Особое внимание следует обратить на сгоны, представляющие собой небольшие отрезки труб с резьбой на концах. Длина сгона зависит от диаметра трубы. Так, на стояк ставят сгоны не короче 30 см, на трубы диаметром 15–20 мм – 11 см, диаметром 25–32 мм – 13 см, а диаметр труб 35–50 мм подразумевает использование сгонов длиной 15 см. Они служат для резьбового соединения труб между собой, с радиаторами и другими деталями, если нет возможности вращать при сборке одну деталь относительно другой.

    Причем при соединении радиаторов с трубами длина сгонов будет иной: при трубе диаметром 15–20 мм – 13 см, а диаметром 25–32 мм – 14 см.

    Итак, для того чтобы провести водяное отопление в дом, понадобится следующее оборудование:

    – котел;

    – трубы и соединительные элементы к ним (их количество высчитывают исходя из плана дома);

    – радиаторы;

    – расширительный (компенсаторный) бачок;

    – запорная арматура (вентили и краны).

    Котел – основная деталь системы отопления. Он представляет собой закрытую топку, в которой находится змеевик – труба, куда входит остывшая вода, а затем нагревается и выходит. Нагревать котел (разные его модификации) можно с помощью практически любого вида топлива (мазута, угля, дров, газа), и даже электричества, но газ все-таки предпочтительнее и экономнее. Хотя в последнее время приобретают популярность экологически чистые нагреватели, использующие электрический ток. Видов котлов – великое множество, от самых простых до тех, которые предоставляют полный набор услуг, например котлы с термостатами. Они автоматически поддерживают установленную температуру воды. Но каким бы котел ни был, в каждый в обязательном порядке вмонтирован термометр, контролирующий температуру воды. Также конструкция котлов позволяет регулировать степень нагрева (например, подачу газа к форсункам).

    Теперь, когда все подготовлено, можно приступать непосредственно к монтажу системы отопления.

    Самый оптимальный вариант автономной системы водяного отопления – двухтрубная с естественной циркуляцией воды. Данная система получила такое название, потому что состоит из двух линий: горячей (она проходит сверху) и холодной (ее прокладывают внизу).

    Система представляет собой следующее:

    – от нагревательного элемента (печи, котла, АГВ и пр.) вверх выводят основную трубу (диаметром 60 мм), которая соединяется с расширительным баком. Бак располагается под потолком, но чаще на чердаке, в этом случае чердак должен быть утепленным;

    – в боковую сторону бака, в нижнюю ее треть, врезают трубу верхней линии, опускают ее до уровня развязки (не доходя до пола на 1/3 высоты помещения) и проводят трубы по всем отапливаемым помещениям и опускают вниз – она становится нижней линией (обраткой);

    – в бак врезают переливную трубу, которая служит для отвода в канализацию лишней воды;

    – обратку также проводят по всем помещениям параллельно горячим трубам и врезают в нижнюю часть водонагревательного прибора. Система отопления стала замкнутой.

    При устройстве такой системы отопления (рис. 101, а) важно хорошо продумать и просчитать разницу высот и ориентацию трубопроводов, а также местонахождение запорной арматуры. В системе с естественной циркуляцией надо обеспечить давление, поэтому котел устанавливают ниже уровня радиаторов (либо в специальном углублении в полу, либо в подвале или цокольном этаже). Объясняется это тем, что чем больше разница уровней нагревательного элемента и излучателей тепла, тем выше давление.

    Рис. 101. Схема отопительной системы с естественной циркуляцией: а – двухтрубная система с верхней разводкой; б – однотрубная система с нижней разводкой; 1 – котел; 2 – расширительный бачок; 3 – разводящая магистраль; 4 – радиаторы; 5 – обратка


    Такая система вполне сможет отапливать дом из 4 комнат, кухни, ванной и санузла. Если надо обогревать дом большей площади, в систему включают водяной насос, который будет гнать воду по трубам. Но это будет уже несколько другая система, без естественной циркуляции.

    Если же дом небольшой, то устраивают совсем простую систему отопления (рис. 101 б). В этом случае магистраль прокладывают почти под потолком помещений, а обратку выводят под пол, закрепляя на лагах или балках перекрытия. Эта система предпочтительнее если в доме есть подвал или цокольный этаж. Объем расширительного бачка зависит от отопительного прибора, применяемого в системе. Оптимальный объем – 25 литров. Но заполняется он лишь на 3/4 объема. Также важно следить за тем, чтобы он всегда был заполнен хотя бы наполовину, так как вода, нагреваясь, еще и испаряется. Уровень воды не должен быть ниже уровня врезки трубы верхней линии в бачок: если это произойдет, вода перестанет поступать в горячую линию, и циркуляция ее прекратится. Это чревато тем, что вода в основном стояке перегреется, закипит, и котел взорвется.

    Чтобы этого не произошло, 1–2 раза в отопительный сезон надо доливать воду в бачок. Делать это можно через отверстие в крышке бачка или через специально врезанный для этой цели патрубок с краном, соединенным с водопроводом.

    Чтобы избежать образования воздушных пробок и обеспечить лучший водоток и слив, при прокладывании системы отопления надо укладывать трубы, расположенные по горизонтали, под небольшим уклоном по направлению движения воды. Уклон должен быть равен 0,5 см на 1 метр длины трубопровода (на рисунке этот уклон сильно увеличен). Его обязательно следует учитывать при измерении труб!

    В конце обратки, перед тем как соединить трубу с котлом (то есть в самом низком месте системы), нужно обязательно врезать патрубок с краном для вывода воды в канализацию. Это понадобится для того, чтобы спускать воду из системы (например, в случае ремонта).

    Следует помнить и еще об одном немаловажном моменте: уточняя длину стояка, учитывают высоту виброизоляции – той самой подушки, на которую устанавливают оборудование для предотвращения шумов (как воздушного, так и структурного). По плану скорее всего нужно будет прокладывать трубы через стены, поэтому также заранее нужно подготовить виброизоляцию.

    Прокладывать трубы придется и горизонтально (под полом или на чердаке), и вертикально (в стенах). Особенно это актуально для многоэтажных домов. Сборку водопровода нужно вести последовательно, от одного помещения к другому.

    Горизонтальная прокладка труб

    Если доме подвесные полы, то трубы можно крепить пластиковыми хомутиками прямо к перекрытиям или, если они проходят перпендикулярно к перекрытиям, провести в отверстия, просверленные в связках перекрытий. Диаметр отверстий должен быть на 12 мм больше диаметра трубы. Шире отверстия делать не рекомендуется, так как они делают перекрытие менее прочным.

    На чердаке трубы прокладывают поверх перекрытий.

    Крепление труб должно быть таким, чтобы удержать их в том направлении, в котором проложили, и в то же время таким, чтобы трубы могли смещаться в осевом направлении.

    Крепят трубы двумя способами: подвижным и неподвижным (последний вид представлен на рис. 102). Если труба имеет наружный диаметр до 40 мм, то ее можно крепить крючьями или сваркой; если диаметр трубы больше – ее укладывают на кронштейны и подвески.

    Рис. 102. Виды неподвижного крепления труб: а) 1 – скобой; 2 – на кронштейне; 3 – крючком; 4 – на кронштейне и хомуте; 5 – хомут; 6 – скоба; б) 1 – на подвеске; 2 – тяга; 3 – болт; 4 – хомут; в) 1 – на подвеске с опорной балкой; 2 – тяга; 3 – балка; 4 – хомут; г ) 1 – на кронштейне с подкосом; 2 – дюбель; 3 – сваркой к кронштейну; 4 – хомут; д) 1 – к уголкам; е) 1 – хомут; 2 – к опорным столбам или колоннам


    Между трубами при креплении должно сохраняться определенное расстояние. Трубы с внутренним диаметром 15, 20 и 25 мм без изоляции крепятся друг от друга на расстоянии 2,5, 3 и 3,5 м, с изоляцией – 1,5 и 2,2 м.

    Не следует забывать, что при необходимости трубы нужно хорошо изолировать, чтобы они не промерзли. Причем изолировать нужно не только трубы с горячей водой, но и с холодной.

    Существует много способов изоляции, однако наиболее часто используют два. Первый (более дешевый) заключается в том, что трубы обматывают изоляцией из минеральной ваты или стекловолокна. Один конец изоляции закрепляют у основания трубы, потом ее наматывают внахлест по всей трубе. Изоляция время от времени фиксируется клеем. При этом не следует забывать о личной безопасности: надо надеть перчатки, защитный костюм, очки и респиратор. Второй способ состоит в использовании специальной трубчатой изоляции, которую надевают на трубу по всей длине и заклеивают изоляционной лентой.

    Вертикальная прокладка труб

    Если стены сделаны из древесно-рамочных конструкций, то проложить трубы будет легко. Конечно, лучше их прокладывать вместе с установкой стен, чтобы потом не пришлось портить обшивку. Однако, если по каким-то причинам сразу этого сделать не удалось, то для вертикальной прокладки просверливают с верхнего этажа или с чердака в готовой стене оголовок, а потом вырезают в стене куски сухой штукатурки и просверливают в этих местах отверстия в связках и стойках.

    После штукатурку устанавливают на место и швы затирают. Низ рамы стены сверлят с нижнего этажа, для этого снимают несколько досок пола и прокладывают трубы.

    Для того чтобы проложить трубы в кирпичной стене, в ней вырубают небольшой желобок (его глубина и ширина должны соответствовать размерам трубы). Трубу закрепляют хомутиками, а стену зашпатлевывают. Этот способ подходит только для труб с холодной водой; горячие трубы сушат штукатурку, и она начинает отваливаться. Трубы с горячей водой крепят к стене снаружи.

    Если стены бетонные, лучше установить трубы поверх стены, также прикрепив их хомутиками.

    Расстояние между закрепленными вертикальными трубами должно быть равно 3 м.

    Соединение систем отопления и водоснабжения

    Соединять трубы можно несколькими способами. Например, соединения труб с помощью муфт и короткой резьбы используются если нужно соединить длинную нитку водопровода. Причем надо помнить, что демонтаж в этом случае будет невозможен. Это объясняется особым видом резьбы – последние витки на ней имеют меньшую глубину, что обеспечивает надежное запирание.

    Этот вид соединения труб имеет свою последовательность выполнения. Сначала на резьбу одной трубы по часовой стрелке накладывают уплотнитель (ленту ФУМ, прядь и т. п.), причем первые витки оставляют без уплотнителя, чтобы проще было потом надевать муфту. После этого на уплотнитель с помощью трубного ключа накручивают муфту до ее заклинивания, а следующей ввинчивают вторую трубу.

    Как уже было сказано, демонтировать такое соединение без отрезания трубы будет невозможно (нельзя вращать один участок трубы относительно другого в собранном виде). Поэтому в целях профилактики протечек можно на резьбовое соединение поверх уплотнителя нанести слой масляной краски.

    Этой последовательности выполнения следует придерживаться при монтаже угольников и тройников.

    Например, для того чтобы соединить трубы на переходнике, сначала вставляют один конец трубы в переходник и затягивают гайку, сжимая уплотнительную прокладку. Ту же операцию проделывают и с другой трубой. Можно это делать одновременно, затягивая гайки гаечными ключами на 1,5 оборота. В отличие от вышеописанного соединения трубы на переходниках можно разобрать и снова собрать.

    Также при сборке трубопровода применяются сварные соединения, но для их выполнения лучше вызывать специалиста. А вот запаять можно и самостоятельно. Запаянные соединения получаются дешевле и прочнее.

    Чтобы соединить трубы с помощью запаивания, необходимо приобрести переходники с припоем. В этом случае будет достаточно вставить трубы в переходник и нагревать их горелкой до тех пор, пока с обоих концов переходника не покажется расплавленный припой.

    Особо надо остановиться на подключении к системе отопления радиаторов – излучающих элементов. Самым известным радиатором является обыкновенная чугунная батарея. Ее подключение проходит по особым правилам, которые необходимо знать. В первую очередь выворачивают заглушки. Радиатор вешают на стену, причем так, чтобы можно было ввернуть наружную резьбу втулки (сгоняемой с длинной резьбы подводящей трубы) как можно глубже в батарею. Если система отопления с верхней разводкой, то и отводящую, и подводящую трубы подключают с одной стороны радиатора. Если длина труб, подходящих к батарее, превышает 15 см, то между ними следует установить специальные стойки-распорки, которые крепят сваркой.

    Трубы после монтажа необходимо покрасить. Радиаторы красить нужно несколько иным способом, чем обычно. Еще не окрашенную батарею нужно сначала загрунтовать антикоррозийным грунтом и дать ему хорошо просохнуть. Потом можно приступать к окраске, причем лучше не пользоваться масляной краской, так как от нагрева она темнеет и, кроме того, выделяет летучие вещества.

    Специалисты рекомендуют в качестве окрашивающего состава использовать канифольный лак (смесь 3 частей скипидара и 2 частей канифоли).

    Кроме чугунных, выпускаются радиаторы алюминиевые (из двойного металла), представляющие собой двойной сердечник, гарантирующий прочность, и корпус из алюминия, который обладает высокой теплоотдачей.

    Радиаторы можно сделать различными по ширине и высоте; это возможно, потому что радиаторы набираются посекционно, также они могут иметь разную высоту. Это позволяет подбирать радиаторы соответственно площади помещения: в гостиную – высокий и широкий, а на кухню, где и так достаточно жарко, можно поставить небольшой излучающий элемент. Они выпускаются разных цветов, поэтому легко вписываются в любой интерьер.

    Качественно выполненная сборка обеспечит долговременную и надежную работу отопительной системы.

    Канализация

    Обеспечение санитарно-технических норм невозможно без оборудования в дачном доме системы канализации. Разумеется, на участке можно построить отдельно стоящий туалет, но гораздо удобнее оборудовать сантехникой жилой дом. Здесь приводятся основные сведения о системах канализации, санитарно-технических приборах, их установке, ремонте и уходе за ними.

    Выбор условий и схемы прокладки канализации

    Основным этапом проектирования канализации является составление схемы, то есть плана с нанесенными элементами канализации.

    При составлении схемы необходимо учитывать следу-ющие факторы:

    – конфигурация и размеры канализируемого объекта;

    – мощность и расположение близлежащих водоемов, которые могут служить местом сброса сточных вод после очистки;

    – рельеф местности;

    – грунт;

    – экономические, санитарные условия и др.

    Поскольку прокладывание канализации зависит от многих причин, то невозможно использовать какие-либо типовые схемы канализации, для каждого конкретного случая понадобится индивидуальный план прокладки труб и установки канализационных элементов.

    Система канализации состоит из следующих основных элементов: внутренние канализационные устройства и наружная канализационная сеть.

    Внутренние канализационные устройства применяются для приема сточных вод и удаления их за пределы жилого дома. Они состоят из приборов (раковин, умывальников, моек, ванн, унитазов, биде, писсуаров), из сети отводящих труб, стояков и выпусков до дворовой канализационной сети.

    Наружная канализационная сеть представляет собой сеть трубопроводов, транспортирующих сточные воды самотеком к уличной канализационной сети . Последняя соединяется с коллектором —участком канализационной сети, который принимает сточные воды из одного или нескольких уличных трубопроводов.

    Трубопровод, предназначенный для отведения очищенных сточных вод в водоем, называется выпуском.

    Организация водоотведения

    Основным требованием, предъявляемым к канализации, является обеспечение пропуска через канализационные сети и сооружения расчетного расхода сточных вод. Для того чтобы его определить, следует знать количество людей, проживающих в данном жилом доме.

    Норма водоотведения – это расход сточных вод (л/сут) на одного человека, пользующегося канализацией. Расход бытовых сточных вод зависит от числа проживающих в доме и пользующихся канализацией, и нормы водоотведения.

    Расчет сетей и сооружений

    Канализационную сеть рассчитывают на частичное наполнение труб. Самотечный режим течения с частичным наполнением сечения трубопроводов дает возможность:

    – создать небольшой резерв в сечении труб для пропуска расхода, превышающего расчетный;

    – создать лучшие условия для транспортировки взвешенных загрязнений;

    – обеспечить вентиляцию сети для удаления выделя-ющихся из сточной воды вредных и опасных газов.

    Температура бытовых сточных вод на выходе из здания составляет не меньше 7 °С даже в самое холодное время года. Этот фактор позволяет прокладывать канализационные трубы на глубине меньшей, чем глубина промерзания грунта.

    Глубину закладки канализационных труб нужно брать с таким расчетом, чтобы исключить возможность разрушения труб проезжающим автотранспортом. К примеру, керамиче-ские трубы, получившие в последнее время наибольшее распространение, могут повреждаться на глубине меньше 70 см.

    Если нет возможности заглубить канализационную сеть, то следует применять трубы из более прочного материала (например, железобетона).

    Максимальная глубина закладки трубопровода зависит от того, каким способом производят работы (открытым или закрытым), а также от особенностей грунта. При открытом способе глубина траншеи в сухом грунте должна составлять 7–8 м, во влажном – 5–6 м. При использовании закрытого способа прокладки (щитовая проходка) глубина заложения практически неограничена. Тем не менее стоимость строительства трубопроводов закрытым способом даже с применением современных технологий еще довольно значительна. В связи с этим глубину заложения канализационных труб следует ограничивать.

    При разработке плана укладки канализационных труб необходимо увязать расположение трубопроводов с расположением всевозможных подземных коммуникаций.

    Материалы и инструменты, применяемые при монтаже и ремонте канализации

    Перечень инструментов и материалов, необходимых для выполнения сантехнических и монтажных работ, тот же, что и для прокладки водопровода. Кроме того, могут понадобиться инструменты и материалы для текущего ремонта канализации.

    Виды канализационных труб

    Используемые для устройства канализационных сетей материалы должны иметь достаточную прочность, водонепроницаемость, устойчивость к коррозии и истиранию, гладкую поверхность во избежание засоров. Кроме этого, желательно, чтобы все эти материалы не были дорогими.

    Необходимыми качествами в большей степени обладают керамические, бетонные, железобетонные и асбестоцементные трубы (рис. 103), а также кирпич и железобетон, из которых строят коллекторы. Для прокладки канализации применяют также винипластовые и стеклянные трубы. Напорные трубопроводы выполняют из чугуна, стали и асбестоцемента.

    Рис. 103. Трубы, применяемые для строительства канализационных сетей: а – керамическая; б – бетонная; в – железобетонная фальцевая


    Для прокладки канализационных сетей используют трубы круглой, полукруглой, эллиптической, полуэллиптической, яйцевидной, прямоугольной, трапецеидальной и других форм (рис. 104). Наиболее распространенными являются трубы с круглой формой поперечного сечения. Это связано с тем, что они имеют наименьшие затраты при изготовлении, обладают хорошими гидравлическими характеристиками, а также рядом прекрасных технических и эксплуатационных качеств (например, сопротивление внешним нагрузкам, удобность и технологичность при укладке).

    Рис. 104. Поперечное сечение труб: а – круглое; б – полукруглое; в – полуэллиптическое; г – банкетное; д – яйцевидное; е – эллиптическое; ж – полукруглое с прямыми вставками; з – яйцевидное перевернутое; и – лотковое; к – пятиугольное


    Помимо этого, трубы круглого сечения довольно легко очищаются от образовавшегося осадка гидравлическим способом с использованием шаров и цилиндров.

    По мере того как увеличивается диаметр трубы круглого сечения, давление грунта и временной внешней нагрузки значительно возрастают. Для того чтобы снизить усилия в стенках труб, своду придают полуэллиптическое сечение. Иногда используют яйцевидную форму сечения, выдерживающую довольно высокие статические и динамические нагрузки, но имеющую и недостатки: нужна большая высота канала и глубина заложения , чем для труб круглого сечения при одинаковой пропускной способности. Кроме этого, в трубах эллиптического сечения намного быстрее образуется осадок, отлагающийся на стенках. В тех местностях, где имеются плывуны и грунт очень влажный, применяют трубы лотковой формы. Это позволяет прокладывать канализационные сети на меньшей глубине.

    Виды сантехнического оборудования

    К сантехническому оборудованию относятся раковины, унитазы, сливные бачки, краны, запорная арматура (вентили и задвижки), сифоны и другие устройства, которые не видны под декоративными панелями. Далее рассматриваются разные виды сантехники, от простых до более сложных.

    Сифоны

    Сифон – это одно из наиболее важных санитарно-технических устройств. Он предотвращает проникновение неприятных запахов из канализации в помещение. Иначе его называют водяным затвором. Сифоны бывают двух видов: двухоборотные и бутылочные (рис. 105). В настоящее время двухоборотные считаются устаревшими. Бутылочные сифоны наиболее распро-странены, потому что они изготавливаются из пластика, то есть удобны, компактны, легко монтируются, просты в обслуживании. Продаются они в комплекте со всеми соединительными элементами, резиновыми прокладками и уплотнителями. Бутылочные сифоны оснащены дополнительным патрубком, к которому можно подключить сливной шланг стиральной или посудомоечной машины автоматического типа.

    Рис. 105. Устройство сифонов: а – никелированного бутылочного; б – двухоборотного стального с ревизией


    Известно, что все термопласты при нагревании имеют большой коэффициент линейного расширения. Это свойство применительно к сифонам является преимуществом, потому что при их подключении к канализации не должно быть же-сткого соединения, а значит, не нужна заделка стыка. Выпуск сифона просто помещают в трубу, а изоляцией служит эластичная муфта. В связи с этим монтаж пластикового сифона занимает всего несколько минут, так как не нужно разводить цементный раствор для заделки стыка, зачеканивать раструб и т. п. Способ подключения такого сифона показан на рис. 106.

    Рис. 106. Внешний вид и схема подключения сифона из ПВХ: 1 – корпус сифона; 2 – отвод; 3 – угольник; 4 – раструб с изоляцией; 5 – канализационная труба


    Помимо сифонов из ПВХ, изготовляются бутылочные сифоны из стали. По своему внешнему виду они, конечно, значительно выигрывают по сравнению с пластиковыми, но монтаж стального сифона осуществить сложнее.

    Это происходит потому, что такой водяной затвор трудно подгонять по месту установки, а для укорочения стальной трубы нужна ножовка по металлу.

    Основным преимущест-вом любого бутылочного сифона является простота прочистки засорившейся трубы. Для выполнения этой операции достаточно открутить крышку (дно стакана) – и засор будет ликвидирован.

    Смывные бачки

    По своему расположению относительно унитаза смывные бачки делятся на две разновидности – низко расположенные и высоко расположенные.

    В настоящее время высоко расположенные смывные бачки практически не используют. Для этого существуют несколько причин. Например, смывной бачок такого типа труднее в обслуживании и ремонте, а также им не так удобно пользоваться, как низко расположенным.

    Смывной полуавтоматический бачок сифонирующего типа, расположенный высоко, состоит из чугунного корпуса, крышки, рычага, соединенного одним своим концом с гибким сифоном, а другим – с держкой.

    При опускании ручки держки сифон наклоняется, и через него вода попадает в смывную трубу. Сифонирует она до тех пор, пока вся не вытечет из бачка. После этого сифон встает на место, и бачок вновь заполняется водой. Поплавок с помощью рычага соединяется со штоком клапана. При его подъеме резиновая пробка прижимается и перекрывает поступление воды в бачок. Поплавковый клапан крепится к корпусу бачка гайкой.

    К водопроводу клапан подключают посредством соединительной муфты. Вода поступает в бачок через наполнительную трубу.

    Поплавковые клапаны (рис. 107), которые устанавливают в смывных бачках, должны отвечать следующим требованиям:

    – открываться с началом опорожнения бачка при давлении в водопроводе от 0,02 до 1 МПа и перекрывать поступление воды в бачок, когда он заполнится до заданного уровня. Помимо этого, он не должен допускать утечки воды через клапан в закрытом положении;

    – обеспечивать постоянный уровень воды в бачке при колебаниях давления в водопроводной сети, то есть повышение или понижение давления на 0,1 МПа не должно изменять положение уровня воды в бачке больше, чем на 4 мм.

    Рис. 107. Устройство поплавкового клапана: 1 – прижимная шайба; 2 – прокладка; 3 – седло; 4 – мембрана; 5 – стержень; 6 – рычаг поплавка; 7 – ось рычага


    Низко расположенные смывные бачки (рис. 108) изготавливают из фаянса, чугуна и пластика. Полуавтоматический керамический бачок состоит из корпуса с крышкой, спускного клапана, поплавкового клапана и спускной арматуры. В случае нажатия на ручку спускного рычага груша спускного клапана всплывает, а вода выливается через освободившееся отверстие в унитаз. Когда уровень воды в бачке понизится, груша опускается, ее засасывает в отверстие штуцера, и таким образом перекрывается доступ воды в унитаз. Одновременно с этим опускается поплавок, который открывает поплавковый клапан, дающий возможность воде поступать в бачок и наполнять его до заданного уровня.

    Рис. 108. Смывные бачки: а – низкорасположенный полуавтоматический; б – пластмассовый; 1 – корпус и крышка; 2 – ручка спускного рычага; 3 – перелив; 4 – спускной клапан; 5 – прокладка; 6 – поплавковый клапан; 7 – спускная арматура; 8 – стакан; 9 – решетка; 10 – центральная труба; 11 – колокол; 12 – спускная кнопка


    В бачке, изготовленном из пластмассы, смонтирована пластиковая спускная арматура с поршневым сифоном. Она состоит из стакана со дном в виде решетки, которое перекрывается мембраной из полиэтиленовой пленки, центральной трубы и установленного на ней колокола с поплавком. При нажатии на спусковую кнопку колокол опускается, заряжает сифон и приводит бачок в действие. Если в смывном бачке нет поплавкового клапана, то он считается более надежным в эксплуатации, в нем не бывает утечки воды и пр.

    Если бачок работает нормально, то он должен заполняться водой не менее чем на 80% в течение 2 минут после предыдущего выпуска воды из бачка (при давлении в сети от 0,05 до 1 МПа). Помимо этого, не должно быть подсоса воды из бачка в водопроводную сеть при образовании в ней вакуума, вода из бачка не должна вытекать после прекращения его действия. Смывной бачок должен срабатывать при однократном нажатии на спусковой рычаг. Бачки с поплавковыми клапанами имеют переливное устройство, обеспечивающее слив воды в унитаз с расходом воды не менее 0,3 л/с при превышении уровня воды в бачке над уровнем перелива на 15 мм.

    Унитазы

    Промышленностью выпускаются фаянсовые, полуфарфоровые и фарфоровые унитазы со смывными устройствами.

    По конструкции чаши унитазы бывают тарельчатыми и козырьковыми; в зависимости от типа выпуска их подразделяют на прямые и косые (под углом 60°). По расположению смывного бачка различают модели с высоко расположенным бачком и с устанавливаемым на полочке унитаза. В последнем случае соединение чаши унитаза со смывным бачком осуществляется с помощью резиновой манжеты.

    Иногда (но в очень редких случаях), если того требует дизайн ванной комнаты, смывной бачок устанавливается отдельно от унитаза. Полочка унитаза может быть отлита вместе с корпусом, а может изготавливаться и как отдельная деталь. Ее подсоединение также происходит с помощью резиновой манжеты.

    Тарельчатые унитазы бывают с прямым и косым выпуском, а козырьковые – только с косым. В конструкции унитаза предусмотрен гидравлический затвор, препятствующий проникновению неприятных запахов из канализации в помещение. Тарельчатые унитазы с прямым и косым выпуском (рис. 109) состоят из чаши, водораспределительного желоба, гидравлического затвора (сифона) с выпуском. Через горловину к унитазу присоединяется смывная труба от бачка.

    Рис. 109. Тарельчатые унитазы: а – с прямым выпуском; б – с косым выпуском; 1 – выпуск; 2 – чаша; 3 – горловина; 4 – водораспределительный желоб; 5 – гидравлический затвор; 6 – прилив основания унитаза; 7 – полочка


    В задней части унитаза имеется полочка с выполненными в ней двумя отверстиями, к которым крепится сиденье.

    В основании унитаза сделаны 4 отверстия для шурупов. С их помощью унитаз привинчивают к полу.

    В последнее время все большую популярность приобретают унитазы модели «Компакт» (рис. 110) с низкорасположенным смывным бачком, устанавливаемым на полочке унитаза. Этот образец прост в установке и обслуживании, а также очень гигиеничен. Пожалуй, это одно из важнейших свойств модели «Компакт», потому что гигиена в ванной и туалетной комнате крайне необходима.

    Рис. 110. Козырьковый унитаз «Компакт» с косым выпуском под углом 60°

    Внутренняя канализационная сеть в дачном доме

    Прокладку внутренних коммуникаций следует производить с высокой точностью и качеством, потому что от того, как она выполнена, в дальнейшем будут зависеть работа и срок службы этой сети.

    Монтаж внутренней канализационной сети

    Система канализации предназначена для удаления из дома всех загрязнений, образующихся в процессе санитарно-гигиенических процедур, а также хозяйственной деятельности человека. Помимо этого, на дачном участке часто устраивают канализацию для отведения талых и атмосферных вод.

    Если дачный дом подключен к системе водоснабжения, можно смонтировать сплавную канализацию. В этом случае загрязнения удаляются водой. Бытовая канализация отводит загрязненную воду, оставшуюся после мытья посуды и продуктов, стирки белья, санитарно-гигиенических процедур.

    Внутренняя канализационная сеть перемещает сточные воды из сантехнических приборов в стояк – вертикальный участок внутренней канализации, имеющий вывод в наружный канализационный трубопровод.

    Самым оптимальным материалом для прокладки внутренней канализации является пластик. Герметизация раструбных соединений пластиковых труб проста и не представляет особого труда благодаря применению уплотнительных резиновых колец.

    Кольцо устанавливают в желобке раструба, затем вставляют гладкий конец трубы, смоченный мыльным раствором для облегчения скольжения. Кроме того, современная промышленность производит огромное количество фитингов и соединительных частей, а это еще больше упрощает монтаж пластиковых канализационных труб.

    Если на конце трубы нет фаски, то лучше всего ее снять заранее, чтобы соединение было более герметичным. Когда метка на гладком конце трубы достигнет раструба, то соединение можно считать выполненным.

    Для того чтобы проверить, нет ли перекосов уплотнительного кольца, достаточно повернуть соединенные части относительно друг друга. Если они будут легко поворачиваться, то, стало быть, уплотнитель был уложен правильно.

    При выполнении отводов от умывальника или мойки используют трубы с просветом, составляющим 50 мм (минимальный просвет равен 30 мм). Стояк и отвод от унитаза должны иметь внутренний диаметр, равный 100 мм.

    Самое основное правило размещения внутренней канализационной сети – сгруппировать всю сантехнику вокруг стояка. Такой вариант дает возможность свести к минимуму горизонтальные участки трубопровода. Причин для этого несколько.

    Во-первых, горизонтальные участки чаще засоряются, во-вторых, скрыть в подполье горизонтальную трубу довольно большого диаметра не так-то просто. А если учесть, что необходимо соблюдать правильный уклон, то протягивать длинные нитки трубопровода практически по диагонали через балки и лаги очень сложно.

    В том случае, если планировка дома не позволяет сгруппировать все сантехприборы вокруг стояка, следует предусмотреть два вертикальных участка. Это лучше, чем прокладывать несколько горизонтальных трубопроводов к одному стояку.

    Чтобы в канализационной сети не было разряжения и обратного тока сточных вод, стояк не должен иметь глухого верхнего конца.

    Вертикальную трубу лучше всего вывести на чердак или даже на крышу, если дом с мансардой.

    Для того чтобы в случае засорения не возникало проблем с прочисткой, рекомендуется на каждом участке трубопровода монтировать отдельную ревизию.

    Если канализационную сеть монтируют из чугунных труб, то крепление горизонтальных участков, которые обычно располагаются ниже уровня пола, должно устанавливаться через каждые 2 м. Кронштейны могут опираться на стену (но это наименее предпочтительный вариант) или на кирпичные столбы-подпорки.

    Герметизацию стыков выполняют путем зачеканки 2/3 глубины раструба смоляным жгутом с последующей заливкой оставшейся 1/3 цементным раствором (9 частей цемента марки 300 на 1 часть воды). Цемент можно заменить асбестоцементной смесью (1 часть асбестового волокна на 2 части цемента марки не ниже 400), которую перед употреблением следует разбавить водой – около 1/10 массовой части. Процесс выполнения герметизации стыков канализационных труб показан на рис. 111.

    Рис. 111. Заделка стыков канализационных труб: а – навивка уплотнения; б – трамбовка уплотнения; в – заливка раструба асбоцементным раствором


    Однако можно избежать утомительной и довольно трудоемкой зачеканки уплотнителя. Для этого следует загерметизировать раструбы водонепроницаемым расширяющимся цементом. Он быстро отвердевает, расширяясь и самоуплотняясь, а потому надежно закрывает стык. В данном случае смоляная прядь не понадобится.

    Установка сантехнических приборов

    Нормальное функционирование санитарно-технического оборудования во многом зависит от правильной его установки. Ниже подробно описан процесс монтажа унитазов, моек, раковин и пр.

    Установка унитазов

    Унитазы устанавливают на бетонные или плиточные полы и закрепляют с помощью дюбелей, шурупов или приклеивают. Между полом и унитазом кладут листовую резину, в которой вырезано отверстие для прямого выпуска унитаза. Существует еще один вариант крепления унитаза: его привинчивают к тафте (деревянная доска с отверстием для раструба), вмурованной в бетон.

    Монтаж унитаза производят следующим образом. Выпускной отросток с наружными канавками смазывают суриком, изготовленным на основе олифы, потом туго наматывают смоляную прядь. При выполнении данной операции прядь не доводят до конца отростка на 3–4 мм, чтобы ее концы не попали в отверстие отростка и не стали причиной засорения трубы.

    После этого прядь сверху смазывают суриком и устанавливают унитаз так, чтобы его выпускной отросток зашел в раструб. Следует проконтролировать правильность установки унитаза и только потом прикрутить его шурупами. Их нужно завинчивать аккуратно во избежание сколов у края отверстия под шурупы. Для того чтобы впоследствии можно было легко демонтировать старый унитаз, нужно шурупы перед за-кручиванием смазать тавотом, а под головку каждого шурупа подложить кусочек кожи или резины и металлическую шайбу.

    Высоко расположенный смывной бачок навешивают до того, как будет установлен унитаз. Крепят его на два шурупа, которые фиксируют на стене в дюбелях так, чтобы бачок имел строго горизонтальное положение. Перед тем как установить бачок на стену, к нему на полу присоединяют смывную трубу диаметром 32 мм. Другой ее конец обмазывают суриком и оборачивают льняной прядью, которую сверху также промазывают суриком. На конец трубы надевают резиновую манжету, привязав ее тонкой проволокой. Процесс установки унитаза с высоко расположенным смывным бачком показан на рис. 112.

    Рис. 112. Тарельчатый унитаз с косым выпуском и высоко расположенным смывным бачком: 1 – гидроизоляция; 2 – дюбель; 3 – водопроводная труба; 4 – вентиль; 5 – шуруп


    Cиденье прикрепляют к унитазу с помощью болтов.

    На нижней стороне сиденья навинчены резиновые буферки, которые призваны предохранять унитаз от повреждений при падении сиденья.

    Если устанавливают тарельчатый унитаз с прямым выпуском, то при монтаже выпуск соединяют непосредственно с раструбом отводной трубы, выведенной заподлицо с полом.

    На рис. 113 показан монтаж тарельчатого унитаза с косым выпуском под углом в 30° и удлиненной полочкой, которая соединена со смывным бачком «Компакт».

    Рис. 113. Установка тарельчатого унитаза с низко располагаемым смывным бачком


    Смывной бачок закрепляют на удлиненной полочке с помощью двух болтов. К унитазу прикрепляют специальную арматуру для сиденья. Унитазы с косым выпуском под углом в 30° подключают к канализационной сети двумя способами.

    В первом случае унитаз присоединяют к двухплоскостному тройнику, являющемуся частью канализационного стояка.

    Второй способ заключается в том, что унитаз подсоединяют к канализации посредством переходного тройника, являющегося частью отводной линии. В этом случае унитаз монтируют с откосом от канализационного стояка.

    Унитаз можно устанавливать, прокладывая отводную трубу над полом, открыто или в плинтусе.

    Чтобы приклеить унитаз к полу, используют эпоксидный клей. Его наносят на опорную поверхность унитаза в четырех местах по углам с таким расчетом, чтобы общая приклеиваемая площадь составила не менее 20 см2. Толщина клеевого слоя должна быть равна 4–5 мм. После этого унитаз устанавливают на пол и плотно прижимают. Для того чтобы клей высох и унитаз прочно приклеился, должно пройти примерно 10–12 часов.

    Поверхность для установки унитаза готовят с помощью электроинструмента. В процессе обработки на поверхности образуются шероховатости, которые наносят корундом. Это нужно для лучшего склеивания поверхностей и быстрого схватывания клея.

    При применении эпоксидного клея следует помнить несколько правил техники безопасности: в помещениях, где применяется эпоксидный клей, нельзя хранить и принимать пищу, при работе с составом необходимо пользоваться защитной пастой для рук ПЭР-1, резиновыми перчатками или рукавицами КР.

    При попадании на кожу отвердителя или готового клея пораженное место срочно нужно протереть ацетоном, а затем промыть чистой теплой водой. По окончании работы, а также во время перерыва следует вымыть руки теплой водой с мылом.

    Установка раковин

    Если раковина имеет двухоборотный сифон-ревизию, то его верхний край должен быть установлен на высоте 645 мм от пола. В этом случае отводную трубу прокладывают над полом, а раковину крепят к стене шурупами.

    Предварительно производят разметку отверстий для ее крепления, потом их высверливают и вставляют дюбели (если стены каменные или кирпичные). Выпуск раковины обматывают смоляной прядью и вставляют его в сифон на суриковой замазке. После этого крепят раковину к стене и снимают лишнюю замазку. Если у раковины отдельная спинка, то ее прикрепляют к стене после установки чаши раковины. Воду к раковине можно подвести сверху, снизу или сбоку.

    Установка умывальников

    Керамические умывальники монтируют на чугунных кронштейнах, прикрепленных к стене шурупами.

    Кронштейны крепят к стене следующим образом. Сначала на стене намечают места для отверстий под крепления кронштейнов, затем просверливают отверстия, в которые вставляют дюбели или трубки ПВХ. После этого устанавливают кронштейны, проверяют их с помощью уровня и закрепляют шурупами.

    При монтаже умывальника основное внимание следует обратить на то, чтобы верхний выступающий штифт кронштейна входил в отверстие нижней плоскости борта умывальника. Общий вид монтажа умывальника с двухоборотным сифоном и скрытой прокладкой водопроводных и канализационных труб над полом дан на рис. 114.

    Рис. 114. Установка умывальника со спинкой без перелива и с сифоном-ревизией: 1 – отводная труба над железобетонной плитой перекрытия; 2 – отводная труба к канализационному стояку; 3 – гидроизоляция


    Умывальник подключают к сифону с помощью металлического выпуска диаметром 32 мм. При выполнении монтажа выпуска во избежание поломки умывальника при завинчивании гаек под верхнее кольцо следует подложить резиновые прокладки. Если устанавливают умывальник с сифоном-ревизией, то выпуск подсоединяют к патрубку длиной 110 мм. На одном его конце нарезана резьба, а другой разбортован под размер сифона. Затем на патрубок навинчивают муфту. Разбортованный конец патрубка, обмотанный смоляной прядью и покрытый сверху замазкой, вставляют в сифон и одновременно с этим устанавливают умывальник на кронштейны.

    При установке умывальников в зависимости от типа арматуры пробивают одно, два или три отверстия в наколах, имеющихся на нижней стороне задней полочки. Эти наколы имеют размеры 28 х 28 мм и глубину, составляющую 3/4 общей толщины полочки.

    Установка распылителя воды

    Распылитель, предназначенный для мытья посуды, овощей и фруктов, подключают точно так же, как и водопроводную трубу, к вентилю. Вентили, конечно, значительно различаются по принципу работы. Следовательно, нужно с самого начала иметь точное представление о том, какие функции вентиль будет выполнять.

    Для сдвоенной мойки используют смеситель с управляющим рычагом. Такие смесители открывают, закрывают, регулируют подачу воды нужной температуры до тех пор, пока рука находится на рычаге. Как только рычаг отпускается, подача воды автоматически прекращается. В распылитель по одному общему шлангу поступает вода уже отрегулированной температуры. Схема установки распылителя на кухонную мойку показана на рис. 115.

    Рис. 115. Установка распылителя на кухонную мойку: 1 – подвод холодной воды; 2 – подвод горячей воды; 3 – подключение шланга для распылителя; 4 – смеситель с управляющим рычагом; 5 – распылитель; 6 – перелив мойки; 7 – сифон; 8 – труба слива грязной воды; 9 – шланг распылителя


    Перед установкой распылителя в чаше мойки следует подготовить второе отверстие для распылителя. Расстояние этого отверстия от смесителя может быть произвольным. Разметку выполняют с помощью циркуля, а затем зубилом пробивают сквозное отверстие, после чего узким ножовочным полотном выпиливают круг. Края зачищают напильником и обрабатывают наждачной бумагой.

    Распылитель закрепляют на мойке точно так же, как и смеситель. На отвод смесителя надевают шланг распылителя через адаптер. После проверки герметичности соединения шланга со смесителем можно включать воду.

    Особенности устройства канализации на дачном участке

    Как правило, за городом в настоящее время большинство людей строят коттеджи. Современный коттедж – это просторный благоустроенный дом для постоянного проживания. А значит, сантехнические работы здесь проводятся в полном объеме.

    Дачный дом – это обычно отдельно стоящее строение, то есть дом на земле. Если он подсоединен ко всем коммуникациям, то установка сантехнического оборудования ничем не будет отличаться от подобных работ в городской квартире. Если центральной канализационной сети в дачном поселке нет, необходимо будет решить проблему отвода сточных вод, то есть устроить на участке сливную яму, так называемую яму-шамбо.

    Яма-шамбо

    Сливную яму устраивают или непосредственно во дворе частного дома (если имеется возможность для въезда специальной ассенизационной техники), или на улице, ближе к проезжей части. Сначала роют яму глубиной примерно 3–4 и диаметром 1,5–2 м. Размеры ямы зависят от того, каким образом она будет отделана внутри. Ее можно выложить кирпичом, а также бетонными кольцами или забетонировать. Если имеется большая емкость (металлическая или бетонная), можно зарыть ее в землю. В этом случае размеры сливной ямы зависят от объема емкости.

    Содержимое ямы время от времени выкачивают и отвозят в специально отведенные для этих целей места ассенизационные машины. Таким образом, по своей сути это не что иное, как вывозная канализация.

    Проложив канализационные трубы внутри дома, их подключают к стояку, который выводят наружу. К наружному концу стояка подключают канализационную трубу, выведенную непосредственно в сливную яму-шамбо.

    Прокладка канализационной сети при отсутствии естественного слива

    Порой возникают такие ситуации, когда необходимо установить унитаз и умывальник, но при этом естественного слива в канализацию не имеется (например, сантехническое оборудование планируется установить в подвальном помещении).

    Решается такая проблема довольно просто. Сейчас промышленность выпускает для этих целей малогабаритные откачивающие установки. Для примера рассмотрим установку КН 32-0,4. Такой агрегат, как, впрочем, и все остальные подобного класса, готов к подключению непосредственно к унитазу с горизонтальным выходным патрубком.

    Установку монтируют непосредственно за унитазом и соединяют напрямую с помощью уплотнительной манжеты. Через вход от унитаза фекальные массы поступают в установку, размельчаются и перекачиваются в трубу, а потом в канализационный стояк. Высота, на которую агрегат подает сточные воды для слива в канализационную трубу, составляет 6,5 м. Кроме этого, в установке существует еще два ввода: для грязной воды из ванны и умывальника.

    Все стоки выводятся через один патрубок, а через другой из установки удаляется очищенный воздух. Второй патрубок подключают к вентиляции или через свободную циркуляцию в туалете. Очищенный воздух выходит через вентиляционное отверстие.

    Установка КН 32-0,4 предназначена только для одного унитаза и приема сточных вод от двух дополнительных санитарно-технических приборов.

    Особенности прокладки канализационной сети вблизи дорог, тротуаров, газопроводов и других коммуникаций

    Порой при укладке канализационных труб приходится сталкиваться с такой проблемой, как их пересечение с автомобильными дорогами, тротуарами, трубопроводами другого назначения и пр.

    Пример рационального размещения канализации и других сетей подземных коммуникаций в поперечном сечении проезда показан на рис. 116.

    Рис. 116. Схема рационального размещения подземных коммуникаций вдоль дорог


    Крупные канализационные сети прокладываются через овраги, проезжую часть, тротуары и прочие препятствия в виде дюкеров, эстакад и переходов. Но в дачном поселке этого, конечно, нет. Каждый хозяин, устраивающий канализацию от своего дома, поступает следующим образом. Сначала необходимо вырыть траншею глубиной 1,5–2 и шириной 1,5 м. Если предполагается укладывать в траншею пластиковые трубы, то их следует поместить в металлический кожух во избежание механических повреждений. Чугунные, керамические и асбестоцементные трубы можно укладывать в траншею без защитного кожуха. После этого подключают их либо к центральному коллектору городской канализационной сети, либо опускают конец трубы в сливную яму.

    Если на пути прокладки канализационных труб встречаются трубопроводы другого назначения, то, прежде чем копать траншею, следует согласовать эти действия с соответствующими инстанциями, то есть получить от них разрешение и схемы расположения коммуникаций.

    Устройство дождевой (ливневой) канализации

    Кроме того, что дождевые и талые воды попадают в ливневую канализацию с поверхности почвы, они еще отводятся с крыш домов. Такие водостоки называются внутренними.

    В домах внутренние водостоки отводят дождевую и талую воду с кровли по трубопроводам, расположенным внутри здания. Из них вода попадает в наружные сети дождевой канализации (закрытый выпуск) или на тротуары (открытый выпуск).

    Водостоки устраивают из напорных асбестоцементных, стальных и пластмассовых труб. При наличии вибрационных нагрузок используют стальные трубы. Водосточные воронки бывают нескольких видов (рис. 117). Они состоят из корпуса, устанавливаемого в перекрытии, рамы, решетки (колпака) для задержания мусора. Воронку герметично соединяют с кровлей для того, чтобы влага не просачивалась и не вредила перекрытиям. Слой гидроизоляции с помощью болтов фиксируется между корпусом и рамой и заливается мастикой. Используются водосточные воронки диаметром 80, 100, 150 и 200 мм.

    Рис. 117. Водосточные воронки: а – плоские воронки с решетками; б, в – колпаковые воронки; 1 – решетка; 2 – рама; 3 – корпус; 4 – струевыпрямитель; 5 – колпак


    Воронки с решетками устанавливают на плоских кровлях, воронки с колпаками – на скатных и плоских. Для того чтобы увеличить пропускную способность водосточных воронок, применяют струевыпрямители, которые не дают образовываться завихрениям у края воронки и препятствуют сужению проходного сечения.

    Отводные трубы, которые соединяют несколько водосточных воронок, монтируют в виде подвесных трубопроводов. В стояки отводится атмосферная влага от воронок или отводных труб.

    Водосточные воронки устанавливают на определенном расстоянии друг от друга с учетом рельефа кровли, конструкции здания, расчетной площади водосбора. Как правило, воронки располагают в рядах колонн, на границе отдельных пролетов, в наиболее низких местах перелома профиля крыши или разжелобка. В местах деформационных швов воронки устанавливают по обе стороны шва. На кровле должен быть выполнен уклон в 0,01–0,015° к водосточным воронкам так, чтобы на крыше не было мест, где будет скапливаться вода.

    Трассировка дождевой канализации аналогична принципам трассирования бытовой канализационной сети.

    Атмосферные и талые воды поступают в закрытую водосточную сеть через дождеприемники (рис. 118), которые представляют собой колодцы, закрытые решеткой. Они бывают круглой или прямоугольной формы. Дно такого колодца имеет плавные очертания, без приямка для осадка. Канава должна присоединяться к закрытой сети через колодец с отстойной частью. Дождеприемники устраивают обычно на перекрестках со стороны притока поверхностных вод, на затяжных участках спусков или подъемов, в пониженных местах при пилообразном профиле лотков улиц.

    Рис. 118. Железобетонный дождеприемник: 1 – тротуар; 2 – решетка; 3 – соединительный трубопровод

    Ремонтные и профилактические работы в канализационной сети

    Своими силами стоит исправлять только мелкие поломки канализации и сантехнического оборудования. Для устранения более крупных аварий нужно вызывать профессионалов.

    Для различных санитарно-технических устройств существуют свои предельные сроки эксплуатации, которые приведены ниже:

    – умывальники керамические – 20 лет;

    – умывальники и душевые поддоны пластиковые – 30 лет;

    – унитазы и смывные бачки керамические – 20 лет;

    – смывные бачки чугунные высокорасположенные – 20 лет;

    – унитазы и смывные бачки пластмассовые – 30 лет;

    – туалетные (смывные) и водозаборные краны – 10 лет;

    – задвижки и вентили чугунные – 15 лет;

    – вентили латунные – 20 лет;

    – смесители – 15 лет;

    – мойки кухонные и раковины чугунные эмалированные – 30 лет;

    – мойки кухонные и раковины стальные эмалированные – 15 лет;

    – мойки кухонные и раковины из нержавеющей стали – 20 лет.

    Конечно, эти сроки расчетные, поэтому они могут быть как длиннее, так и короче. Это зависит от условий эксплуатации.

    Ремонт стальных труб

    Стальные трубы, как правило, выходят из строя по причине повреждения ржавчиной. В результате так называемой точечной коррозии на трубах образуются свищи. Для того чтобы избавиться от таких повреждений, нужно выполнить следующие операции.

    Вентилем перекрывают поступление воды в трубопровод. Затем с помощью керна или дрели расширяют образовавшийся свищ. После этого метчиком нарезают резьбу и в подготовленное отверстие ввинчивают болт.

    Иногда свищ имеет овальную форму. В этом случае вышеописанный способ ремонта не подходит. Выйти из положения можно, наложив временный бандаж с резиновыми уплотнительными прокладками. С одной или с двух сторон бандаж стягивают болтами, а можно то же самое сделать с помощью хомутов (рис. 119, а).

    Рис. 119. Ремонт стальной трубы: а – с помощью хомута; б – клеевое бандажное соединение


    Кроме этого, повреждения на трубе можно устранить путем наложения клеевого бандажного соединения. Основой такого бандажа послужит стеклоткань, пропитанная эпоксидным клеем. С помощью данного соединения можно скреплять между собой трубы стык в стык (рис. 119, б).

    Операция по ремонту выполняется таким образом. Стеклоткань разрезают на полосы (их длина и ширина зависят от диаметра трубы и размера повреждения). При этом нужно учитывать длину полосы: она должна примерно 6 раз наматываться на трубу. Ширина полосы должна быть больше диаметра трубы на 30–40%.

    Чтобы на краях стеклоткани не образовывалась бахрома, кромки разрезов промазывают клеем БФ-2. После этого полосу стеклоткани пропитывают эпоксидным клеем.

    Если производится склеивание труб, то сначала их поверхность следует очистить от грязи и ржавчины с помощью металлической щетки, шлифовальной бумаги, напильника. После этого торцы труб протирают ацетоном или бензином и дают просохнуть в течение 15 минут.

    Следующий этап – это фиксация труб. Они должны быть неподвижными в течение всего времени отвердевания бандажного соединения. Затем на трубы наматывают полосу стеклоткани, пропитанной эпоксидным клеем. Намотку следует выполнять с натягом и без перекосов. Середина наматываемой полосы должна приходиться на место повреждения или стыка. Поверх бандажного соединения закрепляется металличе-ская лента. После этого трубы оставляют до полного затвердевания клея. При температуре 20–25 °С отвердение наступит через 2 суток, при 5–15 °С – примерно через 4 суток.

    Ремонт чугунных труб и раструбов

    При ремонте раструбов чугунных канализационных труб используют асбестоцементную смесь, цемент и серу.

    Если для заделки раструба берут асбестоцементную смесь, то в раструб предварительно вкладывают пеньковую прядь. Прядь сначала промазывают смолой и скручивают в жгут, толщина которого должна быть немного больше, чем ширина раструбной щели.

    Уложенный жгут уплотняют в зазоре раструба с помощью конопатки и молотка. При этом прядь не должна доходить до конца раструба на 30 мм.

    Асбестоцементную смесь готовят следующим образом. Портландцемент марки не ниже 400 (70% по массе) и асбестовое молоко не ниже 4-го сорта (30% по массе) хорошо перемешивают. Примерно за полчаса перед использованием эту смесь увлажняют, добавляя 10–12% воды от всей массы сухой смеси.

    Можно производить заделку раструбов, используя водонепроницаемый расширяющийся цемент. Так же как и в первом случае, раструб предварительно конопатят. На этот раз особое внимание следует обратить на центровку труб, так как от этого зависит прочность заделки шва. Количество цементного раствора должно быть таким, чтобы его можно было использовать в течение 3–5 минут. Вода требуется в объеме 55–65% от всей массы цемента.

    Третий способ заделки осуществляется с помощью расплавленной серы. Конопатку стыка производят вышеуказанным способом. После этого серу размельчают и нагревают в электропечи до температуры 130–135 °С. При заливке серы раструб должен располагаться вертикально. Для получения заделки высокого качества серу следует заливать в один прием, не прерывая струи.

    В том случае, когда трубопровод поврежден на горизонтальном участке, хорошим материалом для ремонта будет мятая глина. Сначала в раструб вводят пеньковую прядь нужной толщины, потом его обмазывают глиной, оставив небольшое отверстие, через которое можно вытащить прядь. Когда глина высохнет, в раструб заливают серу. При выполнении данной операции следует соблюдать осторожность, так как нагретая сера легко расплескивается, что может привести к химическому ожогу.

    Ремонт керамических и асбестоцементных труб

    Керамические и асбестоцементные трубы очень похожи, хотя и изготовлены из разного материала. Их раструбные соединения аналогичны тем, которые выполнены из чугуна.

    Зазоры между внутренней поверхностью раструбов и наружной поверхностью ровных концов труб заделывают на 2/3 просмоленным жгутом из пеньковых или льняных прядей, а оставшуюся 1/3 – цементным раствором или асбестоцементной смесью.

    Иногда вместо этих растворов применяют мастику, состоящую из асфальтовой мастики (6 весовых частей)и нефтяного битума БН-111 (4 весовые части).

    Непосредственно перед заделкой зазора раствор подогревают до жидкотекучего состояния. При заделке вертикальных соединений мастику просто заливают в зазор. Если же соединение расположено горизонтально или наклонно, то зазор по всей окружности закрывают глиняным валиком, в верхней части которого оставляют небольшое отверстие (так называемый литник). В него ставят воронку и заливают мастику.

    Для этой же цели можно применять специальный металлический хомут. Чтобы к нему не прилипала мастика и его можно было легко удалить после застывания раствора, хомут обмазывают глиняным тестом.

    Ремонт пластиковых труб

    Ремонт пластиковых труб имеет свои особенности, так как они плохо переносят сильные сдавливания и удары.

    Для склеивания пластиковых труб можно воспользоваться самодельным клеем, приготовленным на основе растворенных в ацетоне целлулоидных опилок. Такой клей очень быстро высыхает и образует довольно прочный водостойкий шов. Способ приготовления клея очень прост: 1 часть нитроцеллюлозы растворяют в 2,5–3 частях ацетона или грушевой эссенции (амилацетате). Лучше всего готовить клей в той же емкости, в которой он затем будет храниться. Время от времени флакон нужно встряхивать. Для склеивания труб и фа-сонных частей из ПВХ используют следующие клеи: «Марс», МЦ-1 и Ц-1. Но лучше всего для этих целей подходят специальные клеи «Виникс» и «Винилит».

    Альтернативой склеиванию является сварка пластиковых труб. Для того чтобы трубы из ПВХ были прочно скреплены, нужно поднести к месту соединения нагретый до темно-вишневого цвета гвоздь или лезвия старого столового ножа. Можно подержать соединяемые концы труб над пламенем газовой плиты. Как только на них появится прозрачный слой, их надо быстро соединить и дать им остыть.

    Борьба с засорами

    Борьбу с засором следует начинать с применения вантуза. Его подносят к отводному отверстию и быстро нажимают на рукоятку, чтобы протолкнуть воду под давлением через корпус-сифон и отводную трубу. При этом возникнут вакуум и давление, которое будут способствовать скорейшей ликвидации засора.

    Бывают случаи, когда вантуз не помогает. Тогда для прочистки используют гибкий тросик. Одной рукой нужно проталкивать тросик в отверстие, а другой вращать рукоятку.

    Но если даже самый длинный из имеющихся в доме тросиков не достает до места засора, а уровень нечистот в унитазе все время продолжает повышаться, тогда нужно срочно разбирать ревизию на стояке или в углу санузла.

    Для прочистки водяных затворов используют специальные препараты типа «Крот» и «Тирет», а также их аналоги.

    В том случае, если в санузле предусмотрен объединенный гидравлический затвор, то сифоны унитаза, умывальника и ванны можно прочистить через него.

    Если забился сифон кухонной мойки, то его следует прочищать немедленно, потому что жир и частицы пищевых отходов, осаждаясь в нем, почти мгновенно образуют пробку. Бутылочный сифон можно прокачать вантузом или просто открутить крышку-отстойник и промыть его (при этом нужно следить, чтобы не выпала резиновая прокладка), а стальной или чугунный двухоборотный сифон, засорившийся всерьез и надолго, лучше пробивать тросиком. Если не поможет тросик, то придется откручивать ревизию.

    При прочистке раковин и моек применяют метод «кран—водосток». Он заключается в том, что на кран смесителя надевают один конец шланга, а другой вставляют в водосток и пускают горячую воду. Бывает, что такой способ помогает, если засор располагается после сифона. Если засор находится в спускной трубе, то через сифон, даже открытый, его удалить бывает довольно сложно.

    Если установлен пластиковый бутылочный сифон, то его можно быстро и легко снять, чтобы получить доступ к спускной трубе. Для этого нужно ослабить накидную гайку на соединительной трубе, снять сифон с раковины и разобрать гибкую изоляцию выпуска сифона и спускной трубы. После этого трубу прочищают тросиком.

    Засоры, образовавшиеся в бутылочных пластиковых, а также бутылочных латунных и хромированных сифонах, прочищать с помощью тросика запрещено. Если вантуз не помогает, то необходимо открутить отстойники, в крайнем случае промыть сифоны со снятыми отстойниками горячей водой, подставив снизу ведро.

    Воду нужно использовать горячую, но не кипяток, потому что сифоны изготовлены из ПВХ, и для их эксплуатации имеются температурные ограничения. Оптимальным вариантом будет вода температурой примерно 50 °.

    С добавленным в нее моющим средством. Этот состав растворит жир и смоет весь засор.

    Для того чтобы очистить от наслоений чугунные и стальные сифоны, иногда используют раствор каустической соды, который готовят так: 1 столовую ложку соды смешивают с 1 литром горячей воды. При выполнении этой работы нужно быть предельно осторожным, потому что каустическая сода может вызвать химический ожог кожи. Еще одно средство растворения жиров и наслоений – раствор тринатрийфосфата (кальцинированной соды). Этот состав готовят так же, как и смесь с каустической содой. После окончания прочистки необходимо промыть раковину, умывальник, ванну горячей водой.

    Устранение неприятных запахов

    Если в помещении появился неприятный запах, то следует проверить стыки канализационных труб, ревизии канализационных стояков и гидрозатворы.

    Одной из причин появления неприятного запаха может стать отсутствие воды в гидрозатворе. Такое может произойти по двум причинам: либо испарилась вода, либо сорвался гидрозатвор. Испарение воды бывает в том случае, когда санитарно-техническим прибором не пользовались длительное время. Для того чтобы предотвратить подобную ситуацию, в гидрозатворы сантехнических приборов следует налить немного машинного масла или любой другой слабо испаряющейся жидкости.

    В случае срыва гидрозатвора из него в стояк отсасывается вода. Причина неполадок заключается в образовании вакуума в стояке при продвижении по нему больших объемов воды. Срыв может возникнуть и при больших длинах и уклонах подводок к санитарным приборам, когда при сбросе воды из заполненного прибора резко понижается давление в трубах, и гидрозатвор с трубопроводом начинают работать по принципу сифона. Происходит так называемое самосифонирование. Громкие хлюпающие звуки, доносящиеся из гидрозатвора, свидетельствуют о том, что он может быть сорван.

    Еще одной причиной срыва гидрозатвора может стать нарушение вентиляции канализационной сети. Это происходит при попадании в нее посторонних предметов с крыши или в зимнее время, когда стояк обмерзает. Чтобы предотвратить обмерзание стояка, нужно его вытяжную часть на плоской кровле уменьшить до 200 мм. На скатных кровлях вытяжная часть должна иметь высоту 350–400 мм. Иногда бутылочные полиэтиленовые сифоны изготавливаются с дефектами, то есть у них бывает укороченная перегородка. Из-за этого водяной затвор в сифоне небольшой и отсасывается при сливании воды в умывальник. В связи с этим, запахи проникают из стояка в помещение. Такие сифоны не подлежат ремонту: их нужно только заменять.

    Кроме этого, запахи могут возникать в подвале дома, где испаряется вода в гидрозатворах кранов, которыми редко пользуются.

    Ремонт запорной арматуры и санитарно-технических приборов

    В процессе эксплуатации сантехнического оборудования периодически возникают неполадки, которые можно устранить самостоятельно.

    Ремонт кранов

    Основными неисправностями водопроводных кранов являются износ уплотнительной прокладки, набивка сальника, сработанность резьбы шпинделя.

    Наиболее часто выходящая из строя деталь крана – прокладка. Она должна быть упругой, чтобы надежно запирать седло клапана, и в то же время эластичной и прочной.

    В воде нередко присутствуют инородные тела, которые проникают между прокладкой и гнездом клапана. Поэтому при слишком сильном закручивании крана легко испортить прокладку.

    Прокладка изнашивается довольно быстро, но конструкция клапана обычно позволяет легко заменить ее и надежно зафиксировать.

    Прокладки, изготовленные на заводе, имеют определенные размеры в зависимости от диаметров кранов.

    При замене прокладки вывинчивают головку крана в сборе и, сняв с выступа шпинделя клапан вместе с изношенной прокладкой, ставят новую. Следует помнить, что перед починкой крана нужно перекрыть воду контрольным вентилем и открутить маховик.

    Гораздо сложнее заменить прокладки, закрепленные шайбой и гайкой, так как в результате коррозии гайка может срастись с железной шайбой и со стальной резьбовой шпилькой.

    Если это произошло необходимо поменять шток и железную или латунную гайку на стальную никелированную. Это позволит в дальнейшем предотвратить образование ржавчины.

    Просачивающаяся по штоку вода указывает на уплотнение сальника или недостаточную набивку. В этом случае необходимо слегка затянуть накидную гайку, чтобы уплотнить набивку сальника.

    Ремонт вентиля

    Вентиль должен постоянно находиться в исправном состоянии, запираться герметично и надежно.

    Особое внимание следует обратить на состояние прокладки вентиля, клапан которого не имеет заглубления и ребро не защищено от давления воды.

    Прокладку крепят к клапану с помощью гайки и шпильки с резьбой, что придает ей дополнительную жесткость.

    Заготовку из технической резины (предварительно сделав прокол по центру будущей прокладки) помещают на шпильку клапана и закрепляют (рис. 120).

    Рис. 120. Замена прокладки в вентиле: а – перекрытие вентиля на трубопроводе; б – выворачивание части вентиля; в – замена резиновой прокладки; г – намотка пряди уплотнения


    Сальник вентиля должен быть плотно набит, чтобы предотвратить протекание воды по штокам. При обнаружении течи необходимо предпринять те же меры, что и при ремонте крана.

    При этом сначала закручивают накидную гайку, чтобы поджать набивку. Если это не помогло, набивку добавляют.

    Для этого закручивают маховик до предела, открывают кран, установленный после вентиля, и начинают набивку сальника.

    Открутив накидную гайку, снимают маховик (шток при этом должен быть неподвижным) и укладывают уплотнитель в зазор между корпусом и штоком. Для утрамбовки уплотнителя можно воспользоваться отверткой.

    Ремонт смесителей

    Смеситель представляет собой санитарно-техническое устройство, состоящее из узлов, которые аналогичны рабочим узлам крана. Иными словами, это головка крана в сборе с маховиком, штоком, шпинделем и клапаном, а также седло клапана в корпусе смесителя.

    Разница между краном и смесителем состоит только в том, что головок в смесителе две, а в кране одна. Следовательно, ремонт и обслуживание смесителя практически ничем не отличаются от ремонтно-профилактических работ, производимых с кранами и описанных выше. Конечно, для смесителя проводятся и свои специфические профилактические и ремонтные работы (например, устранение подтекания из-под накидной гайки поворотного излива или проблем с его фиксацией). Благодаря тому что смеситель обладает несложным устройством, нарушения в работе этого узла легко поддаются ремонту. Появление течи возможно только по одной причине – из-за нарушения целостности кольцевой резиновой прокладки или разжимного кольца.

    Сначала отворачивают накидную гайку, проводят визуальный контроль узла и стараются определить характер неисправности. Если вышел из строя кольцевой уплотнитель, то его вполне можно заменить с помощью подмотки нескольких витков уплотнительного материала в кольцевую канавку.

    Если уплотнитель заводского изготовления пришел в негодность, то можно сделать его самостоятельно, вырезав из куска резиновой трубки подходящего диаметра.

    Разжимное пластмассовое кольцо заменяют самодельным, изготовленным из медной проволоки: служить оно будет нисколько не хуже, чем фирменное, и надежно зафиксирует трубку излива в месте крепления.

    Для проверки состояния уплотнителей нужно разбирать практически весь смеситель, и если прокладки пришли в негодность, их следует заменить. Точность притирки пробки к гнезду можно проверить так. Необходимо отвинтить накидную гайку, снять рукоятку, вместе со шпинделем вынуть пробку из гнезда, протереть насухо и нанести мелом несколько полос в продольном направлении.

    После этого пробку устанавливают на место и, не собирая смесителя окончательно, рукояткой поворачивают пробку в разные стороны. Затем пробку снова вынимают из гнезда и проверяют состояние меловых полос.

    Если меловые линии окажутся неравномерно стертыми, то внутри пробки имеет место грубая притирка или есть задиры на поверхностях. Для того чтобы ликвидировать эти дефекты, нужно притереть пробку по месту. Для грубой притирки используют мелкозернистую наждачную бумагу, а доводку гнезда и пробки выполняют с помощью абразивной пасты ГОИ.

    Затем пробку оборачивают наждачной бумагой и ставят на место. Закончив притирать гнездо, ту же операцию повторяют с использованием пасты ГОИ. Выполнив чистовую притирку, ее качество проверяют вышеописанным способом.

    Ремонт смывных бачков

    Смывные бачки имеют два вида подводки воды. Первый осуществляется с помощью гибкого шланга. Обычно такой вид используется у низкорасположенных бачков.

    В настоящее время самым распространенным является именно такой вид подводки воды. Второй тип – подводка воды с помощью стальной или чугунной трубы, как правило в высокорасположенных смывных бачках.

    Во время ремонта можно громоздкую трубу поменять на гибкий шланг. Его монтаж не займет много времени и не потребует использования сложных инструментов и специальных знаний.

    Достаточно иметь шланг с накидными гайками и кольцами-уплотнителями. Такая гибкая подводка в будущем оправдает себя не один раз (как при ремонте поплавкового клапана, так и при замене бачка или унитаза).

    В смывном бачке чаще всего ломается поплавковый клапан. При этом происходит следующее: просвет в корпусе засоряется частицами ржавчины или окалины, которых довольно много в трубах после проверки и сезонного ремонта коммунальных сетей водоснабжения.

    Кроме того, поплавок, груша и соединительная манжета (если она предусмотрена конструкцией) также подвержены различным механическим повреждениям. Резиновые прокладки и манжеты постепенно теряют эластичность и разрушаются, поплавок теряет герметичность, металлические детали ржавеют. Рассмотрим подробнее различные повреждения.

    Самой частой неполадкой, которая встречается в процессе эксплуатации, является подтекание воды из бачка. Спускной рычаг или тяга груши как будто бы находятся в положении «закрыто», а вода все равно тонкой струйкой течет в унитаз. Если в бачке смонтирована вертикальная тяга, жестко связанная с грушей, то можно попробовать открыть и вновь закрыть спуск воды. Тяга может встать на место, потому что она скорее всего подверглась перекосу в направляющей втулке, расположенной в крышке бачка или в нижней дуге.

    Еще одной причиной просачивания воды может стать плохое прилегание груши к седлу из-за появления ржавчины или отложения песка на его поверхности.

    В том случае, если вышеописанный способ не принес желаемого результата, необходимо снять крышку смывного бачка и выявить причины неисправности.

    Если нет перекоса рычага, то причинами подтекания воды могут являться износ или механическое повреждение груши. Самым оптимальным вариантом в этом случае станет замена груши. Если имеется новая, то ставят ее. Но если под рукой нет запасной груши, то придется заниматься восстановлением старой.

    Хорошо, если груша осталась целой и имеет на своей поверхности только небольшие вмятины. Избавиться от них можно путем набивки груши подходящим материалом.

    Для того чтобы утяжелить грушу, можно надеть на ее ось 2–3 металлические никелированные шайбы.

    В резьбовом соединении также могут возникнуть неполадки. Это относится главным образом к старым конструкциям, потому что в современных бачках тяги и груши выполнены из пластмассы и вообще не имеют резьбы. Тяга бывает либо продолжением груши и изготавливается вместе с ней как единая деталь, либо груша свободно, без жесткого крепления надевается на пластиковый стержень. Если тяга изготовлена из металла (латунного или нержавеющего прутка), а груша резиновая, то возможен срыв резьбы. В результате тяга не может прижимать грушу к седлу. Для устранения такого рода неполадки нужно нарезать новую резьбу и отрегулировать длину тяги.

    Иногда выясняется, что вода поступает в унитаз не из зазора между грушей и седлом, а из перелива (в некоторых бачках перелив выполнен отдельной деталью в виде узкого вертикального раструба). Если уровень воды в бачке нормальный, а причиной подтекания воды является плохая герметизация крепления, то есть открутилась фиксирующая перелив гайка, то придется снимать бачок или отсоединять полочку, чтобы завернуть гайку. Можно обойтись и без полного демонтажа, достаточно уплотнить стык.

    Не во всех бачках перелив крепится гайкой, он может быть просто вставлен нижним концом в отверстие на дне бачка. В обоих случаях необходимо выполнять следующий ремонт.

    Сначала перекрывают воду контрольным вентилем. Затем спускают воду из бачка, извлекают перелив и на его нижнюю часть или резьбу крепления наматывают уплотнение из льняной нити так, чтобы конус перелива плотно, даже с применением некоторых усилий, вставал на свое место.

    Предварительно уплотнитель пропитывают масляной краской, а затем вставляют перелив в отверстие на дне бачка; место стыка также промазывают краской. При этом и льняная нить и место посадки перелива должны быть абсолютно сухими. Для того чтобы краска быстрее засохла, в нее можно добавить отвердитель.

    В том случае, если крепление перелива исправно, а течь появилась из-за превышения установленного уровня воды в бачке, причин неисправности может быть две. Во-первых, это состояние поплавка и, во-вторых, неисправность клапана.

    Сначала проводят проверку герметичности поплавка: скорее всего в него попала вода и под ее тяжестью он наклоняется вниз, в результате чего клапан не перекрывает поступающую воду.

    Если поплавок закреплен на оси, его отсоединяют. Если же соединение поплавка с осью является неразборным, отсоединяют поплавок вместе с рычагом и избавляются от попавшей внутрь воды.

    Лучшим способом восстановления герметичности поплавка будет запайка отверстия. Перед началом ремонта поплавок следует демонтировать и вынуть его из смывного бачка. Если при поверхностном осмотре не видно трещины или отверстия, то нужно опустить поплавок в воду. Около места повреждения возникнут маленькие пузырьки воздуха.

    Для заделки трещины в поплавке не потребуется много времени, потому что работа выполняется в два приема. Нужно раскалить металлический пруток и запаять им трещину.

    Если на поплавке не имеется повреждений, а нарушена герметичность его посадки на ось (рычаг поплавка), то на место соединения следует намотать уплотнитель и загерметизировать его с помощью масляной краски.

    Случается и так, что поплавок исправен и отрегулировано его положение, а вода все равно подтекает. В этом случае неисправность нужно искать в поплавковом клапане, который даже при полном заполнении бачка водой продолжает пропускать ее.

    Узнать, исправен поплавковый клапан или нет, можно таким образом. Прежде всего следует полностью спустить воду. Затем, не закрывая контрольного вентиля, необходимо поднять рычаг поплавка максимально вверх. Если из наполнительной трубки будет поступать вода, то это признак того, что в клапане есть неисправность.

    Для того чтобы выполнить ремонт поплавкового клапана, нужно перекрыть воду, открутить крышку клапана, сначала сняв ось поплавка вместе с самим поплавком. Вероятнее всего, причина неисправности клапана заключается в поврежденной мембране (прокладке) поплавкового клапана или в ее неплотном прилегании к седлу.

    В этом случае следует убедиться в исправности штока, который установлен в крышке клапана, и в надежности его контакта с коротким плечом поплавкового рычага. Мембрану самостоятельно изготовить невозможно, поэтому взамен поврежденной придется ставить только новую. Бывают случаи, когда из-за мембраны приходится покупать новый поплавковый клапан.

    Тем не менее временную мембрану можно установить (но совсем ненадолго). Для ее изготовления из листовой резины вырезают несколько кружков различного диаметра, соединяют их между собой с помощью клея или чистого бензина.

    Собирая поплавковый клапан, нужно обязательно проконтролировать правильное положение штока: его закругленный конец должен быть обращен к плечу поплавкового рычага.

    В смывном бачке может возникнуть такая неисправность, как повреждение вертикальной стойки, на которой смонтирован поплавковый клапан.

    Данное повреждение обычно наблюдается в результате переполнения бачка водой. Как правило, это происходит в бачках с вертикальной подачей воды.

    Если вертикальная стойка, находящаяся в воде, выполнена из стальной неоцинкованной трубки или у оцинкованной был нарушен защитный слой, то рано или поздно она обязательно проржавеет. Выход здесь только один – замена дефектной стойки новой, имеющей тот же диаметр.

    При замене стойки производят следующие действия: за-крывают контрольный вентиль, спускают воду из бачка, откручивают накидную гайку гибкой подводки или муфту подводящей трубы.

    После этого отворачивают крепящую контргайку, снимают шайбу с прокладкой и извлекают поврежденную стойку вместе с вертикальным поплавковым клапаном. Если только в стойке имеется свищ, вызванный ржавчиной, то снять клапан со стойки без проблем не удастся, потому что он, скорее всего, успел намертво прикипеть к стойке. Для того чтобы отвернуть контргайку, придется использовать тиски.

    Рассмотрим другую неисправность, возникающую довольно часто в процессе эксплуатации смывного бачка. Выше был описан случай, когда бачок переполняется водой. Бывает ситуация совершенно противоположная, то есть вода не поступает в бачок.

    Раньше уже упоминалось о наиболее вероятной причине того, что вода не поступает в бачок, – о засоре отверстия поплавкового клапана. Для того чтобы проверить, так ли это, следует сначала закрыть контрольный вентиль на подводке. Далее нужно снять накидную гайку и крышку клапана вместе со штоком и осью поплавка, а извлечь из корпуса клапана резиновую мембрану.

    Теперь имеется доступ к седлу, а значит, можно попытаться тонкой проволокой прочистить отверстие, через которое вода должна поступать в бачок.

    Если частицы мусора удалось убрать, то нужно слегка приоткрыть вентиль и затем проверить поступление воды.

    Если вода все-таки не заполняет бачок, а седло клапана очищено, то следует тщательно осмотреть запорный вентиль.

    Как только вода начнет нормально поступать в бачок, ремонт можно считать завершенным, даже если не удалось извлечь камешек или частицы окалины, засорявшие отверстие. Давление воды не даст мусору вновь перекрыть отверстие, и рано или поздно камешек, обкатанный водой, сам выйдет из наполнительной трубки, минуя мембрану.

    Если нужно полностью прочистить корпус поплавкового клапана, чтобы освободить его от различных инородных тел, то совсем необязательно демонтировать подводку в том месте, где она соединяется с бачком, откручивать контргайки с наружной и внутренней стороны стенки, снимать прокладки и пр.

    Достаточно только открутить накидную гайку гибкой подводки, но не у бачка, а на подводящей трубе, у вентиля. После этого, заменив резиновую или пластиковую трубку на патрубке клапана резиновым шлангом, следует продуть корпус поплавкового клапана в обратном направлении.

    Заделка трещин и щелей в санитарно-технических устройствах

    В процессе эксплуатации санитарно-технических устройств довольно часто возникают ситуации, когда необходимо заделывать трещины и щели, образовавшиеся в раковинах и унитазах. Для этих целей используют различного рода герметики, замазки и т. д. Их можно купить или приготовить самостоятельно, достаточно лишь приобрести необходимые ингредиенты.

    Для заделки трещин в металлических приборах, которые не подвергаются воздействию температур, готовят замазку, состоящую из следующих компонентов:

    – 16 частей железных опилок;

    – 2 части нашатырного спирта;

    – 1 часть серы.

    Перед применением в эту смесь вливают нужное количество воды и хорошо перемешивают до тех пор, пока состав не будет напоминать по консистенции густую пасту. Этой массой и заделывают трещины. Санитарно-технический прибор оставляют на сутки, в течение которых паста отвердевает.

    Для этих же целей применяют смесь порошкообразных пигментов (свинцового сурика и цинковых белил). Их смешивают в сухом виде и растирают на натуральной олифе до сметанообразной консистенции. Полученным составом уплотняют краны и фланцы, пропитывают пряди для обмотки резьбы и пр. Отвердение пасты происходит через 2–3 суток.

    В домашних условиях можно приготовить и термостойкую замазку, предназначенную для заделки трещин в металлических устройствах. Замазка состоит из следующих компонентов:

    – 140 г железных опилок;

    – 20 г гашеной извести;

    – 25 г мелкого песка;

    – 3 г нашатырного спирта.

    Все ингредиенты тщательно перемешивают и разводят пищевым уксусом до образования густой пасты. Полученный состав наносят на имеющиеся повреждения. После высыхания замазки поврежденный участок санитарно-технического устройства прокаливают.

    Жаростойкие замазки готовят и на олифе. Для этого сначала соединяют в подходящей емкости 50 г графита, 10 г свинцового глета (сернокислого свинца) и 10 г мела. Все тщательно перемешивают, добавляют олифу и растирают до пастообразного состояния.

    Для заделки щелей и зазоров в санитарно-технических приборах применяют смолки. К данному виду паст можно отнести и широко известную менделеевскую замазку. В ее составе имеются канифоль, воск и льняное масло. Наполнителем обычно служит сухая охра. Для того чтобы приготовить эту замазку, необходимо 8 частей воска расплавить, добавить в него 30 частей измельченной канифоли и хорошо перемешать. После этого состав нагревают до тех пор, пока не исчезнет запах скипидара. Вливают 1 часть льняного масла, добавляют 10 частей наполнителя и опять перемешивают. Используют пасту в расплавленном состоянии. Существует еще один способ приготовления такой смолки. Следует расплавить 1 часть воска, добавить 4 части истолченной канифоли и нагревать до полного расплавления. После этого в разогретую примерно до 150 °С массу добавляют предварительно прокаленную 1 часть охры и, нагревая, тщательно перемешивают. За 10 минут до окончания нагревания добавляют 0,05–0,06 части льняного масла, перемешивают и оставляют смесь для охлаждения. Применяют в расплавленном состоянии.

    Устройство туалета на дачном участке

    Не всегда есть возможность установить туалет в дачном домике. В этом случае его размещают на участке. Такой туалет можно устроить в виде ящика (пудр-клозет).

    Место для туалета выбирают на расстоянии 18 м от домика. Под выгреб приспосабливают выдвижной или с откидывающейся задней стенкой ящик, изготовленный из досок толщиной 5–6 см и обшитый изнутри кровельным железом. Каждый день нечистоты засыпают землей или торфом. Когда ящик будет полным, его содержимое, используя лопату, помещают в компостную кучу.

    Пудр-клозет можно построить из различного строительного материала: камня, кирпича, шлакобетона, дерева. Площадку под клозетом делают из жирной вымешанной глины, укладывая ее слоем примерно 40 см. На площадке устраивают отмостки, необходимые для стока воды. Затем на ней устанавливают обвязку из бревен диаметром 10–12 см. Бревна заранее обжигают паяльной лампой. К обвязке с помощью шипов прикрепляют стойки, которые затем с внешней стороны обшивают досками. В туалете ставят перегородку. Одну половину туалета приспосабливают под склад для земли или торфа.

    В другой половине ставят сиденье, а под него – ящик для нечистот. Чтобы ящик удобно было переносить и выдвигать, приделывают к нему ручки.

    Водоснабжение на дачном участке

    Водопровод на дачном участке обеспечивает бесперебойную и своевременную подачу воды для полива растений.

    Источники водоснабжения

    В качестве источников водоснабжения владельцы дачных участков нередко используют ручьи, пруды и другие естественные водоемы.

    Это вполне целесообразно и оправданно, особенно в начале вегетационного периода, так как воду для полива из такого источника можно брать в любое время в необходимом количестве.

    Источниками водоснабжения могут служить колодцы и водоемы, созданные искусственно.

    Водоемы

    Для создания на дачном участке водоема потребуются песок или глина, рубероид или полиэтиленовая пленка и мелкий щебень.

    Устройство водоема начинают с того, что выкапывают котлован с покатыми берегами диаметром 1 м и более и глубиной 50–70 см. На дно котлована укладывают мятую глину слоем толщиной 15 см, заливают ее водой и оставляют подсохнуть.

    Затем укладывают следующий слой глины (15 см), который сверху покрывают слоем мелкого щебня, после чего утрамбовывают.

    При другом способе сооружения искусственного водоема используют рубероид или полиэтиленовую пленку, которые расстилают в несколько слоев на песок (10 см). Сверху насыпают мелкий щебень слоем 10 см.

    Если водоем небольшого размера, рядом можно расположить капельницу (рис. 121), изготовленную из водопроводной трубы с краном, с помощью которого регулируют поступление воды в водоем.

    Рис. 121. Капельница рядом с водоемом


    Для создания на даче декоративного пруда понадобятся водонепроницаемые материалы (например, глина или бетон с соответствующей добавкой, увеличивающей его водонепроницаемость), дренажные трубы и галька.

    Устройство пруда начинают со снятия верхнего плодородного слоя почвы в соответствии с будущей формой водоемы.

    После этого в грунте делают углубление в форме чаши. Дно пруда обмазывают глиной или бетоном. При использовании глины, ее укладывают в 2 слоя, тщательно уплотняя.

    При использовании бетона (если площадь пруда превышает 3–4 м2) его необходимо армировать, то есть добавить несколько стальных стержней или проволочную сетку. Бетон укладывают в 2 слоя.

    При устройстве декоративного пруда необходимы дренажные трубы, которые укладывают в глину или бетон.

    Когда дно пруда будет готово, на нем распределяют слой гальки, слегка вдавив ее в свежеуложенный слой глины или бетона. Наполнение пруда водой осуществляется либо по канаве, отходящей от водотока, либо по водопроводным трубам.

    При любом способе наполнения желательно, чтобы вода в пруду была проточной, так как в этом случае водообмен в нем будет постоянным.

    Трубопровод, отводящий воду из пруда, изготавливают из твердых пластиковых труб диаметром 30 мм. Такой трубопровод прослужит довольно долго. Перед соединением пластиковые трубы надрезают с помощью пилки. Затем трубы склеивают, нагревая их над открытым огнем.

    При устройстве выпускного затвора отверстие трубы слегка расширяют, после чего закрывают резиновой пробкой.

    Колодцы

    Даже если на дачном участке имеется система централизованного водоснабжения, рекомендуется соорудить колодец.

    Колодцы бывают шахтные или трубчатые в зависимости от глубины водоносного слоя.

    Для того чтобы определить, какой вид колодца наиболее приемлем для конкретного дачного участка, необходимо выяснить, на какой глубине залегает водоносный слой.

    При сооружении колодца на дачном участке необходимо учитывать его месторасположение. Колодец ни в коем случае не должен находиться рядом с системой канализации, постройками для скота. В соответствии с санитарными требованиями расстояние между перечисленными объектами и колодцем должно быть не менее 30–40 м.

    Помимо этого, необходимо помнить о том, что для поддержания колодца в надлежащем состоянии его следует регулярно и своевременно чистить и проводить текущий ремонт.

    Самым подходящим периодом для сооружения колодца является ранняя осень, так как именно в это время уровень грунтовых вод наиболее низок.

    Шахтные колодцы

    Шахтные колодцы сооружают в том случае, когда глубина залегания водоносного слоя составляет примерно 20 м. Для выкачивания воды из шахтных колодцев применяют электронасосы центробежного или вибрационного типа.

    Помимо этого, можно устроить журавль, которым пользуются в случае поломки насоса.

    Сруб колодца (поперечное сечение 1 х 1 м, 1,25 х 1,25 м, 1,5 х 1,5 м), в зависимости от глубины делают из бревен диаметром 12–18 см и заглубляют в водоносный слой на 1,5–2 м.

    Для надводной части шахтного колодца используют сосну, для нижней – дуб, вяз, ольху.

    Венцы изготавливают с подгонкой бревен и обтеской на плоскость внутренней стороны. Их подгоняют в паз по горизонтали, соединяют вставными дубовыми шипами по вертикали, в углах – в косую лапу.

    Сборка сруба является начальным этапом строительства колодца. После нее производят разметку шахты и глиняного замка.

    Затем до глубины 1–1,5 м вынимают грунт, опускают в шахту собранный сруб, устанавливают треногу с полиспастом и делают водоупорный замок из глины, имеющий глубину и ширину около 1 м. Глину утрамбовывают.

    После этого выкапывают шахту, постепенно выбирая грунт со всех сторон на толщину венца и подводя бревна новых венцов. Затем их прижимают друг к другу временными скобами.

    Чтобы стенки шахтного колодца не перекашивались и не разрывались, через 2 параллельных нижних бревна каждые 5 венцов делают длиннее на 20 см со всех сторон.

    Концы этих бревен кладут в гнезда, проделанные в стенках шахты.

    Бетонные колодцы

    Для сооружения колодца из монолитного бетона, роют шахту, устанавливают в ней 2 опалубки: одну – вдоль стен шахты, другую – на некотором расстоянии от первой.

    В образовавшийся между опалубками промежуток заливают бетон и оставляют в опалубке до полного высыхания.

    При изготовлении бетона используют портландцемент марки 400, песок, заполнитель (гравий или щебень) и воду. Соотношение частей должно быть 1 : 2 : 3 : 0,5.

    Цемент смешивают с песком в растворном ящике, заливают водой и с помощью лопаты тщательно перемешивают. Заполнитель смачивается водой и добавляется в полученный раствор.

    Бетон укладывают слоями (15 см) и уплотняют до появления цементного молока. Чтобы бетон хорошо затвердел, его прокладывают влажными опилками или мешковиной и в течение недели смачивают водой несколько раз в день.

    Мелкий трубчатый колодец

    Мелкий трубчатый колодец сооружают преимущественно на участках, где уровень залегания грунтовых вод составляет около 9 м.

    Достоинством такого колодца является то, что вода в нем не застаивается и не загрязняется. Обсадные трубы, предназначенные для укрепления стенок скважины, в мелкий трубчатый колодец можно не вставлять.

    Составляющими мелкого трубчатого колодца являются колонка с поршневым насосом, водоподъемная стальная газовая труба (диаметр 30–50 мм) и фильтр.

    Изготовить насос можно из металлической бесшовной трубы диаметром 90 мм и длиной 45 см. Помимо этого, понадобятся кронштейн для крепления трубы, 3 патрубка из стали, рукоятка, 4 фланца, резина для клапанов и прокладок между фланцами, штанга из стали или латуни, имеющая диаметр 16 мм и длину 80 см, а также крепежные детали.

    Поршневой насос поднимает воду с глубины 5–6 м и подает ее на высоту 4–5 м.

    При работе поршневого насоса штанга движется вверх, верхний резиновый клапан прижимается к корпусу цилиндра, а нижний тем временем открывается и пропускает воду.

    Когда штанга движется вниз, нижний клапан прилегает к фланцу, закрывая отверстие для выхода воды через трубу, в то время как у верхнего клапана отгибаются края резиновой прокладки до шайбы. Через отверстия шайбы проходит вода.

    Следующее движение поршня вверх вызывает открытие нижнего клапана. При этом верхний клапан прилегает к стенкам цилиндра. В результате вода поступает в водоподъемную трубу, и новая ее порция подается снизу в цилиндр.

    Проверяя работу насоса, необходимо залить в цилиндр воду.

    Крепление насоса к фланцу трубы осуществляют болтами (12 мм), деталей поршня на штанге – гайками, металлической штанги – болтиком (6 мм).

    Труба для подъема воды состоит из отрезков труб длиной 1,5 м с резьбой. Соединение труб осуществляют с помощью муфт.

    Важная деталь трубчатого колодца – фильтр (рис. 122).

    Рис. 122. Фильтр: 1 – муфта; 2 – проволока; 3 – сетка; 4 – наконечник


    В функции фильтра входит обеспечение поступления воды без примесей грунта, поэтому располагают его в слое водоносных песков или гравия.

    Хорошая работа фильтра во многом зависит от сетки. Например, сетку с мелкими отверстиями приходится часто вынимать из скважины для того, чтобы прочистить.

    Существует несколько разновидностей сеток, используемых в фильтрах, которые различаются способом плетения – простое квадратное, киперное, галунное.

    В гравийных и крупнозернистых песках используют фильтры с сетками квадратного и киперного плетения.

    В мелко– и среднезернистых песках применяют сетки галунного плетения.

    Правильно установленный в скважине фильтр пропускает песок только в момент пробной качки. При этом мутность воды должна постепенно снижаться.

    Иногда в целях защиты фильтра от повреждений на сетку надевают трубку из нержавеющего металла с отверстиями для пропуска воды.

    Засорившийся в процессе эксплуатации фильтр необходимо прочистить. При прочистке колонку труб вращают слева направо зажимным хомутом и за ручки приподнимают. Мелкие трубчатые колодцы обычно сооружают в мягких грунтах, где отсутствуют галька и щебень.

    Сооружать мелкий трубчатый колодец рекомендуется весной, когда почва хорошо увлажнена.

    После подготовки места для колодца необходимо вырыть шурф размером 0,8 х 0,8 х 1,0 м. На дне шурфа делают небольшой приямок.

    Водопроводную трубу присоединяют к фильтру, надевают на нее металлическую бабу массой, в 2–3 раза превышающей массу трубы вместе с фильтром.

    На трубе на расстоянии 1 м от фильтра крепят с помощью болтов металлический хомут. Второй хомут с двумя блоками крепят на расстоянии 2 м от фильтра. В центре шурфа вертикально устанавливают трубу.

    Шурф засыпают грунтом и утрамбовывают. Концы веревки, перекинутой через блоки, крепят к бабе и приступают к забивке колодца.

    Бабу поднимают за веревку и сбрасывают. Под действием своего веса баба ударяет по хомуту и заглубляет трубу в грунт. По мере заглубления трубы хомуты постепенно перемещаются вверх.

    После того как фильтр окажется в водоносном слое, забивку прекращают. Затем присоединяют насос к оставшемуся на поверхности почвы концу трубы.

    После этого проводят пробную откачку воды с целью очистки фильтра от песка.

    Глубокий трубчатый колодец

    Глубокий трубчатый колодец используют преимущественно тогда, когда глубина залегания водоносного слоя превышает 20 м.

    Трубчатый колодец представляет собой буровую скважину, стенки которой закреплены водопроводными обсадными трубами. Длина их составляет 4–6 м. Соединение труб осуществляют с помощью муфт. Если глубина колодца большая, в него опускают несколько труб, диаметр которых находится в прямой зависимости от глубины залегания и мощности водоносного слоя и диаметров фильтра и насоса.

    При сооружении колодца выкапывают шуфта, устанавливают над ним треногу и подвешивают шлямбур (буровой инструмент) на стальном тросе, переброшенном через блок.

    Держа буровой инструмент вертикально, опускают его на дно шурфа.

    Ударник направляют на пробку, вмонтированную внутри шлямбура.

    Под тяжестью веса ударник с силой бьет по пробке, за-ставляя наконечник шлямбура врезаться в грунт.

    Сделав 5–10 ударов, наконечник очищают от грунта, для чего шлямбур поднимают на поверхность.

    На уровне водоносных песков в скважину помещают водопроводные обсадные трубы и продолжают бурение с использованием желонки.

    При достаточной мощности водоносного слоя бурение скважины прекращают. Определить мощность водоносного слоя можно по резкому повышению уровня воды в скважине.

    Если же водоносный слой имеет малую мощность, то его проходят желонкой. Обсадные трубы при этом опускают до водоупорного пласта.

    Шурфа после бурения заполняют грунтом и утрамбовывают. Затем приступают к установке насоса в скважине.

    Перед тем как установить в скважине насос, следует к нижней части его цилиндра присоединить всасывающую трубку длиной 3–4 м, оснащенную фильтром.

    Для того чтобы заделать зазор между стенками обсадной трубы и фильтром, нужно под муфтой фильтра намотать пеньку. Вокруг трубчатого колодца устраивают отмостку.

    Для глубоких трубчатых колодцев рекомендуется использовать стальные обсадные трубы, так как они надежнее других и достаточно легко соединяются.

    Обсадная труба состоит из отдельных звеньев и составляет в длину 2–4 м. Стальные звенья соединяют резьбовыми муфтами или сваркой.

    Выбор способа соединения зависит от диаметра трубы. Например, трубы, внутренний диаметр которых составляет 50 мм, соединяют муфтами, трубы диаметром 100 мм и больше – сваркой.

    При соединении звеньев обсадной трубы сваркой трубу разрезают кислородным резаком на отдельные звенья длиной 2–3 м. Линию разреза делают с мысиком, что необходимо для более легкого центрирования при сварке.

    Кроме того, стык не будет иметь больших зазоров. Каждый разрез помечают краской.

    Центрирование звеньев перед сваркой осуществляют с помощью кондуктора из двух уголков или трех стальных накладок, которые приваривают к штангам с целью придать соединительному шву дополнительную прочность.

    При отсутствии сварки или использовании обсадной трубы, изготовленной не из стали, можно провести соединение звеньев стальными накладками на болтах.

    Ширина накладок составляет 15–30 мм, длина – 100–200 мм, толщина – 6–9 мм.

    Узкие кромки накладок срезают под углом 30°. Это необходимо для того, чтобы инструмент не цеплялся за внутренние прокладки, а наружные не препятствовали проходу трубы через грунт.

    На внутренних накладках для крепежа нарезают резьбу.

    Соединение стальной или чугунной обсадной трубы можно провести и без внутренних накладок, для чего резьбу нарезают непосредственно в стенке.

    Устройства для подачи воды

    Для перекачки воды из источника и подачи ее для полива используют насосы различного типа. От правильного выбора насоса во многом зависит эффективность орошения. На приусадебных участках обычно применяют ручные поршневые или электрические бытовые насосы.

    Насос БКФ-4 (ручной поршневый) используют в трубчатом и шахтном колодцах. При монтаже насоса на трубчатом колодце его устанавливают на фланец всасывающей трубы и закрепляют с помощью болтов. Корпус насоса прикрепляют болтами к доске толщиной 5 см, которая находится на двух врытых в землю столбах (рис. 123). Крепления насоса должны быть прочными.

    Рис. 123. Схема насоса БКФ-4 на трубчатом колодце: 1 – нагнетательная труба; 2 – ручной насос; 3 – сетчатый фильтр; 4 – обратный клапан; 5 – всасывающая труба; 6 – заливная труба


    Максимальная высота всасывания воды для насоса БКФ-4 составляет 4,5–5 м. Перед использованием насоса открывают клапанную камеру и заливают в нее чистую воду. При этом водой заполняют не только камеру, но и всю всасывающую трубу, вплоть до обратного клапана.

    Насос НРП-50 (ручной поршневой) используют в трубчатом и шахтном колодцах и для подачи воды из водоема, расположенного близко к участку. Максимальная высота всасывания для этого насоса – 5 м. За один двойной ход поршня насос подает 0,5 л воды. Ход поршня составляет 300 мм.

    Длина насоса – 118 см, ширина – 20 см, высота – 323 см. Электронасос «Кама-3» применяют в трубчатом и шахтном колодцах и для забора воды из естественных источников водоснабжения. Однако его использование возможно лишь при наличии электричества. «Кама-3» состоит из насоса и электродвигателя, соединенных вместе. Насос работает при напряжении в сети 220 В. Мощность потребления энергии составляет не более 350 Вт.

    В комплект насоса входят приемный клапан, комбинированный ключ, вентиль (для заливного устройства), запчасти к насосу и электродвигателю.

    Если перекачивание воды проводят из открытого водоема, необходимо предохранить насос от загрязнений, для чего приемный клапан закрывают сеткой или помещают в ящик.

    Кроме того, рекомендуется сделать навес над электронасосом с целью предохранения его от попадания дождевой воды.

    Максимальная высота всасывания насоса составляет 7 м. Чем ближе насос расположен к воде, тем надежнее его работа.

    Наиболее оптимальной является схема «поплавок» (рис. 124).

    Рис. 124. Схема «поплавок»: 1 – приемный клапан; 2 – насос; 3 – подъемник; 4 – электропровод; 5 – шланг; 6 – поплавок


    Вода с помощью насоса «Кама-3» может подаваться в искусственно созданный на участке водоем.

    Насос бытовой электромагнитный НЭБ-1/20 применяют для подъема воды из колодцев и скважин диаметром 20 см и глубиной до 20 м. Для его работы необходимо напряжение в сети переменного тока не менее 220 В. Мощность энергопотребления насоса составляет 220 Вт. Насос НЭБ-1/20 включается в работу сразу после погружения его в воду, без предварительной заливки водой. Если трубчатый колодец довольно небольшого размера, можно использовать воздушный подъемник – эрлифт.

    Эрлифты имеют простую конструкцию, у них отсутствуют движущиеся части, а потому абразивное воздействие песка со дна колодца не представляет для нах опасности. Для бесперебойной работы эрлифта в нижнюю часть помещенной в воду трубы под давлением подают воздух. В трубе образуется смесь из пузырьков воздуха и воды, поднимающихся благодаря разности удельных масс смеси в трубе и воды в скважине.

    Существуют нагнетательные и всасывающие эрлифты.

    У нагнетательного эрлифта в трубу, находящуюся в скважине и заглубленную под уровень воды, подводят от компрессора сжатый воздух.

    Образовавшаяся смесь из воды и пузырьков воздуха поднимается на поверхность.

    Эрлифт используют в том случае, если из скважины выкачивают или подают в нее недостаточное количество воздуха.

    Порядок прокладывания труб на участке зависит от способа полива.

    Металлический водопровод

    Наиболее целесообразно провести на дачном участке водопровод из пластиковых или нержавеющих стальных труб. Однако нередко владельцы дачных участков сооружают водопровод из того, что находится под рукой. Обычно это старые трубы, иногда и с хомутами, которые использовались не один год.

    При монтаже трубопровода из старых труб могут возникнуть некоторые трудности, одна из которых – сложность разборки резьбовых соединений. Нередко на резьбовых соединениях нарастает ржавчина или имеется многолетний слой краски. В этом случае надо воспользоваться нагревом.

    Для нагрева обычно применяют газовую горелку или паяльную лампу. Желательно, чтобы уплотнение выгорело со всех сторон, поэтому нужно поворачивать трубу во время нагрева.

    После этого наносят несколько несильных ударов молотком по фитингу и трубе, избавляясь от окалины и подгоревших частиц уплотнения. Когда водопровод будет собран, необходимо принять меры по его защите от резких перепадов температуры, атмосферных осадков, коррозии. Наилучшим вариантом для этого является установка собранного трубопровода на металлические опоры.

    На зиму воду из системы следует сливать во избежание разрыва труб. Для этого при монтаже водопровода нужно все ветки его слегка наклонить в направлении выпускных вентилей.

    Если для прокладки используют обычные металлические трубы, их следует покрыть краской, что в несколько раз продлит срок службы водопровода.

    Трубы на дачном участке красят исключительно масляными красками, очистив предварительно их поверхность от ржавчины.

    При использовании для водопровода оцинкованных труб окрашивают только те места, где отсутствует цинковое покрытие (например, резьбу).

    Металлические водопроводы имеют большой срок службы, который при соответствующем уходе еще более увеличивается.

    Водопровод из резиновых шлангов

    Водопровод из резиновых шлангов не требует больших материальных затрат и набора специальных инструментов.

    Вместо труб при монтаже трубопровода используют армированные резиновые шланги, выдерживающие большое давление воды.

    Соединение шлангов между собой осуществляют с по-мощью трубок, тройников, сгонов, хомутов (рис. 125).

    Рис.125. Соединение резинового водопровода: 1 – вентиль; 2 – переходник; 3 – тройник; 4 – хомут; 5 – шланг


    Резиновый водопровод помещают в землю на глубину 20–30 см. Использовать такой водопровод рекомендуется только в течение поливного сезона. На зиму его следует разбирать и хранить в помещении с температурой не ниже 0 °С.

    Меры профилактики для нормальной работы системы полива

    При длительной эксплуатации на поверхности металлических труб может образоваться ржавчина, в результате чего резко уменьшается пропускная способность труб, возникают засоры, свищи, происходит расхождение швов, утечка воды, как следствие, значительно снижается срок службы трубопроводов.

    Коррозию гораздо легче предотвратить, чем бороться с ней. Для этого существуют разные способы.

    Методы защиты металлических труб от ржавчины подразделяют на пассивные и активные. Пассивные – это изоляция труб внутри и снаружи или покрытие их специальными оболочками, активные – электрическая защита.

    Выпускаемые на заводах трубы обычно не имеют антикоррозийного покрытия. По этой причине защиту от ржавчины следует выполнять перед укладкой или в процессе укладки труб.

    В качестве наружной изоляции для стальных труб применяют битумно-полимерные, битумно-минеральные, этиленовые и подобные им покрытия, выбор которых зависит от грунта.

    Для внутренней защиты стальных и чугунных труб используют покрытия из цемента. Они надежны и экономичны. Чугунные трубы покрывают нефтяным битумом или слоем забеленного чугуна повышенной прочности.

    Широко применяют лакокрасочные покрытия, которые достаточно легко нанести на поверхность.

    Если трубы покрыты ржавчиной, то перед их укладкой ее необходимо счистить, а затем нанести защитное покрытие. После этого трубы олифят и прокрашивают масляной краской.

    К электрохимическому методу защиты от коррозии относится цинковое покрытие, которое значительно замедляет разрушение стальных труб.

    Защитить трубы от морозов можно с помощью минеральной ваты, соломы, стружки и некоторых других утеплителей.

    Более подробно о материалах, используемых для утепления труб, рассказано в начале этой главы.

    Однако наилучшим способом защиты труб от промерзания является полный спуск воды из водопровода.

    Если трубы замерзли, можно воспользоваться паяльной лампой, осторожно прогревая ею трубу, или установить у замерзших участков отопительные приборы, электрические плитки.

    Однако необходимо помнить, что ни в коем случае нельзя производить резкий нагрев трубы с середины замерзшего участка. Следует сначала открыть кран и лишь затем медленно и постепенно отогревать трубу, двигаясь от крана к магистрали.









    Главная | Контакты | Нашёл ошибку | Прислать материал | Добавить в избранное

    Все материалы представлены для ознакомления и принадлежат их авторам.