Онлайн библиотека PLAM.RU


  • 4.1. Сложные технические системы и особенности их сертификации
  • 4.2. Федеральная система сертификации ракетно-космической техники научного и народнохозяйственного назначения (ФСС КТ)
  • 4.3. Сертификация качества авиационной техники
  • 4.3.1. Нормы летной годности
  • 4.3.2. Системы сертификации
  • 4.3.3. Сертификация комплектующих изделий
  • 4.3.4. Особенности сертификации импортируемых комплектующих изделий
  • 4.3.5. Программы и организация работ по сертификации
  • 4.4. Система «Оборонсертифика»
  • 4.5. Система сертификации оборудования атомной энергетики и промышленности
  • 4.6. Система сертификации в области потенциально опасных промышленных производств, объектов и работ
  • Контрольные вопросы
  • Библиографический список
  • Глава 4

    Специальные системы сертификации в Российской Федерации

    4.1. Сложные технические системы и особенности их сертификации

    Несмотря на разнообразие назначения, состава и условий использования все сложные технические системы (СТС) обладают некоторыми основными общими свойствами, позволяющими объединить их в один класс. К таким общим свойствам относятся целостность, эмерджентность, иерархичность и конечность.

    Целостность подразумевает целенаправленную работу всех компонентов СТС как единого целого для выполнения системой ее назначения.

    Эмерджентность определяет появление у СТС свойств, которые не присущи ее компонентам и вызваны неаддитивностью характеристик системы, нелинейностью связей между характеристиками системы и характеристиками ее компонентов.

    Иерархичность структуры СТС понимается как возможность представления системы частью суперсистемы более высокого уровня иерархии, а любой части системы – как системы более низкого уровня.

    Конечность СТС указывает на конечность потребных для ее создания ресурсов, т. е. принципиальную ее реализуемость.

    Помимо этих свойств СТС присущи сложность, высокая стоимость, многоцелевой характер.

    Сложность СТС определяется большим числом ее возможных состояний. В стоимость включаются затраты на создание, производство и эксплуатацию. Многоцелевой характер СТС приводит к необходимости характеризовать ее свойства рядом показателей, требования к которым нередко оказываются противоречивыми.

    Формы и методы сертификации сложных изделий отличаются от традиционных подходов, применяемых при сертификации более простого оборудования. Например, сертификация аудио– и видеотехники не связана с подтверждением в рамках сертификационных испытаний показателей надежности, в то время как для оборудования летательных аппаратов такая проверка показателей надежности обязательна.

    Анализ отечественных и зарубежных процедур сертификации СТС свидетельствует, что основная отличительная особенность зарубежной технологии их проектирования и создания заключается в сертификационной направленности всех видов работ (начиная с этапа эскизного проектирования), т. е., по существу, в реализации принципа «сквозной» сертификации, нашедшего широкое применение в мировой практике. Сертификация проводится с начала проектирования на всех этапах создания опытного изделия и включает значительные объемы моделирования и наземных лабораторно-стендовых испытаний на воздействие широкого спектра условий и факторов жизненного цикла изделия.

    Реализация данного принципа (например в авиакосмической отрасли) способствует сокращению сроков доводки и летных испытаний летательных аппаратов (ЛА). Такой подход к сертификации широкофюзеляжных самолетов Боинг-747, DC-10 и L-1011 позволил провести летные испытания по доводке и сертификации всего за один год.

    В этом случае еще на ранних стадиях создания ЛА могут быть вскрыты недостатки, в том числе несоответствие требованиям норм летной годности (НЛГ), тактико-технических требований (ТТТ) и др. нормативной документации, которые легче устранить до или в процессе создания опытного ЛА, чем во время его летных испытаний. Здесь уместно процитировать высказывание академика А. Н. Туполева: «Чем дальше от доски конструктора обнаруживается ненадежность, тем дороже она обходится». В соответствии с известным правилом десятикратного роста затрат стоимость обнаружения отказа в эксплуатации в 10 раз превышает стоимость затрат на обеспечение надежности на стадии проектирования.

    Для реализации этого принципа уже на этапе эскизного проектирования разрабатывается программа сертификации, которая охватывает все виды работ. Зарубежные авиационные фирмы относят разработку и развитие программы сертификации к серьезной инженерной работе, выполняемой проектировщиками и специальной службой (подразделением, отвечающим за координацию работ по сертификации).

    Подготовка к сертификации ведется с начала проектирования, и к летным испытаниям она достигает более 50 % всего объема. При этом темпы получения необходимой документации резко увеличиваются на втором году создания самолета (когда уже действуют все стенды) и сохраняются около года на всем протяжении летных испытаний. Характерной особенностью работ на всех этапах разработки является их сертификационная направленность, ориентация на последовательное заполнение пунктов таблиц соответствия, т. е. доказательство (методами анализа, статистическими данными, рабочей технической документацией, результатами наземных и летных испытаний) соответствия характеристик ЛА нормам НЛГ.

    Программа «сквозной» сертификации должна включать создание моделей, стендов и других установок; разработку или уточнение методов исследований; проведение моделирования, лабораторных, стендовых и летных испытаний с оценкой соответствия самолета требованиям НЛГ; разработку и реализацию технологии летных испытаний; оформление доказательной документации и таблиц соответствия, заключений НИИ и в завершение – представление материалов в Авиарегистр межгосударственного авиационного комитета (АР МАК) для получения сертификата летной годности.

    Следует особо отметить, что важнейшей процедурой реализации принципа «сквозной» сертификации является верификация, которая в мировой практике находит все более широкое применение, главным образом, при проверке и оценке результатов проектно-конструкторских работ (выполняемых соответствующими конструкторскими подразделениями) на начальном этапе создания новой техники. Данная процедура является практически единственным способом подтверждения истинности и правильности принятых технических решений в условиях большой степени неопределенности, имеющей место на начальных этапах проектирования, когда еще нет изготовленных элементов проектируемых СТС и их испытания еще невозможны. Верификации подлежат вновь разработанные конструкции элементов СТС и процессы их функционирования; мероприятия по повышению качества изделий; оценка результатов реализации этих мероприятий и т. д.

    Верификация (в зависимости от характера, особенностей и вида оцениваемых технических решений) может основываться на аналитических исследованиях; расчетах; математическом и физическом моделировании; тщательном анализе исходных данных, проектно-конструкторской, технологической и эксплуатационной документации; сравнении с образцами-аналогами и т. д.

    По результатам верификации, по которым выявлены те или иные несоответствия, разрабатываются и реализуются предупреждающие мероприятия, охватывающие различные аспекты деятельности ОКБ, направленные на устранение выявленных при верификации несоответствий (дефектов конструкции и др.) и, тем самым, на повышение безопасности и надежности сложных технических изделий. Для доказательства эффективности предупреждающих мероприятий они, в свою очередь, также подвергаются процедурам верификации.

    Документированные результаты верификации используются при завершающей сертификации изделий авиакосмической техники в качестве доказательной документации наряду с результатами наземных и летных испытаний, статистическими данными о качестве изготовления и эксплуатации изделий, результатами исследования отказов и оценкой эффективности мероприятий по повышению безопасности и надежности, разрабатываемых и реализуемых на последующих стадиях создания СТС.

    К следующему этапу «сквозной» сертификации, проводимой на начальных этапах проектирования, можно отнести лаборатор-но-стендовые сертификационные испытания уже изготовленных образцов спроектированных агрегатов, механизмов, узлов и систем создаваемых сложных технических изделий.

    Учитывая сформировавшуюся в отечественной ракетно-космической промышленности и полностью оправдавшую себя ведущую роль наземной отработки для подтверждения характеристик и свойств создаваемых изделий ракетно-космической техники (РКТ), а также требуемого уровня их надежности и безопасности (как необходимых атрибутов сертификации), представляется вполне логичным и целесообразным усиление роли лабораторно-стен-довой отработки (ЛСО) при реализации принципа «сквозной» сертификации изделий РКТ. Суть предлагаемого подхода заключается в использовании для составления матрицы выполнения требований результатов автономных и комплексных лаборатор-но-стендовых испытаний уже изготовленных образцов спроектированных агрегатов, механизмов, узлов и систем создаваемых изделий. Следует отметить, что данный подход полностью коррелирует с Положением Федеральной системы сертификации космической техники (ФСС КТ), в соответствии с которым сертификационные испытания изделий РКТ, их систем и элементов, совмещаются с предусмотренными конструкторской и эксплуатационной документацией наземными испытаниями, летно-кон-структорскими и зачетными летными испытаниями.

    В развитие вышеуказанного подхода представляется целесообразным приведение в соответствие отечественных требований и норм лабораторно-стендовых испытаний с общепринятыми в мировой практике требованиями и нормами развитой системы сертификационных испытаний, связанной с условиями рыночной конкуренции и жесткой регламентацией качества.

    Таким образом, правомерно заключить, что для придания лабораторно-стендовым испытаниям сертификационной направленности, методы и средства проведения лабораторно-стендовых сертификационных испытаний изделий РКТ также должны быть подвергнуты процедурам верификации, т. е. проверке и доказательству (подтверждению) их соответствия требованиям и нормам отечественных и международных стандартов и другой нормативной документации.

    В связи с вышесказанным еще на начальном этапе создания изделия должны разрабатываться (с позиций гармонизации с международными нормами и требованиями) методики сертификационных испытаний изделий РКТ и экспериментально-испытательных средств (ЭИС), с помощью которых на этапе ла-бораторно-стендовой отработки (ЛСО) будет осуществляться заполнение значительного объема таблицы соответствия. Данная работа должна быть завершена к концу этапа разработки рабочей документации (РД) и входить в состав доказательной документации при экспертизе РД с целью формирования заключения о ее соответствии (по состоянию) в рамках положения ФСС КТ.

    4.2. Федеральная система сертификации ракетно-космической техники научного и народнохозяйственного назначения (ФСС КТ)

    ФСС КТ предназначена для проведения как обязательной, так и добровольной сертификации изделий РКТ в соответствии с законами РФ «О сертификации продукции и услуг», «О космической деятельности» и «Положением о Российском авиакосмическом агентстве».

    ФСС КТ распространяется на следующие объекты:

    • космическую технику, включая космические объекты, наземные и иные объекты космической инфраструктуры научного и народнохозяйственного назначения и их составные части (создаваемые вновь и модифицированные, а также находящиеся в серийном производстве и эксплуатации);

    • оборудование, применяемое при создании и использовании космической техники;

    • импортируемые компоненты РКТ;

    • модели РКТ зарубежного производства, предназначенные для выведения на орбиту с помощью российских ракет-носителей и размещенные на российских космических аппаратах;

    • разработку, испытания, производство, эксплуатацию и утилизацию РКТ;

    • космические услуги;

    • системы качества и производства РКТ;

    • испытательные лаборатории (центры);

    • экспертов-аудиторов.

    Сертификация РКТ осуществляется в целях:

    • подтверждения соответствия ракетно-космических комплексов, их составных частей и услуг в области космической деятельности предъявляемым требованиям в случаях, предусмотренных законодательством РФ;

    • создания условий для коммерциализации космической деятельности в РФ;

    • создания благоприятных условий для страхования космической техники;

    • защиты потребителя космической техники от поставки недоброкачественных изделий РКТ;

    • контроля безопасности космической техники для окружающей среды, жизни, здоровья и имущества.

    Системой сертификации РКТ решаются следующие основные задачи:

    • сертификация изделий РКТ, процессов и услуг в области космической деятельности;

    • сертификация систем качества РКТ;

    • оформление сертификатов на образцы РКТ по завершению процедуры сертификации;

    • аккредитация сертифицируемых органов (лабораторий);

    • аттестация экспертов – аудиторов системы сертификации РКТ;

    • проведение работ по признанию сертификатов по РКТ, выданных органами по сертификации, не являющимися членами ФСС КТ;

    • формирование банка данных ФСС КТ и обеспечение функционирования системы информации в области сертификации РКТ;

    • надзор за качеством сертифицированной продукции;

    • надзор за сертифицированными системами качества производства;

    • инспекционный контроль за деятельностью сертификационных органов, испытательных центров (лабораторий);

    • разработка и совершенствование нормативно-технической и методической документации по сертификации РКТ, процессов и услуг в области космической деятельности;

    • создание и ведение реестра ФСС КТ;

    • рассмотрение апелляций по результатам аккредитации, аттестации и сертификации.

    В основу работы системы сертификации РКТ положены следующие положения;

    • организация ФСС КТ и управление ею Российским космическим агентством;

    • контроль за деятельностью системы со стороны Росавиакосмоса и Госстандарта России;

    • соблюдение и независимость органов сертификации, аккредитованных при ФСС КТ в установленном порядке, от заказчиков и изготовителей;

    • взаимодействие ФСС КТ с другими национальными, зарубежными и международными системами;

    • максимальная преемственность системы сертификации и системы научно-технической экспертизы, действующей в ракетно-космической промышленности;

    • максимальное использование имеющегося потенциала (экспериментальной базы, научно-технических кадров, научно-методического и нормативного обеспечения, информационной базы, системы технологического обеспечения создания и производства РКТ);

    • соответствие РКТ требованиям НД на всех этапах эксплуатации изделий;

    • наличие как обязательной, так и добровольной сертификации изделий РКТ.

    Обязательная сертификация проводится: в случаях, установленных законодательством РФ, нормативно-технической документацией, договором на НИОКР; при лицензировании космической деятельности Росавиакосмоса.

    Добровольная сертификация проводится по заявке поставщика или потребителя РКТ.

    Схема обязательной сертификации РКТ предусматривает оценку результатов испытаний изделий, системы качества, аттестацию производства и надзор за качеством РКТ в процессе ее произвол-ства и эксплуатации.

    Схема добровольной сертификации определяется по согласо-ванию между сертификационным центром и заявителем.

    В системе сертификации РКТ выдаются:

    • сертификат технической годности экземпляра РКТ и его комплектующих систем к проведению летных испытаний или решению целевых задач в космическом пространстве;

    • сертификат типа РКТ, подтверждающий годность изделия аттестуемого типа и его комплектующих систем к летной эксплу-атации;

    • сертификат на систему качества при создании и произвол-стве изделий РКТ, их систем и комплектующих элементов или аттестат производства при сертификации производства незави-симо от сертификации изделия;

    • на изделия РКТ, находящиеся в серийном производстве и эксплуатации, не имеющие сертификатов, выдается сертификат годности типа (экземпляра) изделия РКТ.

    Структура ФСС КТ приведена на рис. 4.1. Орган Государственного управления ФСС КТ – Росавиакос-мое.

    • организует обязательную сертификацию РКТ;

    • через систему научно-исследовательских организаций руко-водит созданием, функционированием и развитием ФСС КТ пу-тем определения органов по сертификации и их аккредитации, определения испытательных центров и их аккредитации, опре-деления перечня сертифицируемых изделий, процессов и услуг, установления правил и процедур сертификации, разработки си-стем НД, обеспечивающих формирование РКТ и определяющих порядок ее функционирования, задействования системы про-граммно-математического и информационного обеспечения сер-тификации, подготовки и аттестации аудиторов;

    • регистрирует ФСС КТ в Госстандарте РФ;

    • организует и осуществляет взаимодействие с другими орга-нами государственного управления;

    • осуществляет государственное субсидирование работ по со-зданию и развитию ФСС КТ;

    • разрешает выдачу сертификатов соответствия на РКТ науч-ного и народнохозяйственного значения, процессы и услуги в области космической деятельности;

    • принимает решение о прекращении или приостановке дей-ствия сертификатов;



    • определяет и утверждает перечни изделий, процессов и услуг в области космических характеристик, подлежащих сертификации;

    • лицензирует деятельность в области сертификации РКТ путем заключения лицензионных договоров и выдачи лицензий (аккредитации) на право осуществления деятельности по сертификации изделий, процессов и услуг в области РКТ;

    • осуществляет контроль за деятельностью органов по сертификации, испытательных центров (лабораторий), аккредитованных в ФСС КТ;

    • рассматривает апелляции по вопросам сертификации;

    • принимает решение о признании сертификатов на изделия, процессы и услуги в области космической деятельности, выданные другими системами сертификации;

    • через систему институтов осуществляет научно-методическое руководство работами по сертификации РКТ;

    • заключает международные соглашения по сертификации РКТ;

    • определяет и аккредитует центральный орган ФСС КТ.

    Центр сертификации КТ (ЦС КТ) входит в ФСС КТ, работает под научно-методическим руководством Росавиакосмоса и его институтов, организует и осуществляет сертификацию РКТ и ее составных частей.

    ЦС КТ имеет статус юридического лица, является независимым от поставщиков и потребителей продукции РКТ, процессов и услуг в области космической деятельности, подвергаемых сертификации ЦС КТ, аккредитуется Росавиакосмосом в ФСС КТ в соответствии с правилами и процедурами, установленными системой.

    На основе лицензионного соглашения с Росавиакосмосом ЦС КТ проводит сертификацию изделий, процессов и услуг в области РКТ и космической деятельности, оформление сертификатов, работы по аккредитации органов по сертификации испытательных центров и лабораторий, аттестации экспертов-аудиторов.

    Росавиакосмос на основе соглашения с Госстандартом России и другими органами государственного управления создает Руководящий совет ФСС КТ для организационно-технического и научно-методического руководства работами по созданию, задействованию и развитию ФСС КТ. Деятельность Руководящего совета регламентируется соответствующим положением. В необходимых случаях Росавиакосмос определяет центральный орган ФСС КТ. Центральный орган должен быть юридическим лицом.

    Функции Центрального органа могут выполнять Руководящий совет ФСС КТ, центр сертификации КТ.

    В рамках ФСС КТ создаются органы по сертификации:

    • функциональных систем изделий ракетно-космической техники (ракетных блоков, двигательных установок, систем электропитания, систем телеизмерений, систем управления, стыковочных устройств, радиотехнических бортовых систем, заправочных систем и пр.);

    • систем качества при разработке и производстве РКТ;

    • метрологического обеспечения производства РКТ;

    • прочности, аэрогазодинамики, динамики ракет-носителей, разгонных блоков и космических аппаратов, тепловых режимов и материалов;

    • оборудования, используемого при испытаниях и производстве изделий РКТ;

    • а также другие органы, необходимые для проведения всесторонней и объективной оценки соответствия изделий РКТ и элементов космической инфраструктуры предъявляемым требованиям (например органы по сертификации услуг, предоставляемых в процессе космической деятельности). Органы по сертификации имеют статус юридического лица, аккредитуются в ФСС КТ и выполняют практические процедуры сертификации конкретных видов изделий РКТ, процессов и услуг. Работа органов по сертификации координируется и направляется центром сертификации РКТ.

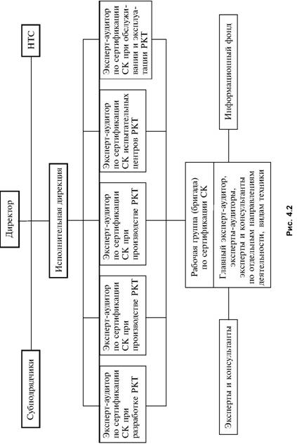
    В состав центра сертификации РКТ входит орган по сертификации систем качества (ОС СК) предприятий-разработчиков и предприятий-изготовителей в процессе разработки, производства, испытаний и технического сопровождения (обслуживания) в эксплуатации РКТ, а также систем качества испытательных центров.

    Структура ОС СК представлена на рис. 4.2.

    Информационный фонд ОС СК, входящий в общую информационную систему ЦС КТ, содержит:

    • нормативно-технические документы по обеспечению качества РКТ в процессе ее разработки, производства, испытаний и эксплуатации;

    • нормативно-методические документы Росавиакосмоса, ФСС

    КТ и ЦС КТ;

    • международные, национальные и отечественные стандарты и другие нормативные и методические документы по управлению качеством, системам качества и сертификации систем качества;


    • банк данных по сертификации систем качества изделий РКТ и качества соответствующих изделий.

    Основой организационной структуры ОС СК является группа штатных экспертов-аудиторов по сертификации систем качества. В компетенцию экспертов-аудиторов входит:

    • организация рабочих групп по сертификации систем каче-ства конкретного предприятия;

    • руководство процессом сертификации на предприятии (вы-полнение функций руководителя рабочей группы – главного эк-сперта-аудитора);

    • разработка заключений и предложений по результатам сер-тификации;

    • инспектирование сертифицированных систем качества;

    • разработка нормативной и методической документации по сертификации систем качества.

    Научно-технический совет (НТС) является совещательным органом и формируется Генеральным директором из ведущих специанистов по сертификации систем качества и обеспечению качества РКТ.

    В компетенцию НТС входит:

    • определение состава организаций и специанистов, в том числе зарубежных, привлекаемых для проведения сертификации сис-тем качества;

    • рассмотрение деятельности органов по сертификации сис-тем качества, аккредитованных в ФСС КТ.

    Испытательные центры (лаборатории) – аккредитованные в ФСС КТ предприятия, учреждения и организации – проводят испытания РКТ, имеющие статус сертификационных, т. е. такие испытания, результаты которых могут быть использованы при сертификации РКТ в соответствии с правилами и процедурами системы.

    Аттестация испытательного центра (лаборатории) в ФСС КТ означает официаньное признание его технической компетентное-ти в вопросах проведения различных видов испытаний РКТ, а также его независимости от разработчиков, изготовителей, заказчиков изделий РКТ и других юридических и физических лиц. В центре должна действовать система обеспечения качества, разработанная с учетом рода деятельности центра и объема работ. Документация на систему обеспечения качества входит в руководство по каче-ству, отвечающее требованиям ИСО/МЭК 23, и включает:

    • организационную схему центра;

    • функциональные задачи служб качества;

    • общие процедуры обеспечения качества, в том числе при проведении каждого испытания в отдельности;

    • методы проверки качества проведения испытаний;

    • организацию обратной связи и корректирующих действий при выявлении несоответствий в процессе испытаний;

    • процедуры рассмотрения рекламаций.

    Для учета объектов, участников работ и документов по сертификации, организации системного информационного обслуживания работ по проведению технической политики и управления сертификации продукции Росавиакосмосом ведется Реестр ФСС КТ.

    Сертификаты имеют юридическую силу только при наличии регистрационного номера Реестра.

    В реестр включаются:

    • сертифицированная продукция (услуга);

    • сертифицированные системы качества;

    • аттестованные производства;

    • аккредитованные органы по сертификации конкретных видов продукции (услуг), систем качества и аттестации производств;

    • аккредитованные испытательные центры;

    • аттестованные эксперты-аудиторы;

    • документы, устанавливающие порядок сертификации конкретных видов продукции;

    • решение о признании сертификатов на продукцию, поставляемую для комплектации РКТ и сертифицированную в других системах;

    • решение о признании в ФСС КТ знаков соответствия.

    4.3. Сертификация качества авиационной техники

    4.3.1. Нормы летной годности

    Международная организация гражданской авиации (ИКАО), одной из главных задач которой является обеспечение безопасности полетов, установила, что страны-члены ИКАО должны выдавать зарегистрированным у них самолетам, выполняющим международные рейсы, сертификат, гарантирующий их соответствие нормам летной годности (НЛГ) и установленный уровень безопасности. Это правило впоследствии было распространено и на самолеты, эксплуатируемые в пределах отдельной страны. Каждый вновь создаваемый гражданский самолет должен получить сертификат летной годности, после чего он может быть допущен к эксплуатации.

    Сертификация самолета – процесс оценки (контроля) соответствия самолета НЛГ. При этом предусматривается контроль сохранения летной годности в течение всего периода эксплуатации каждого самолета. Отечественный и зарубежный опыт свидетельствует, что сертификация гражданских самолетов является мощным средством достижения безопасности полетов. Это особо важно для широкофюзеляжных самолетов, на борту которых могут находиться несколько сотен пассажиров.

    Для обеспечения проведения сертификации самолета необходимо, чтобы к началу его проектирования были определены:

    • НЛГ, применимые для данного типа самолета, и методы определения соответствия (МОС);

    • система сертификации, включающая правила (порядок) контроля соответствия и определяющая организации, ответственные за проведение сертификации;

    • программа работ по обеспечению соответствия самолета требованиям НЛГ и проведению сертификации, включая необходимые исследования, создание моделей, стендов и других установок, проведение моделирования, лабораторных, стендовых и летных испытаний, составление таблиц соответствия и доказательной документации.

    Большое значение в обеспечении безопасности полета имеют НЛГ, вследствие чего разработке и постоянному их совершенствованию уделяется большое внимание. НЛГ содержат государственные требования к летной годности самолета, направленные на обеспечение безопасности полета. Известно, что безопасность полета – это комплексная характеристика авиационной транспортной системы, включающей самолет, экипаж, службы подготовки и обеспечения полета и службу управления воздушным движением. НЛГ определяют ту часть безопасности полета, которая обеспечивается самолетом и экипажем, пилотирующим самолет в соответствии с указаниями Руководства по летной эксплуатации (РЛЭ).

    При четко отлаженной системе сертификации можно считать, что уровень национальных НЛГ в целом характеризует и уровень летной годности гражданских самолетов данной страны.

    Необходимо учитывать, что, с одной стороны, НЛГ определяют достигнутый уровень техники, а с другой – способствуют ее прогрессу. Одновременно следует иметь в виду, что требования летной годности нередко противоречат требованиям к другим характеристикам самолета, например к его экономической эффективности. В частности, аэронавигационный невырабатываемый запас топлива (с точки зрения обеспечения летной годности) должен быть возможно большим, а с точки зрения экономики – минимальным.

    Сравнительная оценка НЛГ стран с наиболее развитой авиационной промышленностью – России, США, Англии и Франции, свидетельствует о том, что они определяют практически одинаковый уровень летной годности гражданских самолетов. Наибольшим авторитетом среди зарубежных НЛГ пользуются нормы США (FAR) и европейские (JAR), причем в США нормы летной годности разрабатываются с 1926 г. В СССР НЛГ впервые были созданы в 1967 г. (НЛГС), а до этого требования по безопасности включались в технические требования (ТТ) на каждый новый гражданский самолет. По своему уровню НЛГ 1967 г., в основном, соответствовали требованиям ИКАО и учитывали требования FAR и JAR. В 1971 г. были изданы «Нормы летной годности гражданских вертолетов СССР» (НЛГВ). Однако широкого применения ни НЛГС, ни НЛГВ не получили ввиду отсутствия в то время в СССР системы сертификации.

    В 1971 г. была создана Межведомственная комиссия по нормам летной годности гражданских самолетов и вертолетов СССР (MB НЛГ СССР), которой было поручено осуществлять руководство и координацию работ по постоянному совершенствованию и развитию отечественных НЛГ с учетом достижений авиационной техники, опыта эксплуатации, специальных исследований и зарубежной практики. Одновременно была начата разработка системы сертификации гражданских самолетов СССР и создан Государственный авиационный регистр СССР, в результате чего отечественные НЛГ стали на практике обязательны при создании новых самолетов и решений вопросов о допуске их к эксплуатации. В разработке и согласовании НЛГ участвовали Госавиарегистр, НИИ гражданской авиации, НИИ и ОКБ авиационной промышленности, а также объединение «Авиаэкспорт».

    В 1974 г. авиационной промышленностью разработаны и введены в действие «Нормы летной годности гражданских самолетов СССР» (НЛГС-2), которые полностью соответствуют требованиям ИКАО и находятся на уровне FAR и JAR. Согласно НЛГС-2 были сертифицированы самолеты Як-42, Ил-86. В 1975 г. были разработаны и введены в действие «Временные нормы летной годности гражданских сверхзвуковых самолетов СССР» (ВНЛГСС). В 1972 г., в основном, разработаны «Методы определения соответствия требованиям НЛГС-2», издан ряд изменений к НЛГС-2, начата подготовка нового издания НЛГС-3 и НЛГВ-2, разрабатываются изменения в ВНЛГСС.

    НЛГ должны постоянно развиваться и совершенствоваться, в противном случае они могут стать тормозом в развитии авиационной техники.

    По результатам этой работы с учетом новых требований ИКАО, опыта совершенствования зарубежных и национальных НЛГ, развития авиационной науки и техники было подготовлено и введено в действие третье издание «Норм летной годности гражданских самолетов СССР» (НЛГС-3, 1984 г.), которые в 1985 г. были приняты в качестве «Единых норм летной годности гражданских транспортных самолетов» (ЕНЛГ-С) стран-членов СЭВ. Новое поколение отечественных пассажирских самолетов проходит сертификацию уже в соответствии с требованиями НЛГС-3. По НЛГС-3 были сертифицированы самолеты Ил-96 и Ту-204.

    Сравнительный анализ НЛГС-3, FAR и JAR показал, что устанавливаемые ими уровни безопасности практически эквивалентны. По отдельным требованиям между ними имеются отличия, содержащие менее или более жесткие требования к отдельным характеристикам. Отличие НЛГС-3 от FAR и JAR – в структуре расположения требований и их нумерации, что затрудняет использование НЛГС СССР за рубежом.

    С 1990 г., в соответствии с решением Совета по нормам летной годности России, была начата работа по сближению НЛГ России с нормами США и Западной Европы по структуре и содержанию требований с учетом обеспечения конкурентоспособности отечественных воздушных судов.

    Цель работы:

    • повышение уровня безопасности полета;

    • способствование экспорту отечественной авиатехники;

    • упрощение процедур международного признания отечественных норм и их практического использования за рубежом;

    • развитие возможностей международного сотрудничества по внедрению отечественного опыта нормирования и сертификации гражданских воздушных судов.

    Разработаны авиационные правила (АП), определяющие требования к летной годности, сертификации воздушных судов, защите окружающей среды от воздействия авиации. Нумерация раздела АП аналогична нумерации FAR.

    В 1993 г. изданы Авиационные правила 23 «Нормы летной годности легких самолетов». По ним были сертифицированы самолеты СУ-29 и ИЛ-103.

    В 1994 г. изданы Авиационные правила 25 «Нормы летной годности самолетов транспортной категории», по ним был сертифицирован самолет ИЛ-96Т.

    В 1995 г. изданы Авиационные правила «Нормы летной годности вертолетов».

    В 1993 г. вышли АП-23 для легких самолетов, по этим авиационным правилам сертифицированы самолеты Су-29 и Ил-103.

    В 1994 г. вышли АП-21 по процедурам сертификации авиатехники и АП-25 для транспортных самолетов. По нормам АП-25 сертифицирован самолет Ил-96Т.

    В 1995 г. вышли АП-29 для вертолетов.

    Современные гражданские самолеты, особенно широкофюзеляжные, снабжены навигационно-пилотажными комплексами (НПК), решающими задачи автоматизированного управления, самолетовождения и посадки по II и III категориям ИКАО, что оказывает существенное влияние на уровень летной годности самолета. В связи с этим очень важным является вопрос о целесообразности коренного изменения в подходах к созданию норм и перехода от требований к разрозненным приборам или системам к требованиям летной годности НПК. Современные газотурбинные двигатели снабжены сложными средствами (системами) автоматического регулирования и контроля, значительно возросла степень двухконтурности, что также может служить предметом дальнейшего совершенствования НЛГ. Одним из основных типов магистральных самолетов становятся широкофюзеляжные самолеты с количеством пассажиров 300–500 человек. Повышение летной годности, а следовательно, и безопасности таких самолетов – задача чрезвычайно актуальная.

    Весьма важную роль приобретают также вероятностные критерии в нормировании и оценке возникновения особых ситуаций и в целом летной годности. Учитывая, что большинство принятых в НЛГ показателей устойчивости и управляемости, прочности и др. подвержены влиянию случайных факторов – отказов, разброса параметров пилотирования и ожидаемых условий эксплуатации, можно предположить, что в будущем статистико-вероятно-стные показатели найдут широкое применение в НЛГ.

    4.3.2. Системы сертификации

    В соответствии с действующими положениями в промышленности и в Авиарегистре (последние обязательны для промышленности и гражданской авиации) система сертификации предусматривает постоянный (непрерывный) и поэтапный контроль соответствия вновь создаваемых самолетов требованиям НЛГ.

    Для повышения безопасности полетов воздушных судов, обеспечения их качества и конкурентоспособности на мировом рынке, снижения вредного воздействия на окружающую среду, а также предотвращения поставок авиационного бортового оборудования низкого качества, признано целесообразным создание в Российской Федерации системы сертификации стандартизованных изделий (аппаратуры, агрегатов, узлов и комплектующих изделий) авиационной техники.

    Для решения этих задач в научно-исследовательском институте стандартизации и унификации (НИИСУ) создан центр сертификации стандартизованных изделий, которому поручены:

    • методическое и организационно-техническое обеспечение и проведение работ по сертификации стандартизованных изделий авиационной техники, гражданской продукции, товаров народного потребления и их производства;

    • разработка комплекса нормативно-технических документов, определяющих нормы, методы, средства и порядок проведения сертификации изделий и производства в соответствии с международной практикой;

    • оценка качества изделий, технологических процессов, оборудования и производства в целом на соответствие требованиям, предъявляемым к сертифицируемым изделиям и производству;

    • проведение работ по сертификации изделий и производства, в том числе организация и участие в сертификационных испытаниях;

    • содействие испытательным лабораториям (центрам) по их аккредитации в Государственной системе и зарубежных Органах на статус сертификационных лабораторий (центров) и др.

    В настоящее время НИИСУ совместно с головными институтами отрасли организует эту работу и подготавливает к утверждению ряд нормативных документов по сертификации стандартизованных изделий, аккредитации испытательных лабораторий, метрологическому обеспечению и др.

    Постоянный контроль возложен на созданные в авиационной промышленности центры сертификации по тематической направленности. Важность постоянного наблюдения (в процессе создания самолета) за его соответствием требованиям НЛГ очевидна. В связи с этим следует особо подчеркнуть роль этих центров в процессе сертификации, функции которых состоят в методическом руководстве работами по сертификации, контроле соответствия самолета требованиям НЛГ, координации процесса сертификации в ОКБ и на предприятиях-разработчиках с Авиарегистром, НИИ промышленности и Министерством гражданской авиации (МГА). Опыт показывает, что в тех случаях, когда Центр по сертификации располагает квалифицированными кадрами и выполняет указанные функции, он является весьма полезным помощником в обеспечении соответствия самолета требованиям НЛГ.

    Поэтапный контроль, в том числе по эскизному проекту, макету, на заводских, государственных (совместных государственных) и эксплуатационных испытаниях самолета возложен по линии промышленности на Летно-испытательный институт (ЛИИ) – головной институт промышленности по сертификации, с участием других НИИ, ОКБ, а по линии Министерства гражданской авиации (МГА) – на Государственный научно-исследовательский институт гражданской авиации (ГосНИИГА). Авиационные правила предусматривают сертификацию самолета вместе с двигателем и оборудованием, и двигателя и оборудования – до установки на самолет.

    Сертификация двигателя и оборудования в центрах до установки на самолет, а также контроль соответствия серийно выпускаемых самолетов, двигателей и оборудования возложены на изготовителя (разработчика) и представителя заказчика на данном предприятии. При этом перечень оборудования данного самолета, подлежащего сертификации, согласуется изготовителем самолета с Авиарегистром, ГосНИИГА и головным институтом промышленности по сертификации.

    Сертификация самолета начинается с момента подачи в Авиарегистр Генеральным (Главным) конструктором соответствующей заявки. Основной документацией при сертификации создаваемых в России дозвуковых самолетов, включая широкофюзеляжные, являются действующие Авиационные правила, таблицы соответствия, доказательные материалы и сертификат (удостоверение) летной годности.

    Действующая система сертификации предусматривает следующие разновидности сертификата летной годности:

    • свидетельство о годности изделия (двигателя, оборудования и др.) – по результатам сертификации до установки на самолет;

    • временный сертификат летной годности – по результатам заводских испытаний самолета вместе с двигателями и оборудованием, который дает право на проведение государственных и эксплуатационных испытаний, а также демонстрационных полетов;

    • сертификат летной годности типа ЛА, который по результатам государственных (совместных) и эксплуатационных испытаний самолета вместе с двигателями и оборудованием дает право на эксплуатацию самолета данного типа;

    • удостоверение о годности самолета к полетам, дающее право по результатам оценки соответствия на допуск данного экземпляра самолета в эксплуатацию;

    • отметка в формуляре (паспорте) изделия (двигателя, оборудования и др.), которая по результатам оценки соответствия дает право на установку серийного изделия на самолет. Такие же отметки делаются и в формулярах конечной продукции – самолета или двигателя.

    Международная практика сертификации в соответствии со стандартами по обеспечению качества ИСО 9000, 10000 требует от изготовителей дать не только определенные гарантии на соответствие уровня качества изделия, но и гарантии по стабильности качества «во времени и пространстве» работы изделий на весь период их производства и эксплуатации, что невозможно осуществить без сертификации всей системы управления качеством, исходного сырья, полуфабрикатов, технологии.

    В авиационной промышленности эта практика реализуется при сертификации:

    • материалов (Всероссийский институт легких сплавов (ВИЛС), Всероссийский институт авиационных материалов (ВИАМ)) на основе так называемой системы СУПРОКАМ;

    • комплектующих изделий (научно-исследовательский институт авиационного оборудования (НИИАО), НИИСУ);

    • технологии и аттестации производства с учетом требований мирового рынка (научный институт авиационной техники (НИАТ), научно-исследовательский институт двигателей (НИИД), научно-исследовательский технологический институт (НИТИ));

    • систем управления качеством продукции (НИИСУ);

    • аттестации персонала сертификационных органов. Все эти процессы взаимосвязаны.

    Остановимся на них более подробно. Для разных типов ЛА существуют и развиваются свои системы управления качеством:

    • авиационных материалов (СУПРОКАМ);

    • авиационной технологии (СУПРОКАТ);

    • покупных комплектующих изделий;

    • собственных изделий.

    Практика отраслевой сертификации, опираясь на такую систему, выдает или планирует выдавать паспорта на материалы и покупные комплектующие изделия (ПКИ), аттестаты на технологические процессы и технологическое оборудование, временные сертификаты на технологические процессы и изделия типа (по завершении государственных испытаний опытного образца), а затем сертификаты на производство ЛА определенного типа (по завершении государственных испытаний серийного образца).

    В частности, система СУПРОКАМ является составной частью системы управления качеством изделий авиационной техники и обеспечевает высокое качество материалов и полуфабрикатов на стадии их создания, внедрения и серийного производства, а также разработку и внедрение прогрессивной технологии производства материалов и полуфабрикатов.

    Сертификат на материал устанавливает гарантированный уровень свойств и работоспособность материала в полуфабрикатах и элементах конструкций с учетом ресурса. В сертификате на материал указываются:

    • статистически оцененные показатели механических и эксплуатационных свойств;

    • область применения (в соответствии с условиями эксплуатации);

    • уровень гарантированных свойств по техническим условиям полуфабрикатов, деталей, узлов и изделий по (ТУ);

    • предельные параметры и условия обеспечения работоспособности материала на заданный ресурс в соответствии с условиями эксплуатации;

    • основные условия конструирования и применения; методы контроля и нормы;

    • влияние технологических факторов изготовления полуфабрикатов и деталей на свойства материалов, ремонтопригодность.

    При оформлении сертификата необходимо согласование по: уровню свойств – с Центральным аэрогидродинамическим институтом (ЦАГИ), Центральным институтом авиационных моторов (ЦИАМ), ОКБ; технологичности – с ВИЛС, НИАТ, НИИД, НПО «Технология».

    СУПРОКАМ предусматривает разработку паспорта, в котором указываются определяющие параметры качества: надежность, ресурс, технологичность, материало-, энерго– и трудоемкость, ремонто– и контролепригодность, дефицитность, стабильность, бездефектность, степень прогресса (квоты превосходства).

    Паспорт содержит: комплекс свойств и рекомендаций по применению; разрешение на опробование в опытном производстве.

    При оформлении паспорта учитываются: физические параметры (15–20 параметров); механические параметры (200–270 параметров); технологические параметры (15–20 параметров); сравнительные данные с отечественными и зарубежными аналогами; область применения; виды полуфабрикатов.

    При оформлении паспорта необходимо согласование по объему исследований и испытаний с ЦАГИ, ЦИАМ, ОКБ, ВИЛС.

    Сертификат на технологический процесс изготовления особо ответственных узлов и деталей устанавливает гарантированный уровень стабильности параметров технологического процесса, обеспечивающих заданные характеристики деталей и узлов, влияющих на работоспособность в пределах установленных сроков службы в ожидаемых условиях эксплуатации изделия, определенных по НЛГ.

    В сертификате на технологический процесс (оборудование) указываются:

    • статистические оценки показателей механических и эксплуатационных свойств деталей и узлов, изготовленных по данной технологии;

    • область применения и условия эксплуатации деталей и узлов;

    • уровень гарантированных свойств по ТУ технологического оборудования в конкретных условиях эксплуатации;

    • необходимые методы и нормы контроля конкретными средствами;

    • влияние технологических факторов (переходов) изготовления на свойства продукции (технологическая наследственность и др.).

    Таким образом, опережающая сертификация материалов, ПКИ, технологических процессов и оборудования, изделия (типа) позволяет на ранних этапах создания сложных уникальных изделий иметь достаточно широкую объективную информацию о качестве изделий перед их серийным производством, являясь предварительным этапом сертификации серийного производства в целом.

    Аналогичные задачи ставятся и перед системой СУПРОКАТ – системой управления качеством авиационной технологии. Как и в системе СУПРОКАМ, в ней подвергаются анализу и сертификации технологические процессы и оборудование для изготовления только особо ответственных узлов и деталей, качество изготовления которых прямым образом влияет на безопасность работы изделия в целом.

    СУПРОКАТ предусматривает разработку паспорта на технологический процесс и технологическое оборудование при их аттестации на ранних этапах разработки и создания как технологий, так и изделия в целом с последующей выдачей сертификата на технологический процесс изготовления конкретного узла и детали данного типа изделия (самолета, вертолета).

    В частности, паспорт на технологический процесс содержит:

    • сравнительные данные параметров технологического процесса (оборудования) с отечественными и зарубежными аналогами, комплексные оценки технического и технико-экономического уровня технологий;

    • рекомендации по эффективности применения процесса изготовления;

    • перечень типовых заготовок, деталей, изготовленных по данной технологии;

    • оптимальные режимы технологических процессов;

    • комплекс свойств процесса изготовления, включая точностные характеристики, технологическую наследственность процесса, надежность работы оборудования;

    • предварительную оценку стабильности обеспечения качественных параметров продукции и др.

    4.3.3. Сертификация комплектующих изделий

    Отраслевая сертификация представляет собой действие, проводимое третьей стороной с целью подтверждения посредством сертификата (аттестата) соответствия изделия нормативам технического уровня и годности для установки на финишное изделие. В качестве третьей стороны выступают головные институты отрасли в соответствии с закрепленной за ними тематикой. Аттестация регулирует взаимоотношения между разработчиком комплектующих изделий, разработчиком финишного изделия и головными институтами отрасли в целях создания конкурентоспособной продукции.

    Аттестация комплектующих изделий включает:

    • составление головным разработчиком перечня комплектующих изделий, подлежащих аттестации; заключение центральной головной организации по стандартизации комплектующих изделий, подлежащих аттестации;

    • составление участниками аттестации плана-графика ее проведения; представление разработчиком комплектующих изделий головному институту документации, подтверждающей соответствие разработанного изделия нормативам технического уровня, в сроки, предусмотренные планами-графиками. В состав документации включаются ТЗ, карта технического уровня, эскизный проект, технические условия, программы и методики испытаний, акты предварительных и межведомственных испытаний;

    • выдачу разработчику комплектующего изделия временного аттестата (сертификата) годности для установки на финишное изделие при положительной оценке головным институтом представленной документации. При наличии испытательной базы в головном институте проводится проверка функционирования опытного образца в условиях комплексных воздействий;

    • оценку разработчиком соответствия комплектующих изделий нормативам технического уровня по результатам государственных испытаний;

    • выдачу разработчику комплектующего изделия постоянного сертификата (аттестата) по НЛГ при положительных результатах летных государственных испытаний в эксплуатации.

    Этот порядок работ внедрен в авиационной промышленности и апробирован на изделиях при создании современных авиалайнеров ТУ-204 и ИЛ-96.

    4.3.4. Особенности сертификации импортируемых комплектующих изделий

    В последнее время ряд самолетостроительных предприятий, а также организации, эксплуатирующие авиационную технику, устанавливают на воздушные суда комплектующие изделия производства США, Франции и ряда других зарубежных государств.

    Порядок одобрения определяется Авиарегистром Межгосударственного авиационного комитета импортирующих комплектующих изделий и оформляется в виде: свидетельства о годности комплектующего изделия; одобрительного письма.

    Свидетельство о годности удостоверяет, что тип указанного изделия может быть установлен на воздушное судно и соответствует квалифицированному базису комплектующих изделий Авиарегистра. Одобрительное письмо оформляется на изделие, предназначенное для использования только на конкретном типе воздушного судна (как часть типовой конструкции).

    Необходимым условием получения одобрения Авиарегистра является наличие одобрения типовой конструкции комплектующего изделия авиационными властями страны-разработчика в соответствии с правилами и процедурами, признанными Авиарегистром приемлемыми. Для получения одобрения Авиарегистра разработчик комплектующего изделия направляет в Авиарегистр заявку с приложением следующих документов:

    • декларации разработчика о конструкции и характеристиках изделия:

    • описания, чертежей и другой документации;

    • руководства по эксплуатации и техническому обслуживанию;

    • одобрения авиационных властей страны-разработчика (для свидетельства о годности) или требования, соответствие которым должно быть одобрено Авиарегистром (для одобрительного письма).

    После установки комплектующего изделия на воздушное судно проводятся наземные и/или летные испытания с целью подтверждения соответствия воздушного судна предъявляемым к нему требованиям.

    Каждый экземпляр комплектующего изделия, устанавливаемый на воздушное судно для проведения испытаний, должен иметь удостоверение авиационных властей страны-разработчика о соответствии требованиям конструкторской документации. Так, удостоверением экземпляра изделия, поставляемого из США, является одобрительный талон летной годности. Для обеспечения серийного производства воздушного судна формируется перечень комплектующих изделий, которые должны поступать изготовителю с удостоверением страны-разработчика, утвержденный разработчиком и изготовителем воздушного судна по согласованию с их независимой инспекцией и одобренный Авиарегистром.

    4.3.5. Программы и организация работ по сертификации

    Программы сертификации должны включать:

    • создание моделей, стендов и других установок;

    • разработку или уточнение методов исследований и проведение моделирования;

    • лабораторные, стендовые и летные испытания с оценкой соответствия самолета требованиям НЛГС;

    • оформление доказательной документации и таблиц соответствия;

    • оформление заключений НИИ и в завершение – представление материалов в Авиарегистр для получения сертификата летной годности.

    Как уже отмечалось, значительный, а может и основной объем работ по сертификации связан с моделированием и стендовыми исследованиями. В связи с этим, как показывает зарубежный и отечественный опыт, еще на этапе эскизного проекта желательно начать работы по созданию моделирующей и стендовой базы с таким расчетом, чтобы в период постройки самолета были бы получены достаточные сведения, в частности, характеристики систем самолета, необходимые для обеспечения и подтверждения соответствия самолета требованиям НЛГС на соответствующем этапе создания.

    Этап рассмотрения макета самолета с точки зрения соответствия НЛГС играет очень важную роль, так как позволяет достаточно полно оценить ряд требований, связанных с компоновкой. Так, на макете обычно оценивается соответствие требованиям НЛГС кабины экипажа: компоновка и состав приборной доски, расположение и конструктивное выполнение рычагов управления, кресел летчиков и других членов экипажа, сигнализации и т. д.

    На этапе постройки самолета, в процессе моделирования и стендовых испытаний можно сертифицировать большое количество требований НЛГС. Параллельно с этим представляется возможным предусмотреть основные работы по сертификации двигателей и оборудования до их установки на самолет с оформлением свидетельств о летной годности изделия.

    Опережающая сертификация двигателей и оборудования должна быть завершена к началу сертификации самолета на этапе заводских летных испытаний с представлением Генеральному (Главному) конструктору свидетельства об их годности.

    Опыт показывает, что нередко эта работа проводится с большим опозданием, что отрицательно влияет на качество и сроки сертификации самолета, поскольку отнюдь не всегда реализуется принцип «разного старта».

    Программа заводских летных испытаний должна отражать все виды испытаний, предусмотренных соответствующими требованиями НЛГС. При этом составляется комплексная программа, включающая определение летных и взлетно-посадочных характеристик, оценку устойчивости и управляемости, определение предельных с точки зрения прочности режимов, характеристики систем самолета, характеристики маршрутных полетов по трассам гражданской авиации с общей оценкой характеристик самолета, навигационно-пилотажного и радиотехнического оборудования, систем кондиционирования и др. Наряду с этим разрабатывается и ряд специальных программ по оценке: поведения самолета на больших углах атаки и сваливания; общих требований летной годности; силовой установки; противообледенитель-ной системы; навигационно-пилотажного оборудования и др.

    По результатам заводских испытаний уточняется сводная таблица соответствия, оформляется акт по проведенным испытаниям, включающий летную оценку экипажа и устанавливающий соответствие самолета требованиям НЛГС.

    На основании указанных документов и обобщения материалов и заключений НИИ по предыдущим этапам сертификации (при наличии свидетельств летной годности на двигатели и оборудование самолета) головной НИИ оформляет общее заключение о соответствии самолета (вместе с его двигателями и оборудованием) требованиям НЛГС для получения временного сертификата летной годности. Это заключение включает оценку соответствия самолета требованиям НЛГС (за исключением разделов, относящихся к эксплуатационным испытаниям самолета), в нем отмечаются пункты, по которым установлено не полное, а эквивалентное соответствие.

    Госавианадзор на основании таблицы соответствия, акта заводских испытаний, общего заключения о соответствии самолета требованиям НЛГС и других материалов решает вопрос о выдаче временного сертификата летной годности.

    Важную роль в сертификации играют эксплуатационные испытания, так как на этом этапе представляется возможность подтвердить соответствие тем требованиям, которые должны оцениваться в условиях, максимально приближенных к реальной эксплуатации на земле и в полете, в том числе, при наличии на борту пассажиров, что особенно важно для широкофюзеляжных самолетов.

    Выдачей Государственным авиационным регистром сертификата летной годности решается вопрос о допуске самолетов данного типа к эксплуатации с точки зрения его летной годности. Этим заканчивается процесс сертификации самолета.

    В заключение сошлемся на зарубежный и отечественный опыт принципов обеспечения качества на этапе НИОКР и сертификации (создание самолетов БЭИ-7, ТУ-144, ИЛ-96, ТУ-204).

    Наиболее важными с этой точки зрения представляются следующие моменты:

    • анализ рынка и прогноз продаж;

    • тщательный анализ экономической эффективности, целесообразности и практической реализуемости разработки по срокам, научно-техническому заделу и стоимости;

    • глубокая проработка тактико-технических требований с каждым потенциальным покупателем и определение «лица» и концепции базовой модели и ее модификаций;

    • анализ всей информации по предыдущим разработкам и планирование научно-технического задела;

    • наземные испытания систем с имитацией отказов, анализом их последствий и параллельной сертификационной «зачет-ностью»;

    • организация специального штаба контроля и планирования разработки из компетентных специалистов;

    • постоянное совершенствование и наращивание лабораторно-экспериментальной базы;

    • стабильная загрузка ИТР;

    • системный подход и программно-целевое планирование;

    • реализация принципа «разного старта» для участников разработки;

    • последовательная и полная сертификация изделия, комплектующих, технологии, материалов, систем управления качеством, участников.

    4.4. Система «Оборонсертифика»

    По инициативе Министерства оборонной промышленности РФ создана и зарегистрирована в Госстандарте России система добровольной сертификации продукции и систем качества предприятий оборонных отраслей промышленности – «Оборонсертифика».

    Целью деятельности системы «Оборонсертифика» является содействие объективной оценке и обеспечению качества продукции как главного фактора роста товарного потенциала конверсируемых предприятий на основе использования сертификации в качестве инструмента повышения экспортного потенциала конверсируемых предприятий, гарантии заданного уровня качества и надежности вооружения и военной техники, сбыта испытательных и консалтинговых услуг конверсируемых предприятий.

    Основные принципы работы системы «Оборонсертифика» изложены в рекомендательных и инструктивных документах Союз-серта – ее центрального исполнительного органа и реализуются в положениях и практике работы структур системы «Оборон-сертифика».

    Деятельность системы «Оборонсертифика» состоит в реализации следующих принципов.

    1. Принцип «двойной» технологии, единой при сертификации продукции систем качества и аккредитации органов, лабораторий, как для военных, так и для гражданских нужд.

    Применение этого принципа проводится на базе гармонизации методов и механизмов сертификации, используемых для обеспечения качества на предприятии, выпускающем вооружение, военную технику, изделия двойного (военного и гражданского) назначения, товары народного потребления и продукцию общепромышленного применения.

    2. Обеспечение вневедомственного характера системы «Обо-ронсертифика» и ее деятельности по сертификации и аккредитации.

    3. Максимальное сближение, вплоть до полного воспроизведения норм, правил и процедур, принятых ЕС, в области сертификации и аккредитации, прежде всего в направлениях, где достигнута наибольшая гармонизация норм ЕС со стандартами ИСО, МЭК и других международных организаций.

    Организуется стажировка специалистов системы «Оборон-сертифика» и экспертиза документов системы за рубежом, организация и участие в международных семинарах, конференциях.

    4. Внедрение практики «двойной» сертификации и аккредитации, осуществляемой последовательно или параллельно на одном объекте системой «Оборонсертифика» и одной из признанных за рубежом систем. Организационные формы реализации этого принципа – заключение соглашений о сотрудничестве с известными зарубежными органами по сертификации и аккредитации.

    5. Последовательное, бескомпромиссное отделение консалтинговой деятельности от работ по сертификации и аккредитации. Следование этому принципу обеспечивается исключением одновременного участия юридических и физических лиц в работе по сертификации (аккредитации) и в работе по консалтингу на одном и том же предприятии.

    6. Соблюдение баланса регионально-отраслевых интересов субъектов и пользователей системы. В соответствии с этим принципом создаются совместно с конверсируемыми предприятиями и администрациями крупных промышленных центров региональные центры сертификации. Представители регионов включаются в структуры управления системой: развивается регионально-отраслевая инфраструктура системы; обеспечивается участие в комплексе работ по сертификации и аккредитации экспертов с мест и пр.

    7. Отражение государственных интересов в развитии системы на основе сбалансированного учета интересов ведомств, участвующих в ее работе, путем внедрения принципа паритетного участия в управлении развитием системы по всем аспектам (сертификация, аккредитация, обучение, внешние связи и т. д.).

    8. Рациональное разделение оперативно-тактических и стратегических задач с учетом сложившейся структуры Союзсерта. Применение этого принципа обусловлено распределением задач Союзсерта по трем уровням с учетом компетенции и фактора времени между наблюдательным советом (политика и финансово-экономические аспекты), комиссиями (общие, стратегические организационно-методические вопросы), аппаратом системы (оперативное ведение работ с заказчиком, договоры, архивирование, ведение секретариатов комиссий и др.).

    9. Совмещение функций Союзсерта в качестве центрального исполнительного органа системы «Оборонсертифика» и его функций как профессиональной, некоммерческой организации, содействующей конверсии. В этом плане Союзсерт содействует аккредитованным лабораториям, органам по сертификации, экспертам системы в деле продвижения их услуг на внутреннем и внешнем рынках в соответствии с областью аккредитации.

    В связи с развитием работ по сертификации систем качества в целях получения лицензий на разработку и производство ВВТ, а также заинтересованностью российских экспортеров в «двойной» сертификации, началась практическая деятельность по сертификации систем качества (СК).

    Работы ведутся по схеме, при которой сертификацию СК выполняет аккредитованный в системе «Оборонсертифика» орган по сертификации СК «Евросерт». «Евросерт» привлекает для проведения сертификации СК экспертов, аттестованных в системе «Оборонсертифика».

    Идет накопление опыта ведения работ, отработка взаимодействия с экспертами, включая привлекаемых в качестве технических экспертов представителей военной приемки, отлаживаются процедуры и отчетная документация по сертификации.

    Основными задачами на данном этапе развития системы «Оборонсертифика» в области сертификации СК можно считать следующие:

    • подготовка и проведение аккредитации на европейском и международном уровнях органа по сертификации СК «Евросерт»;

    • подготовка и проведение аккредитации на международном уровне органа по аттестации (сертификации) персонала, обеспечивающего отбор и ведение реестра экспертов, отвечающих международным требованиям и потребностям системы «Оборон-сертифика»;

    • дальнейшее совершенствование основополагающей документации системы «Оборонсертифика».

    В рамках решения указанных задач выполнены следующие работы.

    Разработан комплект основных документов органа по сертификации СК, позволяющий провести его международную аккредитацию.

    Разработаны основные документы для международной аккредитации органа по аттестации персонала. Проводится аттестация специалистов, имеющих необходимую подготовку для аттестации в системе «Оборонсертифика» в качестве экспертов и регистрация экспертов-стажеров по сертификации СК и другим направлениям деятельности.

    В области сертификации продукции в системе «Оборонсерти-фика» аккредитованы два органа по сертификации: 32-й научно-исследовательский центр Минобороны России (средства измерений, не подлежащие госиспытаниям) и «Циклонтест» Минобо-ронпрома России (изделия электронной техники), которые начали в 1996 г. свое функционирование. Поданы заявки на аккредитацию органов по сертификации продукции от ряда региональных и отраслевых структур, в том числе: Федерального ядерного центра; Межотраслевого центра по испытаниям микродвигателей; Межотраслевого центра по испытаниям лазерных измерительных устройств и т. д.

    Дальнейшее расширение номенклатуры продукции, которую перспективно сертифицировать в системе «Оборонсертифика», в значительной степени зависит от перспектив «двойной» аккредитации органов в системе «Оборонсертифика» и одной из известных международно признанных систем сертификации. Работы в этом направлении проводятся.

    В основу развития деятельности по аккредитации испытательных лабораторий (центров), как и органов по сертификации продукции, положен принцип совместной («двойной») аккредитации, осуществляемой экспертами системы «Оборонсерти-фика» и зарубежной системы, что позволит обеспечить международное признание полученного аттестата аккредитации и продвижение испытательных услуг на зарубежный рынок. Реализация совместной («двойной») аккредитации испытательной лаборатории (органов) в системе «Оборонсертифика» позволяет снизить в 2–3 раза стоимость аккредитации зарубежной фирмой. Важно отметить, что в международном товарообмене более 90 % контрактов требуют не предъявления сертификата, а лишь протоколов испытаний в аккредитованных лабораториях (центрах). Проводимая в рамках конверсии испытательных лабораторий, центров, полигонов работа по формированию и расширению рынка испытательных услуг ставит своей целью обеспечение загрузки уникальной испытательной базы оборонного комплекса.

    Основными направлениями развития работ в системе «Обо-ронсертифика» по формированию и сбыту испытательных услуг являются:

    • проведение маркетинговых исследований с целью создания устойчивого и гарантированного рынка услуг по сертификации и испытаниям по заказам зарубежных фирм;

    • реализация избирательного механизма инвестиционной и информационной поддержек конверсируемым испытательным лабораториям и органам оборонного комплекса с целью «прорыва» и закрепления на международном рынке сертификационных и испытательных услуг;

    • формирование на базе региональных центров сертификации оптимальной инфраструктуры аккредитованных испытательных лабораторий, создание технопарков и центров коллективного пользования;

    • организация совместных («двойных») аккредитаций в рамках сотрудничества с немецкой системой аккредитации в области испытаний (DAP);

    • создание и эксплуатация баз данных испытательных услуг автоматизированной информационной системы (АИС) «Оборон-сертифика», разработка, издание и рассылка каталога испытательных услуг предприятий оборонного комплекса;

    • организация и расширение возможности подготовки и стажировки специалистов испытательных лабораторий в зарубежных испытательных организациях и сертификационных центрах;

    • привлечение зарубежных консультантов в рамках реализации программ AMOS, TACIS и других совместных соглашений в процессе подготовки испытательных лабораторий (центров) к совместной («двойной») аккредитации.

    В настоящее время в системе «Оборонсертифика» аккредитованы 6 испытательных лабораторий (центров). Среди них: РНИИ «Электронстандарт», 32-й научно-исследовательский центр Минобороны России, «Композит-Тест», ГосНИИАС (Государственный научно-исследовательский институт авиационных систем). Двенадцать лабораторий (центров) готовятся к аккредитации в соответствии с действующим порядком аккредитации.

    Одной из проблем, сдерживающей развитие работ по аккредитации, является отсутствие у предприятий реальной оценки своих перспектив на рынке испытательных услуг, недостаточная информированность о структуре спроса и т. д. Миноборонпром

    России достиг договоренности с рядом ведущих организаций в России и за рубежом, таких, как Торгово-промышленная палата России, Немецкое общество технического надзора и др., о сотрудничестве в области сбыта испытательных услуг российских центров и лабораторий. Для решения указанных задач Миноборон-промом России принято решение о разработке и издании каталога экспериментальной базы оборонных отраслей промышленности, представляющего возможности испытательных центров в области сертификационных испытаний, создания региональных технопарков, выполнения заказов отечественных и зарубежных товаропроизводителей и др.

    Целью издания каталога является обеспечение заказчиков услуг по испытаниям и экспериментальным исследованиям хорошо иллюстрированной информацией о полном спектре возможностей конверсируемой испытательной базы. Каталог будет представлять возможности испытательных центров в различных видах рекламной деятельности: проведении отечественных и международных выставок и семинаров, презентации национальной испытательной базы в торговых представительствах за рубежом, рассылки каталога многопрофильным отечественным и зарубежным заказчикам, в том числе зарубежным органам по сертификации.

    Эффективность внешнеэкономической деятельности предприятий оборонного комплекса во многом зависит от международного признания сертификатов на экспортируемую продукцию и системы качества. Ежегодно возрастающие потери предприятий-экспортеров из-за отсутствия в России систем сертификации и систем аккредитации, признаваемых на международном рынке, составляют сотни миллионов долларов в год.

    Международное признание системы «Оборонсертифика» и поддержка экспорта предприятий оборонного комплекса международно признаваемыми сертификатами – одна из главных задач, стоящих перед создателями системы «Оборонсертифика».

    В настоящее время система «Оборонсертифика» завоевала статус одного из серьезнейших в России партнеров в деле сотрудничества по сертификации продукции общетехнического применения, систем качества и аккредитации лабораторий. Это подтверждено широким откликом западных организаций на предложения по сотрудничеству, участию в конференциях и совещаниях, совместной производственной деятельности, в заключенных соглашениях.

    В области сертификации систем качества заключены соглашения и продолжены работы с Немецким обществом технического надзора ТЮФ Бавария – Саксония («двойная» сертификация СК, гармонизация процедур и документов), фирмой «Рейн-Вестфаль ТЮФ-Интерсертифика» («двойная» сертификация СК, обучение экспертов, программы и взаимодействие в регионах), ТЮФ НОРД («двойная» сертификация, обучение экспертов), бюро ВЕРИТАС (совместные работы по сертификации СК, обучение персонала).

    Выполнение Миноборонпромом России совместно с Союз-сертом комплекса работ по международному признанию системы «Оборонсертифика» позволило получить беспрецедентный для России результат в области сертификации систем качества. Указанные выше зарубежные фирмы признают «де-факто» сертификат на систему качества, выданный в системе «Оборонсертифика». Для выполнения зарубежного сертификата, признаваемого на внешнем рынке, на предприятии, имеющем сертификат системы «Оборонсертифика», проводится инспекционный аудит, по результатам которого выдается признаваемый на внешнем рынке сертификат на систему качества. Реализация указанного принципа «двойной» сертификации позволила снизить стоимость работ по подготовке и сертификации системы качества со 100–200 тысяч долларов до 10–15 тысяч долларов за процедуру сертификации. Таким образом, система «Оборонсертифика» впервые открыла российским предприятиям дорогу к международной сертификации систем качества по доступным ценам.

    В настоящее время Миноборонпромом России и Союзсертом проведены переговоры и готовятся документы для аккредитации органа по сертификации систем качества системы «Оборонсер-тифика» в международно признаваемом органе по аккредитации. Решение этой задачи позволило уже в 1997 г. полностью исключить валютные расходы на выполнение работ по сертификации систем качества, признаваемой на внешнем рынке.

    В области сертификации продукции и аккредитации лабораторий заключено соглашение с DAP (совместные работы по аккредитации испытательных лабораторий для проведения сертификационных испытаний продукции, обучение персонала), проводятся переговоры об аккредитации DAP органов по сертификации продукции.

    Разработаны по европейским требованиям НД и прошли международную экспертизу в DAP документы, содержащие процедуру аккредитации органа по аккредитации лаборатории системы «Оборонсертифика». Союзсерт принимает активное участие в работе по международным проектам технической помощи: программа ЕС «TACIS» (в части сертификации); российско-германский проект «Модернизация-аккредитация»; проект AMOS (обучение в области аккредитации лабораторий).

    Подписаны соглашения с рядом зарубежных организаций по информационной поддержке в области обеспечения качества и сертификации, в области совместных работ по подготовке СК к сертификации и испытательных лабораторий, аккредитованных в системе «Оборонсертифика», к международной аккредитации (Канадская служба технического содействия, консультационные фирмы ТЮФ и др.).

    Союзсерт в качестве центрального исполнительного органа системы «Оборонсертифика» активно развивал свою инфраструктуру как организационную базу системы «Оборонсертифи-ка» наряду с деятельностью по аккредитации субъектов системы (лабораторий, учебных центров, органов по сертификации продукции и др.).

    Оперативные направления деятельности Союзсерта получили свое подкрепление за счет принятия в члены Союза таких крупных организаций, как Торгово-промышленная палата России, Государственный научно-исследовательский институт авиационных систем, ВНИИКИ Госстандарта России, 32-й научно-исследовательский центр Минобороны России, холдинговая компания «Ленинец», АООТ ИПК «Машприбор», ГосНИИМАШ. Сегодня в Союзсерт поданы более десяти заявлений о включении в состав учредителей от крупнейших российских предприятий и организаций.

    Созданы и активно включились в работу региональные центры или представительства Союзсерта в Петербурге, Нижнем Новгороде, Волгограде, Перми, Пензе, Челябинске, Омске, Саратове, Рязани. Находятся на стадии создания региональные структуры в Уфе, Казани, Владивостоке, Воронеже, Новосибирске, Самаре. Ведутся работы по созданию региональных центров с администрацией и ведущими предприятиями в таких городах, как Екатеринбург, Улан-Удэ, Владимир, Калуга, Липецк, Йошкар-Ола.

    Важной задачей регионально-отраслевой структуры Союзсер-та является последовательное проведение политики тесной увязки процессов конверсии с работами по обеспечению качества на оборонных предприятиях. Благодаря усилиям специалистов в ряде регионов руководителям предприятий нет нужды доказывать, что реальный выход из кризисной ситуации, как показывает зарубежный и отечественный опыт, лежит на пути обеспечения конкурентоспособности через качество и сертификацию продукции.

    Важным фактором поддержки этих работ в оборонной промышленности явились совместные планы и программы Минобо-ронпрома России и администраций регионов по обеспечению качества и сертификации по международным нормам и правилам.

    Так, возникает организационный инструмент антикризисной поддержки товарного, в том числе экспортного, потенциала «оборонки» в этих регионах. В частности, в Волгограде создана и реализуется, при поддержке Миноборонпрома России, региональная программа по качеству, в которой активно участвуют конверсионные предприятия. Созданный в Пензе совместно с Ассоциацией пензенских промышленников и товаропроизводителей центр сертификации участвует, помимо работ по сертификации, в мероприятиях по обучению различных групп специалистов, включая антикризисных управляющих. Нижегородский центр по сертификации готовит к аккредитации, в соответствии с российскими и международными процедурами, испытательные лаборатории и центры, которые смогут оказывать услуги по сертификационным и исследовательским испытаниям, в том числе по заявкам инофирм. Представительство Союзсерта в оборонных отраслях в Саратове сумело успешно увязать работы по переоценке имущества конверсионных предприятий с оптимизацией налогообложения на имущество. Высвобождающиеся при этом средства предполагается целевым образом использовать на создание и сертификацию по международным правилам систем качества предприятий-экспортеров. В Самаре и Казани создаются центры с участием администраций и ведущих предприятий и организаций. Их задачей станет обучение и аттестация персонала в области качества продукции конверсионных предприятий, а также внедрение эффективных методов преодоления технических барьеров при международном товарообмене.

    Миноборонпром России рассматривает создание региональных центров как важный фактор информационной, методической, организационной и технической поддержки обеспечения конкурентоспособности конверсионных предприятий, осуществляющих сложный переход от схемы работы на заказчика к работе в рыночных условиях.

    Сертификация систем качества является заключительным этапом решения проблемы обеспечения качества и конкурентоспособности продукции. Основная трудность решения этой проблемы лежит на этапе создания системы обеспечения (управления) качеством продукции и подготовки ее к сертификации. Зачастую предприятия бывают не готовы самостоятельно выполнить весь комплекс этих работ. Кроме того, имеются субъективные предубеждения, связанные с нововведениями. Так возникает ситуация, характеризуемая афоризмом «Нет пророка в своем отечестве». Выход – привлечение квалифицированных экспертов-консультантов со стороны. Многие предприятия уже имеют положительный опыт сотрудничества с отечественными и зарубежными консалтинговыми фирмами, которые обеспечили хорошую подготовку к сертификации, в том числе по международным правилам и процедурам.

    Вместе с тем, на волне интереса к системам качества в связи с лицензированием предприятий, разрабатывающих и выпускающих военную технику, появилось много случайных консультантов, не способных или не желающих должным образом и по умеренным ценам вести работы с оборонными предприятиями. Стали возникать также вопросы конфиденциальности при оказании консалтинговых услуг, коммерческой перспективности тех сертификатов, которые могут выдать те или иные фирмы и т. п.

    В целях обеспечения качества услуг по подготовке к сертификации оборонных предприятий приказом Миноборонпрома России введен порядок добровольной аккредитации консалтинговых организаций, имеющих право работать с оборонными предприятиями. При этом консалтинговые фирмы должны удовлетворять требованиям компетентности, независимости, иметь право работать со сведениями, составляющими государственную тайну, и другим требованиям, гарантирующим оборонным предприятиям заданный уровень качества услуг при умеренных ценах. При этом была установлена практика, при которой инофирмы или их представители могли бы рассчитывать на долгосрочную перспективу сотрудничества при условии заключения соответствующих договоров по «двойному» консалтингу и «двойной» сертификации (в системе «Оборонсерти-фика» и одной из выбранных зарубежных систем).

    Несмотря на то, что работа по добровольной аккредитации консалтинговых фирм не входит в область деятельности системы «Оборонсертифика» и носит ведомственный характер, являясь юридически допустимой мерой защиты рынка, Миноборонпром России поручил проведение этой работы Союзсерту.

    Как отмечалось выше, ряд ведущих зарубежных фирм уже заключило соответствующее соглашение с Союзсертом и вместе с группой отечественных консультантов активно работают с предприятиями оборонных отраслей. Со своей стороны, Союзсерт систематически использует практику публикации списков аккредитованных консалтинговых организаций, что, безусловно, содействует формированию деловой репутации этих фирм.

    Следует подчеркнуть, что аккредитация и контроль за работой консультантов на рынке особенно важны в связи с «двойным» характером сертификации. Однако аккредитация не носит ограничительного характера, так как предприятие имеет право выбирать на свой страх и риск себе в партнеры любого консультанта. Вместе с тем, Министерство планирует, со своей стороны, первоочередную поддержку (в планах, программах, предоставлении гарантий и т. п.) именно тем предприятиям, которые сотрудничают с организациями Миноборонпрома России, аккредитованными как консалтинговые фирмы.

    Система «Оборонсертифика», созданная для оказания помощи оборонным предприятиям в области обеспечения качества и конкурентоспособности выпускаемой продукции, безусловно открыта для работы с предприятиями и организациями других отраслей промышленности.

    Исторически сложилось так, что в оборонном комплексе была создана лучшая в мире испытательная база и сконцентрированы высокопрофессиональные специалисты различных областей техники. Организационное объединение их в единую систему «Обо-ронсертифика», а также достижение соглашений о признании зарубежными сертификационными фирмами сертификатов системы «Оборонсертифика», позволили решить главную задачу – обеспечение качества услуг по сертификации и аккредитации.

    Качество услуг системы гарантируется введенной Миноборон-промом России системой аккредитации консалтинговых и сертификационных фирм, минимизацией стоимости услуг по сертификации, обеспеченной принятыми наблюдательным советом системы «Оборонсертифика» нормативами оплаты привлекаемых экспертов и подписанными соглашениями с зарубежными сертификационными фирмами о признании сертификатов системы «Оборонсертифика». Успешная деятельность системы «Оборонсертифика» привела к тому, что с каждым днем расширяется сфера взаимодействия с ней предприятий и организаций различных отраслей промышленности.

    Миноборонпром России подписал соглашение с Минтопэнерго России, по которому системе «Оборонсертифика» поручена сертификация систем качества предприятий различных отраслей промышленности, производящих оборудование для топливно-энергетического комплекса.

    В системе «Оборонсертифика» обслуживаются предприятия различных отраслей промышленности, участвующих в реализации заданий конверсионных программ по производству оборудования для аграрно-промышленного комплекса, легкой и текстильной, лесной и деревообрабатывающей промышленности и т. д.

    Система «Оборонсертифика» выполняет работы по сертификации и аккредитации предприятий Минатома России и Минобороны России.

    Расширение и укрепление связей с предприятиями различных отраслей промышленности, укрепление статуса системы «Оборонсертифика» на отечественном и международном рынке услуг по сертификации – стратегическая задача развития системы «Оборонсертифика».

    4.5. Система сертификации оборудования атомной энергетики и промышленности

    Ядерно-энергетический комплекс России – многопрофильная отрасль, в которой функционируют технологически тесно связанные предприятия по добыче сырья, производству расщепляющихся материалов, изготовлению изделий для атомной энергетики и специальных производств, сама атомная энергетика, предприятия по переработке отработавшего ядерного топлива, многочисленные предприятия и организации обеспечивающей инфраструктуры.

    После резкого неприятия атомной энергетики, вызванного трагедией Чернобыля, население и общественность проявляют в настоящее время гораздо более трезвый и взвешенный подход к оценке приемлемости дальнейшего развития атомной энергетики в России, закономерно сопровождая его жесткими требованиями обеспечения гарантий безопасности мирного использования атомной энергии для человека и окружающей среды. Учитывая это, руководство Минатома России в последние годы предприняло целый ряд мер, направленных на выработку и реализацию новых концептуальных подходов и технических решений, серьезно повышающих уровень безопасности ядерно– и радиационно опасных производств и атомной энергетики в целом. Оставляя за рамками рассмотрения чисто инженерные вопросы повышения безопасности, отметим, что среди комплекса мер важное место занимает деятельность по реорганизации и совершенствованию концептуальной основы работ, связанных с обеспечением качества в ядерно-энергетическом комплексе, внедрением современных подходов и схем, адекватных новым рыночным условиям хозяйствования и обеспечивающих эффективное управление качеством в отрасли. Принципиальные изменения происходят в отношении таких ключевых направлений деятельности, связанных с качеством, как система управления качеством в масштабах отрасли, планирование деятельности по обеспечению качества на основе современных методов (в том числе программно-целевых), организация контроля качества, обучение кадров современным методам управления качеством и т. д. К новым концептуальным взглядам Минатома России на проблему обеспечения высокого качества отраслевой продукции применительно к вопросам ее безопасности для персонала, населения и окружающей среды относится и намерение ввести обязательную сертификацию изделий, оборудования и технологий, применяемых в ядерных установках и других объектах атомной энергетики и промышленности. Предложения по этому вопросу, поддержанные Госатомнадзором и Госстандартом России, в настоящее время нашли свое отражение в законе Российской Федерации «Об использовании атомной энергии».

    Ниже рассматриваются вопросы, связанные с выработкой подходов к созданию в Российской Федерации специализированной системы сертификации оборудования, изделий и технологий (ОИТ) для ядерных установок, радиационных источников и пунктов хранения (далее – система сертификации ОИТ).

    Подготовительные работы по сертификации продукции в отрасли были начаты в 1988 г. В тот период вопросы сертификации рассматривались лишь под углом ее добровольности. После выхода законов Российской Федерации «О защите прав потребителей» и «О сертификации продукции и услуг» работы по подготовке и проведению сертификации в отрасли получили новое развитие.

    По состоянию на 1 мая 1995 г. в системе сертификации ГОСТ Р было аккредитовано 11 испытательных лабораторий и центров, созданных на базе подведомственных Минатому России предприятий и организаций и способных проводить сертификационные испытания отдельных видов отраслевой продукции. На базе двух организаций созданы и также получили аккредитацию в системе сертификации ГОСТ Р органы по сертификации радио-нуклидной продукции и средств охранной сигнализации. Более 20 специалистов отрасли прошли обучение в учебных центрах Госстандарта России по специальности эксперта-аудитора. Налажены контакты и осуществляется взаимодействие с другими специализированными системами сертификации – автомототех-ники, электробезопасности и др., что позволяет оказывать поддержку предприятиям и организациям Минатома России при проведении ими сертификации своей продукции, главным образом товаров народного потребления. Есть примеры добровольной сертификации и профильной продукции – Регистром Ллойда и Немецким обществом ТЮФ выданы сертификаты на сосуды под давлением и ряд источников ионизирующих излучений.

    Как указывалось выше, система ОИТ имеет свою специфику, связанную с тем, что ее применение, как правило, напрямую связано с объектами повышенной опасности – ядерными реакторами, радиохимическими производствами, хранилищами радиоактивных и ядерных материалов и т. п. При этом наряду с обеспечением общепромышленной безопасности (электробезопасности, пожаробезопасности и т. д.) особое значение имеют вопросы ядерной и радиационной безопасности, регулируемые специальными нормами и правилами. С учетом этих обстоятельств становится очевидным, что введение обязательной сертификации ОИТ, ее практическая реализация может быть обеспечена только специализированной системой сертификации, учитывающей особенности этой продукции. Именно такую систему предлагается учредить совместными усилиями Минатома России, Госатомнадзора России и Госстандарта России. Принципиальное решение по этому вопросу руководителями этих федеральных органов исполнительной власти принято в 1994 г. В настоящее время осуществляются разработка и согласование документов, призванных обеспечить в установленном порядке регистрацию, а затем и эффективное функционирование системы сертификации ОИТ.

    Целями создаваемой Системы являются:

    • контроль безопасности ОИТ для жизни, здоровья и имущества населения и окружающей среды;

    • официальное подтверждение соответствия показателей качества ОИТ, заявленных изготовителем, обязательным требованиям нормативной документации, установленным для целей проведения обязательной сертификации;

    • содействие экспорту и повышение конкурентоспособности ОИТ.

    Обязательная сертификация ОИТ должна проводиться на предмет подтверждения ее соответствия обязательным требованиям государственных и отраслевых стандартов, правилам и нормам ядерной и радиационной безопасности или аналогичным им по статусу документам, включая международные и зарубежные стандарты, введенные в действие в Российской Федерации в установленном порядке.

    В соответствии с целями обязательной сертификации основными функциями системы должны быть:

    • аккредитация испытательных лабораторий (испытательных центров), включая выдачу аттестатов аккредитации на право проведения сертификационных испытаний в аккредитованной области;

    • аккредитация сертификационных экспертных центров, включая выдачу аттестатов аккредитации;

    • сертификация продукции по одной из принятых в системе схем сертификации (в том числе проведение, где это предусмотрено выбранной схемой, сертификационных испытаний, проверки производств сертифицируемой продукции и систем качества или сертификации систем качества на предприятиях-изготовителях), включая выдачу сертификатов соответствия и лицензий на право применения знаков соответствия;

    • решение вопросов признания сертификатов, выданных в других системах сертификации, в том числе зарубежных и международных;

    • принятие решений по апелляциям на действия и итоги сертификации (испытаний);

    • контроль за выполнением установленного в системе порядка сертификации, включая отмену (приостановку действия) аттестатов аккредитации на право осуществлять соответствующую деятельность в случае выявления нарушений этого порядка или условий аккредитации;

    • инспекционный надзор за стабильностью качества сертифицированной продукции, включая отмену (приостановку действия) сертификатов и лицензий на право применения знаков соответствия в случае выявления несоответствия этой продукции обязательным требованиям, на соответствие которым проводилась сертификация;

    • взаимодействие с другими системами сертификации, в том числе с системой сертификации ГОСТ Р;

    • организация подготовки и аттестация экспертов-аудиторов по общим и специальным вопросам сертификации ОИТ, проверки производств и сертификации систем качества предприятий-изготовителей, включая выдачу свидетельств об аттестации;

    • информационное обслуживание по вопросам сертификации в рамках системы.

    Структура системы представлена на рис. 4.3 и в целом не отличается от общепринятых подходов к организационному построению систем сертификации и характеру взаимодействия ее элементов.

    Перечень основных документов, обеспечивающих функционирование системы, представлен в Приложении 4.

    Особенностью построения системы сертификации ОИТ является разделение функций по аккредитации и сертификации между


    Рис. 4.3

    ее участниками, что соответствует современным тенденциям формирования систем сертификации за рубежом. Руководящий орган, аккредитующий в системе, создается на базе управлений Госстандарта России, Минатома России и Госатомнадзора России. Техническое обеспечение деятельности руководящего органа осуществляет рабочий орган.

    Сертификация ОИТ проводится органами по сертификации, которые формируются непосредственно Минатомом России и Госатомнадзором России по результатам экспертиз, проводимых сертификационными экспертными центрами, и результатов испытаний в аккредитованных испытательных центрах. Выбор такой структуры обусловлен необходимостью обеспечения большей независимости органов по сертификации оборудования ядерно-и радиационно опасных объектов.

    Сертификация ОИТ осуществляется в рамках основных схем сертификации, с учетом современных подходов в сфере сертификации сложных технических систем. Органы по сертификации сложных изделий включаются в сертификацию не на заключительном этапе производства (когда изделие уже спроектировано и изготовлено), а на ранних стадиях проектирования, когда имеется возможность корректировать мероприятия по повышению надежности и безопасности изделий. На рис 4.4 представлена общая схема сертификации на стадиях проектирования и запуска продукции в производство.


    Рис. 4.4


    Еще одна особенность системы сертификации ОИТ заключается в наличии нового участника сертификации – сертификационного экспертного центра, роль которого сводится к проведению экспертизы документации и результатов испытаний для повышения объективности решений, принимаемых органом по сертификации.

    В Приложении 5 приведен пример документа по проведению экспертизы.

    4.6. Система сертификации в области потенциально опасных промышленных производств, объектов и работ

    Федеральный горный и промышленный надзор России в соответствии с Указом Президента Российской Федерации от 18 февраля 1993 г. № 234 является федеральным органом исполнительной власти, осуществляющим государственное нормативное регулирование вопросов обеспечения промышленной безопасности в различных областях деятельности, а также специальные разрешительные, надзорные и контрольные функции.

    Актуальные на сегодня задачи оптимизации систем проверки и обеспечения безопасности методами и средствами сертификации требуют взаимоувязанных действий различных федеральных органов данного направления, в том числе Госгортехнадзора и Госстандарта России. Поэтому в соответствии с действующим законодательством Российской Федерации, на основе и в развитие основополагающих документов по сертификации (Правила по проведению сертификации в Российской Федерации – далее Правила Госстандарта; Порядок ввоза на территорию Российской Федерации товаров, подлежащих обязательной сертификации; Система сертификации ГОСТ Р; нормативные документы, устанавливающие требования к органам по сертификации, испытательным лабораториям (центрам) и порядку их аккредитации и др.) разработаны и утверждены двумя ведомствами Правила сертификации в области потенциально опасных промышленных производств, объектов и работ.

    Правила построены по общесистемному принципу разработки нормативных документов по сертификации групп однородной продукции на основе и в развитие формирующейся национальной Системы сертификации ГОСТ Р, ориентированной на гармонизацию правил и процедур с передовыми зарубежными и международными, и предназначены для промышленных предприятий, производств и объектов системы Госгортех-надзора.

    Правила конкретизируют применительно к задачам, областям деятельности и функциям Госгортехнадзора России: цели, принципы и область применения документа; структуру, состав и функции участников сертификации; правила, процедуры и управления при проведении работ по сертификации; содержание нормативных документов по сертификации конкретных групп однородной продукции.

    Сертификация в системе Госгортехнадзора осуществляется в целях:

    • содействия государственному нормативному регулированию обеспечения промышленной безопасности на территории Российской Федерации и специальным разрешительным, надзорным и контрольным функциям;

    • обеспечения безопасности и надежности средств производства и контроля их соответствия нормам и правилам для отраслей и производств: угольной, горнорудной и нерудной, металлургической, нефте– и газодобывающей, нефте– и газоперерабатывающей промышленности, химических и нефтехимических производств повышенной опасности, по хранению и переработке зерна, геологоразведочных и других горных работ, магистральных газо-, нефте– и продуктопроводов, систем газоснабжения природными и сжиженными углеводородными газами, используемыми в качестве топлива, производств по хранению и использованию промышленных взрывчатых материалов, изготовлению простейших гранулированных и водосодержащих взрывчатых веществ на предприятиях-потребителях, изготовлению и безопасной эксплуатации подъемных сооружений и объектов котлонадзора, по разработке и изготовлению оборудования для потенциально опасных промышленных производств;

    • создания условий для деятельности предприятий, учреждений, организаций и предпринимателей на едином товарном рынке Российской Федерации, а также для участия в международном экономическом, научно-техническом сотрудничестве и международной торговле;

    • подтверждения показателей безопасности и надежности продукции, заявленных изготовителями, в соответствии с номенклатурой продукции и услуг, подлежащих обязательной сертификации;

    • содействия потребителям в компетентном выборе продукции;

    • содействия экспорту и повышению конкурентоспособности продукции,

    защиты потребителя от недобросовестности изготовителя.

    Предусмотрено, что организация и координация работ по сертификации в области потенциально опасных промышленных производств, объектов и работ базируется на системно-комплексном подходе:

    • полный охват всех иерархических уровней разукрупнения техники при осуществлении работ по сертификации (системы, комплексы, оборудование, аппаратура, приборы, комплектующие изделия, материалы, технология);

    • взаимная увязка функций министерств (ведомств) и соответствующих структур в части нормативного обеспечения безопасности и сертификации;

    • оптимизация структуры и состава норм и требований безопасности и надежности, органов по сертификации, сетей испытательных лабораторий (центров) и т. д.

    Процедуры сертификации, осуществляемые в соответствии с Правилами, предусматривают участие в ней организаций и предприятий различных форм собственности Российской Федерации и других государств, предпринимателей и иных лиц, заинтересованных в деятельности по сертификации поднадзорной продукции для потенциально опасных промышленных производств, объектов и работ.

    В процессе проведения работ по сертификации осуществляется информирование изготовителей, потребителей, общественных организаций, центрального органа по сертификации, органов по сертификации, испытательных лабораторий (центров), а также всех других заинтересованных предприятий, организаций и отдельных лиц о правилах и результатах аккредитации и сертификации, участниках сертификации. При этом соблюдается конфиденциальность информации, составляющей коммерческую тайну, получаемой от изготовителей и организаций в ходе деятельности по сертификации и аккредитации, за исключением конечных результатов испытаний, а также вопросов, касающихся требований безопасности.

    Правила распространяются на сертификацию отечественных и импортируемых объектов сертификации следующих направлений техники системы Госгортехнадзора России:

    1) подъемные сооружения (краны, лифты, эскалаторы, подвесные канатные дороги и др.);

    2) объекты котлонадзора (котлы, сосуды, работающие под давлением, трубопроводы пара и горячей воды);

    3) взрывозащищенное и рудничное электрооборудование;

    4) горно-шахтное оборудование повышенной опасности;

    5) оборудование и приборы, используемые при выполнении взрывных работ в промышленных целях; взрывчатые материалы промышленного назначения;

    6) оборудование нефтегазопродуктопроводов, газоснабжения производственных и жилых объектов;

    7) нефтегазопромысловое оборудование;

    8) буровое оборудование;

    9) геологоразведочное оборудование;

    10) оборудование химических, нефтехимических и нефтега-зоперерабатывающих производств и объектов;

    11) оборудование для производств и объектов по хранению и переработке зерна;

    12) оборудование металлургических производств (машины для разливки металлов и сплавов, плавильные электропечи и др.).

    В качестве перспективных объектов сертификации определены также подвижной состав и контейнеры, предназначенные для перевозки опасных грузов железнодорожным транспортом.

    Участниками сертификации являются национальный орган по сертификации (Госстандарт России), центральный орган по сертификации (Госгортехнадзор России), органы по сертификации однородной продукции, испытательные лаборатории (центры), изготовители продукции, советы по сертификации, научно-методический сертификационный центр и комиссия по апелляциям.

    Госстандарт России осуществляет свою деятельность как национальный орган по сертификации на основе прав, обязанностей и ответственности, предусмотренных действующим законодательством Российской Федерации, и как федеральный орган исполнительной власти, осуществляющий организацию и проведение работ по обязательной сертификации в соответствии с законодательными актами РФ.

    Центральный орган по сертификации в системе Госгортехнадзора осуществляет свою деятельность в соответствии с функциями, установленными законом Российской Федерации «О сертификации продукции и услуг» и правилами Госстандарта России, на основе правил организует разработку систем (правил, порядков) сертификации однородной продукции и в соответствии с этим выполняет следующие основные функции:

    • устанавливает процедуры сертификации в соответствии с действующим законодательством, требованиями системы сертификации ГОСТ Р, правилами Госстандарта России;

    • организует разработку и подготовку к утверждению систем (правил, порядков) сертификации однородной продукции, осуществляет руководство и координацию работ данного направления;

    • участвует в работах по актуализации и совершенствованию фонда нормативных документов, на соответствие которым проводится сертификация в системах (правилах, порядках). В качестве федерального органа исполнительной власти проводит работы по нормативному обеспечению работ по сертификации, в том числе: организует разработку и утверждает федеральные требования (правила, нормы) по безопасному ведению работ, устройству, изготовлению и эксплуатации оборудования, устанавливает в необходимых случаях единство требований, предусматриваемых в указанных правилах и нормах, с учетом пригодности их для целей сертификации;

    • рассматривает и согласовывает проекты стандартов, другие нормативные документы федеральных органов исполнительной власти, содержащие требования по безопасному ведению работ, устройству, изготовлению и эксплуатации подконтрольного оборудования;

    • участвует в разработке и согласовании международных правил, норм и стандартов, устанавливающих требования по безопасности, определяет порядок введения их в действие, устанавливает при необходимости дополнительные требования;

    • представляет на государственную регистрацию в Госстандарт России системы (правила, порядки) сертификации однородной продукции;

    • разрабатывает перспективные направления работ по сертификации, осуществляемых в соответствии с общими правилами и системами (правилами, порядками) сертификации конкретных объектов;

    • подготавливает предложения по номенклатуре продукции и услуг, подлежащих обязательной сертификации в Российской Федерации, утверждаемой Госстандартом России (в том числе по фонду соответствующих нормативных документов, требованиям которых она должна соответствовать);

    • участвует в аккредитации органов по сертификации и испытательных лабораторий (центров), в проведении инспекционного контроля за их деятельностью и правильностью проведения сертификации;

    • координирует деятельность органов по сертификации и испытательных лабораторий (центров), в том числе входящих в системы (правила, порядки), а при отсутствии органа по сертификации выполняет его функции;

    • ведет учет органов по сертификации и испытательных лабораторий (центров), в том числе входящих в системы (правила, порядки), выданных (аннулированных) сертификатов и лицензий на использование знака соответствия, обеспечивает информацией о них, а также о процедурах сертификации систем (правил, порядков);

    • готовит предложения по признанию зарубежных сертификатов, знаков соответствия и результатов испытаний;

    • организует и координирует работы по формированию рационального состава систем (правил, порядков) сертификации однородных групп продукции, сетей органов по сертификации, испытательных лабораторий (центров) и др.;

    • в соответствии с установленными Госстандартом России правилами ведения государственной регистрации при проведении работ по сертификации и аккредитации ведет реестр участников и объектов сертификации и представляет в Госстандарт России информацию в установленном порядке;

    • рассматривает апелляции по поводу действий органов по сертификации и испытательных лабораторий (центров), участвующих в системах (правилах, порядках);

    • формирует Совет по сертификации в области потенциально опасных промышленных производств, объектов и работ (далее Совет по сертификации), действующий при центральном органе по сертификации, утверждает его состав и организует его работу;

    • взаимодействует с заинтересованными органами надзора и контроля по вопросам разработки систем (правил, порядков) сертификации и аккредитации;

    • принимает участие в разрабатываемых совместно с Госстандартом России программах обучения, подготовки и аттестации экспертов;

    • взаимодействует с потребителями и другими организациями, получает от них информацию об обнаруженном несоответствии продукции сертифицированному образцу;

    • взаимодействует с техническими комитетами по стандартизации сертифицируемых видов продукции;

    • информирует общественность о правилах и процедурах сертификации, аккредитованных участниках систем (правил, порядков) и результатах сертификации.

    Функции органа по сертификации продукции (организации, аккредитованной Госстандартом России с участием Госгортехнадзора России в установленном порядке), испытательной лаборатории (центра), изготовителей (исполнителей) продукции при проведении сертификации соответствуют общепринятым в системе сертификации ГОСТ Р.

    Совет по сертификации формируется центральным органом по сертификации по каждому направлению техники на основе добровольного участия из представителей непосредственно центрального органа по сертификации, Госгортехнадзора России, Госстандарта России, министерств и ведомств, органов по сертификации, испытательных лабораторий (центров), изготовителей сертифицируемой продукции и других заинтересованных надзорных организаций, а также представителей общественных организаций.

    Совет по сертификации выполняет следующие основные функции:

    • разрабатывает предложения по формированию единой политики сертификации продукции для потенциально опасных промышленных производств, объектов и работ в системе Госгортех-надзора России;

    • подготавливает рекомендации по наиболее рациональным структуре и составу организуемых сетей участников сертификации, оптимизации организационно-методического и нормативно-технического обеспечения работ;

    • анализирует функционирование систем (правил, порядков), подготавливает рекомендации по их совершенствованию и содействует их реализации;

    • рассматривает проекты стандартов и другие нормативные документы, проекты программ работ по сертификации и аккредитации;

    • разрабатывает предложения по повышению эффективности работ в области сертификации курируемой продукции;

    • содействует распространению информации об общих направлениях деятельности участников систем (правил, порядков), их состоянии и развитии.

    Совет по сертификации не может вмешиваться в деятельность других участников, осуществляющих свою деятельность в соответствии с утвержденными и введенными в действие в установленном порядке системами (правилами, порядками) сертификации. Функции совета по сертификации устанавливаются соответствующим положением и утверждаются центральным органом по сертификации.

    Научно-методический сертификационный центр при центральном органе создается, как правило, на базе одного из органов по сертификации и осуществляет следующие основные функции:

    • проводит системные исследования и разрабатывает научно обоснованные предложения по составу и структуре объектов сертификации;

    • ведет и актуализирует фонд нормативно-технического обеспечения работ по сертификации поднадзорной продукции;

    • участвует в работе комиссий по аккредитации органов по сертификации, испытательных лабораторий (центров), аттестации экспертов;

    • проводит научные исследования и разрабатывает предложения по совершенствованию методики и практики работ по сертификации продукции, в том числе по совершенствованию правил и разработке на их основе, при необходимости, комплекса руководящих документов;

    • обобщает информацию участников работ и ведет реестр Госгортехнадзора России, подготавливает на ее основе необходимую информацию для Государственного реестра Госстандарта России;

    • принимает участие в разработке программ обучения, подготовке и аттестации экспертов;

    • анализирует и обобщает информацию по объектам сертификации и аккредитации и ведет автоматизированный банк данных, ориентированный на обеспечение регулирующих и управляющих функций;

    • разрабатывает методические рекомендации технико-экономического анализа и оценки эффективности проводимых работ по сертификации с учетом международного опыта;

    • подготавливает практические рекомендации для центрального органа по указанным выше направлениям.

    Функции научно-методического сертификационного центра устанавливаются соответствующим положением и утверждаются центральным органом по сертификации.

    Комиссия по апелляциям формируется центральным органом по сертификации для рассмотрения жалоб и решения спорных вопросов, возникших при проведении сертификации, из представителей непосредственно Центрального органа по сертификации, Госстандарта России, соответствующих министерств и ведомств, органов по сертификации, испытательных лабораторий (центров), изготовителей сертифицируемой продукции и заинтересованных надзорных органов, а также представителей общественных организаций. Комиссия в установленный конкретными системами (правилами, порядками) срок рассматривает апелляцию и извещает подателя апелляции о принятом решении.


    Структура организации работ по сертификации приведена на рис. 4.5.


    Рис. 4.5

    Обязательная сертификация проводится на соответствие требованиям безопасности для жизни, здоровья или имущества граждан и охраны окружающей среды, установленным в нормативных документах. Номенклатура конкретного оборудования и нормативные документы, на соответствие которым вводится сертификация, определяются по предложениям Госгортехнадзора России и при необходимости периодически уточняются. Госстандарт России доводит в установленном порядке утвержденные перечни до центрального органа по сертификации, органов по сертификации и испытательных лабораторий (центров), заинтересованных организаций и предприятий.

    Сертификацию оборудования осуществляют органы по сертификации. Аккредитацию органов по сертификации и испытательных лабораторий (центров) осуществляет Госстандарт России с участием Госгортехнадзора России в установленном порядке. Если по сертификации одной и той же продукции аккредитованы несколько органов по сертификации, то заявитель вправе провести сертификацию в любом из них. Сертификация по конкретным направлениям техники проводится по схемам, установленным в каждом конкретном случае системами (правилами, порядками) сертификации однородной продукции.

    Сертификация отечественной и импортируемой продукции проводится по одним и тем же правилам. Признание аккредитации зарубежных органов по сертификации и испытательных лабораторий (центров), а также сертификатов и знаков соответствия в Российской Федерации (соответственно отечественных за рубежом) осуществляется на основе многосторонних и двусторонних соглашений, участниками которых является Российская Федерация. Правила и процедуры уточняются в нормативных документах на группы однородной продукции.

    Сертификация систем качества осуществляется органом по сертификации систем качества на соответствие требованиям ГОСТ Р ИСО 9001, ГОСТ Р ИСО 9002, ГОСТ Р ИСО 9003;

    сертификация производства – органом по сертификации производства; проверка условий производства – органом по сертификации продукции по методикам, установленным в конкретных системах (правилах, порядках).

    Сертификация однородной продукции предусматривает:

    • подачу заявки на сертификацию;

    • принятие решения по заявке, в том числе выбор схемы;

    • отбор, идентификацию образцов и их испытания;

    • оценку производства (если это предусмотрено схемой сертификации);

    • анализ полученных результатов и принятие решения о возможности выдачи сертификата соответствия;

    • осуществление инспекционного контроля за сертифицированной продукцией (в соответствии со схемой сертификации);

    • информацию о результатах сертификации.

    На продукцию, для которой по результатам сертификации подтверждено соответствие требованиям нормативных документов, выдается сертификат соответствия. Эта продукция маркируется знаком соответствия. Знак соответствия наносят на продукцию (тару, упаковку) и сопроводительную техническую документацию, поступающую к потребителю при реализации.

    Инспекционный контроль за деятельностью аккредитованных органов по сертификации и испытательных лабораторий (центров) организует Госстандарт России совместно с Госгортехнад-зором России. Инспекционный контроль за сертифицированной продукцией (если он предусмотрен схемой сертификации) осуществляют органы, проводящие сертификацию этой продукции. Правила инспекционного контроля за конкретными видами сертифицированной продукции устанавливают в документах, определяющих правила аккредитации органов по сертификации и испытательных лабораторий (центров), и в системах (правилах, порядках) сертификации однородной продукции.

    При возникновении спорных вопросов в деятельности участников сертификации заинтересованная сторона может подать апелляцию в орган по сертификации, центральный орган по сертификации, Госстандарт России. Указанные органы рассматривают вопросы, связанные с деятельностью органов по сертификации, испытательных лабораторий (центров), экспертов и заявителей по вопросам сертификации, аккредитации, применения знаков соответствия, выдачи и отмены действия сертификатов и аттестатов аккредитации.

    Правила (порядки) сертификации однородной продукции создаются в целях их конкретизации применительно к совокупности видов продукции, обладающей определенной общностью признаков (например такой их совокупностью, как область применения, параметры назначения и конструкторско-техноло-гическое исполнение).

    Формирование правил (порядков) сертификации однородной продукции осуществляется с учетом:

    • аналогичных международных систем, правил, норм и т. п.;

    • общности технических принципов устройства (способов функционирования) продукции; назначения продукции и (или) требований к ней; методов испытаний; области распространения нормативных документов.

    В правилах (порядках) сертификации однородной продукции должны устанавливаться:

    • объекты сертификации;

    • цели и принципы сертификации;

    • состав и функции участников;

    • нормативные документы (требования), на соответствие которым проводится сертификация, проверяемые требования и используемые методы испытаний;

    • правила сертификации, принятые в данном конкретном случае;

    • правила отбора и идентификации образцов для испытаний;

    • схемы сертификации, учитывающие особенности производства, испытаний, поставки и применения;

    • порядок оценки производства (если это предусмотрено схемой сертификации);

    • правила нанесения знака соответствия;

    • порядок взаимодействия с Госстандартом России и другими взаимосвязанными государственными органами управления, проводящими работы по сертификации данных объектов;

    • условия и правила признания (использования) протоколов испытаний и сертификатов соответствия, выданных зарубежными организациями;

    • порядок проведения инспекционного контроля за соблюдением правил сертификации и за сертифицированной продукцией;

    • порядок рассмотрения апелляций;

    • финансирование работ по сертификации.

    Объекты сертификации, нормативные документы (требования и используемые методы испытаний), проверяемые характеристики (показатели) приводятся в правилах (порядках) в таблице в виде перечня с указанием соответствующих наименований.

    Расходы, в том числе в валюте, по проведению сертификации конкретной продукции несут заявители на сертификацию этой продукции, при этом условия оплаты работ устанавливаются договором между заявителем и органом по сертификации. Порядок оплаты работ по сертификации устанавливается соответствующим нормативным документом системы сертификации ГОСТ Р.

    На основе и в развитие правил разрабатываются нормативные документы по сертификации конкретных групп однородной продукции (например правила сертификации подъемных сооружений, система сертификации взрывозащищенного и рудничного электрооборудования, горношахтного оборудования, правила сертификации взрывчатых материалов промышленного назначения, объектов котлонадзора и др.) с учетом преемственности и во взаимосвязи с системой обеспечения промышленной безопасности, базирующейся на специальных разрешительных, надзорных и контрольных функциях Госгортехнадзора России.

    Контрольные вопросы

    1. Перечислите основные свойства сложных технических систем.

    2. Приведите примеры сложных технических систем.

    3. Поясните принципы сквозной сертификации.

    4. Какие виды сертификации применяются в авиационной промышленности?

    5. В чем состоит особенность сертификации импортируемых комплектующих изделий?

    6. Что такое двойная сертификация?

    7. Приведите примеры потенциально опасных промышленных производств, объектов и работ.

    8. Перечислите функции Госгортехнадзора.

    9. В чем состоит цель экспертизы материалов оборудования атомных станций?

    Библиографический список

    1. Национальная (федеральная) система сертификации ракетно-космической техники научного и народнохозяйственного назначения. Общесистемные нормативные документы. – Российское космическое агентство. – М., 1994.

    2. СоколовБ.Н., КнязевВ.Т., МуравскийИ.И. Качество и сертификация. Опыт авиационной промышленности. – М.: Изд. «Технический прогресс и повышение квалификации в авиационной промышленности», 1994.

    3. Директивное письмо № 10–94. «Допуск и установка на воздушное судно импортируемых комплектующих изделий».

    4. Козлов Ю.А., Везиров В.Н., Давыдов А.Н., Барабанов В.В., Конюхов А.Г. Система «Оборонсертифика» – предварительные итоги и перспективы // Сертификация, конверсия, рынок. – М., 1996. Специальный выпуск. С. 10–14.

    5. Качалов В.А., Горлов В.Н. Применение методов системного анализа при рассмотрении концептуальных вопросов создания системы сертификации продукции атомной промышленности и энергетики. Управление качеством и сертификация продукции в атомной промышленности и энергетике. – М., 1995. Вып. 2(7).

    6. Красных Б.А., Сахаров Г.К., Смирнов В.Н. Об общесистемных правилах и процедурах сертификации в области потенциально опасных промышленных производств, объектов и работ // Стандарты и качество. 1996. № 3. С. 56–60.

    7. Авиационные правила. Часть 25. Нормы летной годности самолетов транспортной категории. – М.: Межгосударственный авиационный комитет, 1994.









    Главная | Контакты | Нашёл ошибку | Прислать материал | Добавить в избранное

    Все материалы представлены для ознакомления и принадлежат их авторам.